ELKAY LK4420BF1UDB Outdoor Bottle Filler Retrofit Pedal

INSTALLATION INSTRUCTIONS
Shut off the water to the fountain. Press the push button(s) to relieve the remaining water pressure from the unit.
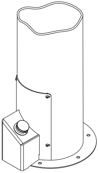
- Using the supplied T-27 torx head bit and a bit holder, remove all 8 screws securing the upper and lower access panels located on the side of the fountain. See Fig.7 and 5.
Note: Foot pedal will replace the lower access panel. - Through the lower access panel opening, locate the 3/8″ water inlet copper tube at the bottom of the fountain and cut it, leaving enough on both sides to insert the supplied 3/8″ Tee.
- Take one of the 3/8” Tees and insert the copper tube, in-line strainer and 6” of the ¼” poly tubing as shown. After assembled, attach the 3/8″ Tee to the 3/8″ water inlet copper tubing where it was cut in Step 3. See Fig.1 and 6.

- Take the ¼” poly tubing from the water line assembly and insert into the inlet side of the regulator on the foot pedal. See Fig.2 and 6.

- Take the remaining supplied 3/8” Tee and connect one end of the 3/8” poly tubing into it as shown. See Fig.3 and 8.

- Slide the black insulation onto the 3/8″ poly tubing and then cut off remaining insulation at the end of the tubing.
- Connect the 3/8″ poly tubing to the 3/8” x ¼” fitting. Cut another ¼” poly tubing to 6 inches and then insert into the open end of the fitting. See Fig.4 and 6.

- Looking into the fountain from the upper access panel, locate the 3/8″ water line leading from the bottle filler push button to the bottle filler; cut it, leaving the enough on both sides to insert the supplied 3/8″ Tee. See Fig.3, 7 and 8.
- Place the 3/8″ poly tubing inside the fountain body and arrange it to be accessible from the lower access opening. Take the ¼” poly tubing and insert it into the regulator. See Fig.6.

Panel(s) Installation - Turn on the main water supply. Check for leaks and ensure proper function of foot pedal and existing push button. If there are leaks, turn off the water supply and correct the water leaks as required.
- After ensuring that all connections are leak free, leave the main water supply on and install the upper access panel with its 4 screws. Use the T-27 torx headbit and a bit holder to tighten. See Fig.7.


- Secure the foot pedal body to the fountain body with the 4 screws provided.
Use the T-27 torx head bit holder to tighten. See Fig.5.
TOOLS REQUIRED (NOT PROVIDED)
- Gloves
- Safety Glasses
- Tubing Cutter
- Utility knife
- Bit holder
Parts List
| ITEM NO. | DESCRIPTION |
1 | Assy, 4481 FP Foot Activation |
2 | Washer-Spacer 2.00 O.D. |
3 | Nut-Hex 1-5/16″ |
4 | 1-1/8″-24 Retaining Nut |
5 | Regulator – High Flow Wras |
6 | Holder – Regulator |
7 | Sleeve – Push Button Guide |
8 | Button – Push w/o Hole |
9 | Tube-Poly 1/4″X.040 Wall |
10 | Strainer – In Line Wras |
11 | Tube – Cu 3/8″ X 4.75 (1-P117) |
12 | Fitting Tee – 3/8″ |
13 | Fitting – Union-3/8″ X 1/4 Union |
14 | Tube-Poly 3/8″X.062 Wall |
15 | Screw-Cap #6-32 |
16 | Insulator-Tube 3/8″-3/16 Bulk |
| ITEM NO. | PART NO. | DESCRIPTION |
| 17 | 1000006235 | 4481FP – Outdoor Fountain Foot Activation – Push Button Service Kit |
| 18 | 1000006234 | 4481FP – Outdoor Fountain Foot Activation – Regulator Service KIT |




























