STERLING 1485067-2 B 2-Handle Brass Tub Shower Valve Stem

Tools Requirement

Optional
- Mortar cement
- Shims
- Furring Strips
- Drop cloth
Record your model number below for future reference:
Observe all local building and plumbing codes.
INSTALLATION
Install on an adequately supported subfloor.
If the subfloor is not level and access to shim is difficult, install with a 1″ (25 mm) to 2″ (51 mm) bed of mortar cement.
- Construct a plumb stud pocket according to the roughing-in information on the back page.

- Install the rough plumbing.

- Install the drain to the bath. Position a protective liner in the bath basin.

- Staple the felt pad, if provided, to the subfloor so it will contact all the support feet.

- Without a pad, we recommend the basin area be set in 1″ (25 mm) to 2″ (51 mm) of mortar cement.

- Attach the apron brace, if provided. Lift and position the bath in the stud pocket.

- Attach metal support clips to the flange at the locations shown in the roughing-in information.

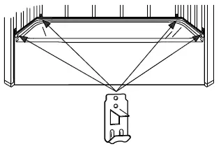
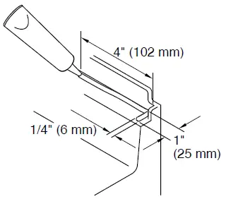
- Level the unit. Secure the metal support clips to the studs. Bend the tabs over the flange.

- Install plastic attachment clips at all remaining stud locations.

- With the unit level, shim under the support feet as needed.

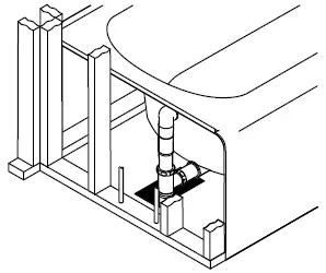
- Connect the bath drain to the drain pipe. Position a protective liner in the bath basin.

- Custom Walls: Install furring strips, wallboard, and the finished wall as shown.

- Sterling Wall Set: Install the back wall. Insert the tabs into the slots.

- Sterling Wall Set: Measure, mark, and drill the faucet holes in the end wall.

- Apply an L-shaped bead of silicone sealant at each outside corner.

- Install the end walls. Engage the pins in the slots.

- The front edges should be flush, with no more than a 1/32″ (1 mm) gap.

- Starting at the bottom, install screws through the dimples to secure the flanges to the studs.

- Secure the walls to the studs along the top. Use shims as needed.

- Cover the framing with water-resistant wallboard. Install the finished wall material.

- Install the faucet trim and accessories, and seal where they contact the wall panels.

- After painting, apply 100% silicone sealant where the unit contacts the finished wall.

Dimension
| A | B | C | D | E | F | G | |
| 71100110 71100120 | 17-1/4″ (438 mm) | 37-1/2″ (953 mm) | 73-1/4″ (1861 mm) | — | 8-3/4″ (222 mm) | 24-1/2″ (622 mm) | — |
| 71101110 71101120 | 17-1/4″ (438 mm) | 37-1/2″ (953 mm) | — | — | 8-3/4″ (222 mm) | 24-1/2″ (622 mm) | — |
| 71100112 71100122 | 17-1/4″ (438 mm) | 37-1/2″ (953 mm) | 75-1/2″ (1918 mm) | 3″ (76 mm) | 8-3/4″ (222 mm) | 24-1/2″ (622 mm) | 2″ (51 mm) |
| 71101112 71101122 | 17-1/4″ (438 mm) | 37-1/2″ (953 mm) | — | 3″ (76 mm) | 8-3/4″ (222 mm) | 24-1/2″ (622 mm) | 2″ (51 mm) |
| 71110110 71110120 | 20-1/4″ (514 mm) | 43-1/2″ (1105 mm) | 73-1/4″ (1861 mm) | — | 11-1/2″ (292 mm) | 27-1/2″ (699 mm) | — |
| 71111110 71111120 | 20-1/4″ (514 mm) | 43-1/2″ (1105 mm) | — | — | 11-1/2″ (292 mm) | 27-1/2″ (699 mm) | — |
| 71110112 71110122 | 20-1/4″ (514 mm) | 43-1/2″ (1105 mm) | 75-1/2″ (1918 mm) | 3″ (76 mm) | 11-1/2″ (292 mm) | 27-1/2″ (699 mm) | 2″ (51 mm) |
| 71111112 71111122 | 20-1/4″ (514 mm) | 43-1/2″ (1105 mm) | — | 3″ (76 mm) | 11-1/2″ (292 mm) | 27-1/2″ (699 mm) | 2″ (51 mm) |


Need help?
Contact the Customer Care Center.
USA/Canada: 1-800-STERLING (1-800-783-7546), Mexico: 001-877-680-1310
For service parts information
visit sterlingplumbing.com/parts.
For care and cleaning,
- visit sterlingplumbing.com/care-and-cleaning.
- Patents: kohlercompany.com/patents
This product is covered under the STERLING® Vikrell® or Acrylic Baths and Shower Bases Ten-Year Limited Warranty found at sterlingplumbing.com/warranty. For a hard copy of warranty terms, contact the Customer Care Center.
References
Kohler Co. Portfolio | Innovation and Design | Patents | Kohler | Kohler
Care and Cleaning | Kitchen | Bathroom | Sterling Plumbing
Parts | Sterling Plumbing
Warranty Information|Sterling Plumbing
Sterling Plumbing | Bathroom and Kitchen products, Shower Doors, Baths, Showers, Toilets, Bathroom Sinks, Kitchen Sinks






































