4688 Paddle Co Titan II Pump
User Guide
EXPLORE YOUR WORLD
Welcome to the world of Red. We believe that the thrill of adventure will never fade. That within us all. we have on intrinsic desire to immerse ourselves in the water and world around us.
Since 2008. we’ve had one simple mission: to Never Compromise on performance, safety or reliability.
Are you ready? It’s time to unpack. inflate and explore…
GET STARTED
For more hints and tips on how to get the most out of your new board.
Simply scan the OR code or visit: https://red.equipment/poses/welcome-to-red
REGISTER YOUR BOARD
Extend your board warranty from 2 to 5 years by registering online within 3 months of purchase. T&C apply
Simply scan the OR code or visit: https://red.equipment/pages/register-your-board
TAKING STEPS
TAKING STEPS TO BE MORE RESPONSIBLE
We never stop developing every area of our business to reduce our impact on the planet. Almost all of our packaging is 100% recyclable or biodegradable and uses minimal ink, glue and tape. Wherever possible. our products are designed for ongoing maintenance and made using 100% pure materials to be easily recycled at the end of their life. Our patented Compact boards were born from our mission to reduce a board’s carbon footprint. Even small parts removed from moulded parts are recycled and reused during production. We are always Taking Steps to be more responsible.
TITAN II PUMP

VALVE INFLATION
- REMOVE DUST CAP

- PIN UP TO INFLATE

- INFLATE

- PIN DOWN TO DEFLATE

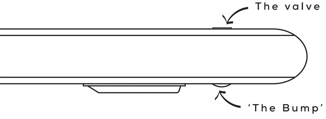
BOARD BUMP
The bump on the underside of the board is created when the valve is fitted. 
This bump is a normal feature.
RED PADDLE CO APPROVED
RSS
AT 1-2 PSI TURN THE BOARD ON ITS SIDE AND INSERT THE BATTEN INTO THE POCKET
ONLY ON CERTAIN MODELS
PRODUCT GUIDE
CARE GUIDE
Keep your board out of direct sunlight when not paddling. Store your board in a cool environment away from direct sunlight. Do not store in hot/humid environments. Wash with fresh water after use. Allow to dry before packing away.
APPEARANCE
All Red Paddle Co inflatable boards are hand built. Small differences between boards are normal and part of the custom build process. Creases may appear in the deckpad when packed. These are on every inflatable paddle board due to the nature of the EVA deckpad being rolled.
WARRANTY
All boards sold by Red Paddle Co or an authorised retailer are covered from defects in material or workmanship for a period of 2 years from the date of purchase for the original purchaser. This can be extended to 5 years if registered within 3 months from the date of purchase.
Excluded from this warranty is any damage caused by the following: Improper packing or storage. Abrasions or punctures. Exposure to excessive/ongoing UV/Heat. Solvents or adhesives. Any and all claims for consequential or incidental damages. General wear and tear or misuse. Full terms can be found online:
https://red.equipment/pages/red-paddle-co-warranty-guidelines




















