![]()
Quick Installation Guide
– All-In-One Energy Storage System
I Preparation Tools
![]() Bit ø10 Hammer drill | ![]() Rubber hammer | ![]() Claw safety hammer | ![]() Cross screwdriver | ![]() Slotted screwdriver |
![]() Spirit level\Marker | ![]() Tape ruler | ![]() Insulation tape | ![]() Dustproof cover |
Protective glasses |
![]() Euro terminal crimping tool | ![]() Wire stripper | ![]() Diagonal pliers | ![]() OT terminals press clamp | ![]() Crimping tool (RJ45) |
![]() Utility knife | ![]() Marker pen | ![]() Hydraulic tong | ![]() (Range ≥1100V DC) |
AC/DC clamp-on ammeter |
II Packing List
![]() Inverter *1 | ![]() Inverter Bracket *1 | ![]() Side Frames *2 | ![]() Battery Bracket *1 | ![]() Middle Cover & Bottom *1 |
![]() Connection Bracket *1 | ![]() Wi-Fi Dongle *1 | ![]() Grid Connector *1 | Multi COM connector *1 |
EPS Connector *1 |
Battery power Connectors *2 | Expansion Bolts *10 | Screws *16 | PE terminal *1 | BMS Connector *1 |
CT *1 | DRM Connector *1 | ![]() PV Connectors *2 or 4 | ![]() Documents |
Battery *1 |
Notice: > For all-in-one application, there are three packages(Inverter &Middle cover kit & Battery).
Please check and contact your distributor in case of any damaged or missing components.
> For all-in-one application, the battery can only be LIVOLTEK Li-ion battery.
> This file is for quick guidance installation only. For details, please refer to the User Manual.
III Installation instructions
(A) Installation Requirement

(B) Installation Procedure
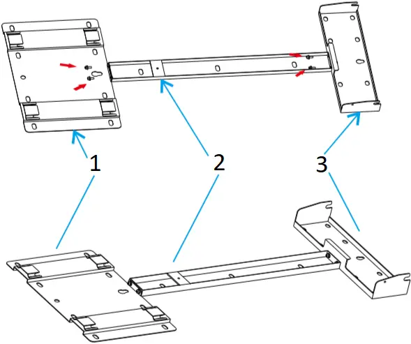
(1) Assemble the Brackets
Connect the three brackets with four screws.

- Battery bracket
- Connection bracket
- Inverter bracket
(2) Fix the brackets to the wall
Mark positions of brackets with a marker pen ,then drill holes with a driller.

Dimensions For Drilling Holes:

- The total number of screws is 10, and the diameter of the screw is 12/8 mm.
Make sure the drilling depth of holes is at least 70mm when you drill holes with the drill.
(3) Remove upper cover from the battery

(4) Mount the battery on the bracket

(5) Mount the bottom of Middle cover kit

Note:
Secure the bottom of the middle cover kit to the connection bracket and the battery with 5 screws.
(6) Mounting the Inverter

Note:
Secure the inverter to the bracket with 1 screw.
(7) Install side frames on both sides and buckle the Middle Cover

Buckle the middle-cover to the all-in-one system after all electrical connection and settings are done.
DO NOT forget to ground the Inverter and Battery.
Ensure to read and follow the safety instructions in the user manual.
IV Wiring Diagram
(A) Electrical Connection Overview
(1) DC SPD: 650V
(2) DC fuse: 30A
(3) DC isolator: 20A
Notice:
This diagram indicates the wiring structure instead of the electric wiring standard of hybrid inverter.
- For batteries with attached breaker, the external DC breaker could be omitted.
- The recommended values in the table are for reference only.
- The actual values must comply with local standard and actual conditions.
- Only for lithium battery which has BMS communication.
- Direction of the CT cannot be connected in reverse, please follow “→Inverter” direction to do the connection
(4) AC breaker for grid : 63A AC breaker;
(5) AC breaker for inverter : 32A AC breaker;
(6) AC breaker for load : 32A AC breaker;

- PE panels
PV1 + PV2 max 7.5kw - DC BOX
- Hybrid inverter
- It can be extended up to 50 meters
- Arrow point to the inverter
- ESKOM
- AC BOX
- On Grid Home Load
- Back Up Load
- Resister
- Battery
(B) System Connection Diagram (Applies to most countries)

- PV String
- Battery
a) If the battery is integrated with a readily accessible internal DC breaker, no additional DC breaker is required. - Meter/CT
- GRID
- Hybrid Inverter
- BAT
- BMS
- BACK-UP
- Distribution Box
- RS485
- Smart Meter
- RCD
- PE BAR
- Utility Grid
- On-Grid Loads
- Back-up Loads
Notice:
- N and PE wiring via ON-GRID and BACK-UP ports of the inverter are different based on the regulation requirements of different regions.
- Refer to the specific requirements of local regulations.
- Ensure that the grounding of BACK-UP is correctly and tightened. Otherwise, the BACK-UP function may be abnormal in case of grid failure.
V PE Cable Connection
(A) Please prepare the cable before connecting as follows.
No. | Cable | Cross Section | Cable diameter (mm) |
| 1 | PV cables | 4mm ² – 6mm² | 12~10 AWG |
2 | AC cables | 4mm ² – 6mm² | 12~10 AWG |
| 3 | Battery power cables | 25mm ² | 4 AWG |
4 | PE cable | 4mm ² – 6mm² | 10 AWG |
Notice:
- Do not work with power on. All operations, cables and parts specification during the electrical connection shall be in compliance with local laws and regulations.
- Disconnect the DC switch of the inverter to power o ff the inverter before any electrical connections.
(B) Unacceptable Installations

a) Grid
b) PV array
c) Battery
d) EPS Port
e) Generator
f) Incompatible Battery
Notice:
- Please avoid the following installations which will damage the system or the Inverter.
- Any damage caused will not be covered by the warranty policy.
(1) Multi inverters cannot be connected in parallel.
(2) Single PV string cannot be connected to multiple inverters.
(3) One battery bank cannot be connected to multiple inverters.
(4) The EPS (backup) side cannot be connected to the grid.
(5) The inverter cannot be connected to any AC generator directly.
(6) The inverter cannot be connected to any incompatible batteries.
(C) External Grounding (PE Cable) Connection

Notice
- Ensure that the PE cable is securely connected.
Otherwise, electric shocks may occur. - Do not connect the neutral wire to the enclosure as a PE cable.
Otherwise, electric shocks may occur.
VI PV Cable Connection
Step 1 Remove an appropriate length of the insulation layer from the PV Strings power cables.
Step 2 Connect the red wire to the positive metal terminal, and the black to the negative and crimp them using a crimping tool.
Step 3 Insert the crimped positive and negative power cables into the corresponding connectors until a “click” sound is heard.
Step 4 Tighten the locking nuts on the positive and negative connectors.
Step 5 Measure the voltage of every route Strings using a multimeter. Ensure that the polarities of the DC input power cables are correct.
Step 6 Insert the positive and negative connectors into their corresponding terminals of the inverter until a click sound is heard.

a) Positive metal terminals
b) Negative metal terminals
VII AC GRID Connection
Step 1 Take out the AC terminal from the package box and uninstall it as below chart.
Step 2 Put the AC cables through the terminal cap, threaded sleeve in sequence.
Step 3 Remove the cable jackets and strip the wire insulation then insert cables into connection terminals according to polarities indicates on it and tighten the screws.
Step 4 Push threaded sleeve onto the connection terminal until both are locked tightly. Then screw up the terminal cap.
Step 5 Unscrew the cap on the Grid port. Then insert the Grid connector into the Grid port on the bottom of the inverter.

VIII Emergency Load Connection (Backup)
Step 1 Take out the EPS terminal from the package box and unscrew it as below chart.
Step 2 Thread the AC cable of appropriate length through the terminal cap, the sealing ring and the housing.
Step 3 Remove the cable jackets and strip the wire insulation then insert cables into connection terminals according to polarities indicates on it and tighten the screws.
Step 4 Push threaded sleeve onto the connection terminal until both are locked tightly. Then screw up the terminal cap.
Step 5 Insert the EPS connector into the EPS port on the bottom of the inverter. Connect the other ends to the backup loads.

IX COM(Meter/CT) Connection
A: Smart Meter (optional)+ CT Connection

- RS485
- Smart Meter
- Grid
- Arrow point to inverter
- Load

- From Grid
- To Inverter/Load

Smart Meter Pin Define
PIN | 1 | 2 |
| Definition | 485B | 485A |
B: CT Connection
CT cable is 5m as default,
could be extended to max 100m,
and must use communication cable (CAT 5 or CAT 5E).

a) conductor
b) Public grid side
c) Inverter side
d) Arrow point to inverter
CT Cable Pin Definition
PIN | 3 | 4 |
| Definition | CT+(Red) | CT-(White) |
X Battery Connection

LIVOLTEK Li-ion battery
- Communication connection
- Power connection
A: Battery power cables connection
Skip this step if you are using LIVOLTEK Li-ion batteries.
The power cables is prepared in battery accessory box.

Step1 (Optional) Assemble the battery cable Connectors.
Step2 Insert battery connectors to BAT port on the inverter.
Step3 Connect the other side of Battery cables to the Battery.

B: BMS cable connection

1.BMS_CAN_H
2.BMS_CAN_H
3.NULL
4.GND
5.NULL
6.NULL
7.NULL
8.NULL

a) For Li-ion battery communication via CAN protocol.
Step1 Assemble the BMS cable Connector
Step2 Connect the BMS cable to the inverter
Step3 Insert other side of BMS cable into COM port on the battery.
Make sure the Li-Ion battery BMS port connects to the inverter is Pin to Pin.
XI Wi-Fi Dongle Connection
Wi-Fi Dongle (Wi-Fi & Bluetooth 2in1 function) establish communication connection to the LIVOLTEK portal server through wireless network to provide local or remote monitoring, data logging and maintenance on the inverter.

- WiFi< 10m
- Bluetooth< 5m
Wi-Fi Dongle Connection Steps:
Step 1 Remove the waterproof lid from the Wi-Fi/4G terminal.
Step 2 Insert the Wi-Fi Dongle into the communication port.
Step 3 Build the connection between the Wi-Fi dongle and home WiFi router by our livoltek App local mode.
Refer the App guide manual delivered with the product or find it at our App homepage ‘guide’ (please install ‘My Livoltek’ APP on your phone firstly)
‘My Livoltek’ is a platform to communicate with your device via WiFi or bluetooth, you can login on our web(link as below) on your computer, also you can scan the QR code to download the APP on your phone.
APP: Search for My Livoltek on Apple App Store, Google Play.
WEB LINK1 : https://www.livoltek-portal.com/ For Asia, Latin American, Australia and others
WEB LINK2 : https://evs.livoltek-portal.com/ For Europe, Middle East Regions, Africa
My Livoltek Download
XII Power ON/OFF the Inverter
(A) Inspection before Commissioning
| No. | Content | State | |
| 1 | All the switches connected to the inverter are set to the OFF position. | Yes | No |
| 2 | The inverter is installed correctly and securely. | ||
| 3 | All cables are connected correctly and securely. | ||
| 4 | Unused cable holes are fitted using the waterproof nuts. | ||
| 5 | The Wi-Fi Dongle is installed correctly and securely. | ||
| 6 | The electrical conduit holes are sealed. | ||
| 7 | The CT or smart meter is connected. | ||
| 8 | The battery is well connected. | ||
(B) Powering on the System
Step 1
Turn on the AC breaker on the ON-GRID side.
⇓
Step 2
Turn on the battery breaker and Battery.
⇓
Step 3
Rotate the DC switch of the inverter to ON position.
⇓
Step 4
Turn on the AC breaker on the BACK-UP side.
⇓
Step 5
Wi-Fi Dongle connection.
⇓
Step 6
Observe the LED indicator.
Note: The shutdown steps are opposite to the above order.
(C) LED Display

- PV
- System
- Grid
- Load
- Fault
- Battery
Color | Status | Description |
| Green | On | The inverter is running normally |
Off | Other statuses except Running | |
| Red | On | Fault occurs |
Off | No fault occurs | |
| Green/Red | Blink | System startup or updating |
| Before maintaining and commissioning inverter and its peripheral distribution unit switch off all the charged terminals of the inverter, and wait at least 10 minutes after the inverter is powered off. |
















































