ENTRO LEVERSET & LATCH PREPARATION TEMPLATE Installation Guide
Dimensions

Installation Instructions
- Fold template on door edge with centre line at desired height (approx 1000mm from floor). Mark holes ready for drilling.

- Drill 2mm pilot holes for the furniture from both side of the doors.

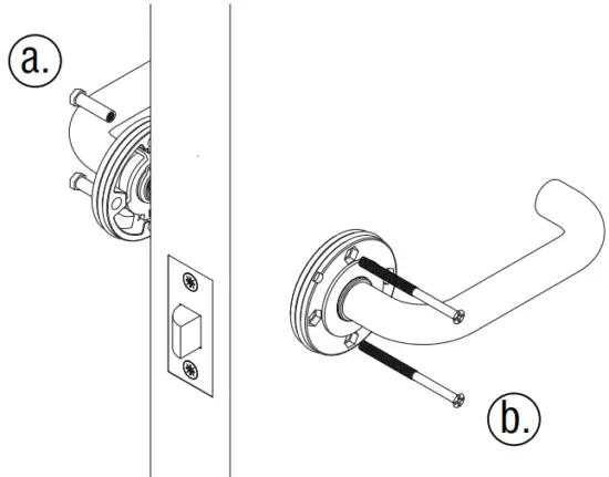
- Drill 25mm latch hole (a.) to 80mm depth. Drill 25mm & 5mm furniture holes (b.) from both sides of the door. Additional 8mm hole (c.) when installing privacy latch (B0400).

B0400 PRIVACY SET ONLY - If handing is required for the privacy latch (e.g open out doors), pull latch & rotate.

- Insert latch into 25mm hole & mark around latch plate. Chisel out recess and ensure faceplate is flush with the door face.

- Drill 2x 2mm pilot holes and affix with screws provided.

- Insert spindle (a.) through tubular latch with ends evenly spaced on both sides of the door. Insert spindle springs (b.) into each lever.
B0400 Privacy Set Only: Use split spindle supplied in B0400 set. Ensure split spindle is released by 1/2 turn before installing.
- Remove lever rose covers ready for installation. Vertically insert 2x fixing cap nuts (a.) into external side lever. Compress both levers against the door evenly engaging the spindle. Insert fixing screws (b.) through the internal side lever. Lightly fasten fixing screws and check levers are horizontal and in line with the latch before firmly tightening.

- Pass the lever rose covers (a.) over the levers and push to secure. For square rose covers ensure the small internal protrusion lines up with the notch (b.) in the rose plate.

B0400 PRIVACY SET ONLY - On the external side of door align the emergency access hole (a.) over the rose cover and furniture.

B0400 PRIVACY SET ONLY - On the internal side of the door, fix the the privacy pin (a.) through the rose cover hole ensuring it engages with the privacy tubular latch. Test the privacy latch by depressing the privacy pin and test the external lever is locked. Test the privacy pin releases when rotating the internal lever.

- For Mortice Lock installation, refer to A0100SSSM instructions and door template.

- Insert 2x mortice lock spindles (a.) through the large hole on each side of the door. Insert spindle springs (b.) into each lever.

- Remove lever rose covers ready for installation. Horizontally insert the fixing cap nuts (a.) into the external lever. Compress the levers against the door evenly, ensuring the spindles engage both levers. Insert only 1x fixing screw (b.) through the internal leverset and lightly fasten to the external fixing cap nut. Rotate the lever to provide access for the 2nd fixing screw. Insert the 2nd fixing screw (c.) through the internal lever and lightly fasten fixing screw. Check levers are both horizontal before firmly tightening fixing screws.

- Pass the lever rose covers (b.) over the levers and push to secure. For square rose covers ensure the small internal protrusion lines up with the notch (b.) in the rose plate.

![]()


































