12400 Earl Jones Way Louisville, KY 40299
rev-a-shelf.com
Customer Service: 800-626-1126
INSTALLATION INSTRUCTIONS
CPDR SERIES PULL-DOWN CLOSET ROD
TOOLS REQUIRED:



ESTIMATED ASSEMBLY TIME:
20 MIN
CARE AND MAINTENANCE:
Clean with a damp cloth and wipe parts dry.
WATCH TUTORIALS OF OUR PRODUCTS BEING INSTALLED

PARTS LIST

| No. | Description | Qty. |
| A | Flat Head Wood Screws | 24 |
| B | M3.5 Screws | 2 |
| C | Allen Wrench | 1 |
| D | 1 Guide Block w/ Dowels | 1 |
| E | Pull-down Arm Assembly | 2 |
| F | Telescoping Handle | 1 |
| G | M8 Hex Bolts | 2 |
| H | O-Rings | 5 |
| I | Bumper (12” Depth Only) | 2 |
| J | Telescoping Hanging Rod | 1 |
| K | Plastic Endcap Brackets | 2 |
| L | Plastic Handle Endcap | 1 |
| M | PDCR Arm Stop Bracket Bumpers | 2 |
| N | PDCR Arm Stop Brackets (Left & Right) | 2 |
| O | 8-32×50 Phillips Head Screws | 2 |
| P | 8-32 Nylock Insert Lock Nuts | 2 |
INSTALLATION INSTRUCTIONS: CPDR SERIES PULL-DOWN CLOSET ROD
I-CPDR-1221
STEP 1
Measure at least 34-3/4″ (882.7mm) from the top of your closet panel. By using the guide block and dowels, this will provide a platform to ensure both arms are even on both sides (See Fig. 1).

FIGURE 1

STEP 2
If you are installing into a 12″ or 14″ depth closet you will install the pulldown arm assembly to the front edge of the closet panel as shown. (See Fig. 2A)
For all other closet depths (16″ and 20″) you will install at least 14″ from the rear of the closet. (See Fig. 2B)

FIGURE 2A FIGURE 2B


STEP 3
Using the provided flat head wood screws, install all of them except the last three front screws (See Fig. 3).

FIGURE 3

STEP 4
Place the bumper on the arm stop bracket (See Fig. 4).
Note: This unit comes with two standard bumpers that are not used in this installation.
FIGURE 4

STEP 5
Place (1) of the provided 8-32X50 Phillips Head screws into the opening (See Fig. 5).
FIGURE 5

STEP 6
From the bottom of the screw, attach (1) of the 8-32 nuts to secure the screw and the bumper to the arm stop bracket (See Fig. 6).
FIGURE 6

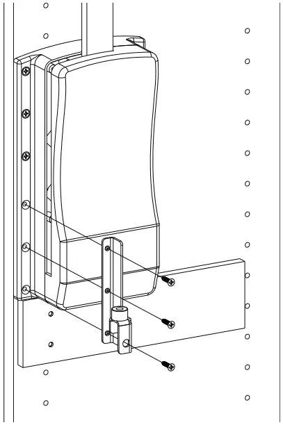
STEP 7
Affix the arm stop bracket using the provided screws (See Fig. 7).
Note: There is a left and right arm stop bracket.
Remove guide block and repeat steps 1-7 to install the other arm.

FIGURE 7

STEP 8
Attach the telescoping handle to the hanging rod and the plastic handle endcap to the telescoping handle using M3.5 screws (See Fig. 8).

FIGURE 8

STEP 9
Pull down the left and right arms to attach the hanging rod assembly to the pull-down unit. Using the (2) provided M8 hex bolts and allen wrench, attach the plastic endcap to the end of each arm (See Fig. 9A).
Note: The telescoping hanging rod can be extended by twisting to unlock and twisting back to lock into place (See Fig. 9B).
FIGURE 9A

FIGURE 9B

STEP 10
For 12″ depth closet systems, it is recommended but not necessary to install the (2) provided bumpers (See Fig. 10).
FIGURE 10

Customer Service: 800-626-1126 | rev-a-shelf.com

















