67701 Brandon Hanging Shelf
Instruction Manual
Let’s build the
Brandon Hanging Shelf
SKU 67701
Ok, let’s get rolling
This should be easy, just follow our instructions and you will be back to Netflix in no time.
Estimated time for assembly
What you need
- Some of your favourite bubbly or your preferred relaxant
- Use the packaging carton as a working surface to prevent product damage during assembly
- Phillips head screwdriver
- Drill with 1/4” drill bit (for non-drywall)
- Drill with 5/16” drill bit (for drywall)
Weight Limitation
Toll-free at 1-866-619-1004
[email protected]
Nathanjames.com/help
What’s included
| Description | Qty |
| A Shelf | 2 |
| B Strap | 4 |
| 1 Decorative Hardware Nut | 4 |
| 2 Decorative Hardware Cap | 4 |
| 3 Non-drywall Anchor | 4 |
| 4 Drywall Anchor | 4 |
| 5 M4.2*32 mm Screw for Non-drywall Anchor | 4 |
| 6 M4.2*50 mm Screw for Drywall Anchor | 4 |
Scan me!
https://qrcodes.pro/uSsLBm
Inspiration
Digital Instructions
Free Lifetime Warranty
The goods
IMPORTANT
- Do not tighten bolts / screws completely until all bolts / screws are lined up and inserted into holes.
- Do not over tighten screws and bolts to avoid stripping.
- Please use hand tools to assemble this product. Do not use power tools.
Step 1
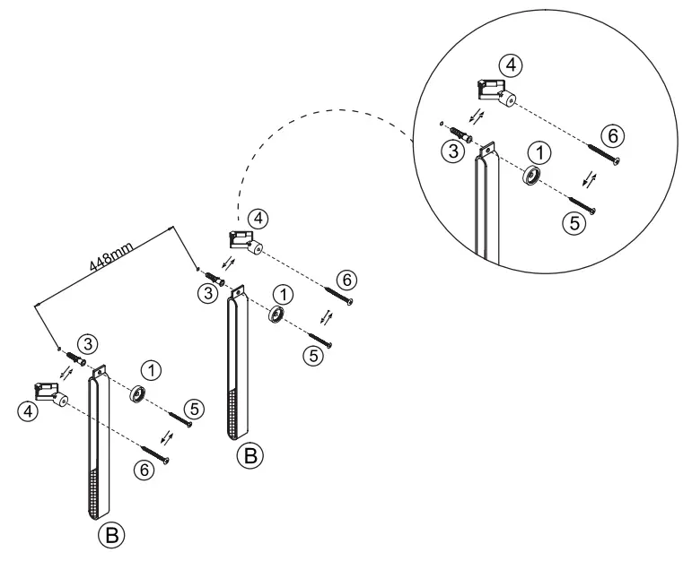
Let’s get this thing fired up! The first step is attach the Straps (B) to the wall using screws and anchors. See the following pages for detailed instructions on how to do this.
Please note…
Parts 3 & 5 are for non-drywall applications. Parts 4 & 6 are for drywall applications.
See following pages for more detailed instructions.
Non-drywall application
Mark it
Chose your desired location on the wall then use a pencil to mark where the anchors will go.
1/4” Drill bit
Following the marks you just made, with a 1/4” drill bit, drill 2 holes into the wall.
Insert the anchors
Go ahead and tap the wall anchors into place in the new holes that you just drilled.
If you’re feeling strong, just go ahead and push it in.
Don’t forget Part 1
When inserting your screw into the wall anchor, do not forget to use Part 1 between the screw and the strap as this will help disguise the hardware when installation is complete.
Drywall application
Mark it
Chose your desired location on the wall then use a pencil to mark where the anchors will go.
5/16” Drill bit
Following the marks you just made, with a 5/16” drill bit, drill 2 holes into the wall.
Insert the anchors
Go ahead and tap the wall anchors into place in the new holes that you just drilled.
If you’re feeling strong, just go ahead and push it in.
Don’t forget Part 1
When inserting your screw into the wall anchor, do not forget to use Part 1 between the screw and the strap as this will help disguise the hardware when installation is complete.
How to use drywall anchors
Step 2
Slide the Shelf (A) into the Straps (B) and rotate to flat position. Be sure to center the shelf and align to marks on bottom of shelf for stability.
Step 3
Twist on the Decorative Hardware Caps (2) to hide those screws.
Repeat this process again for the second shelf. And that’s it! We can’t wait to see all the great new shelfies you’re gonna take once these are decorated!
No heartburn, when we handle the return
Give us a call 1-866-619-1004 or shoot us a message at [email protected] we will issue you a free replacement with zero hassle.
Our way
| Give us a call | |
| Replacement | |
| You |
Their way
| Re-package item | |
| Schedule pick up | |
| Track package | |
| Replacement | |
| You |
We really don’t want you to go through the hassle of re-packaging your item and sending it back, because let’s be honest…nobody has time for that.
Safety first, fun later
We want your Brandon Hanging Shelf to last as long as possible, so we recommend that you tighten the screws 2 weeks after assembly and for added safety check the tightness of all screws every 2 months.
For proper care and treatment of fabric & metal please check our website at NathanJames.com/products
Safe use of this product starts with you.
Use this shelf responsibly with the primary concern for your safety. Follow assembly instructions carefully and inspect product upon receipt and each use.
Nathan James and its parent companies cannot be held legally responsible for any injuries or death resulted from failure to follow instructions or improper use of this product.
Do not modify the structure of this product in any way.
Our products have been tested to meet specific safety measures as they were originally intended to be sold. Any modifications will present the risk of creating significant safety issues which NJ will not be responsible for.
Proper use
| DO NOT | use for commercial purposes |
| DO NOT | use as a step-stool or stand on shelf |
| DO NOT | put hot serving liquid directly on shelf |
| DO NOT | leave spilled liquid on shelf |
| DO NOT | use if shelf is damaged or broken |
| DO NOT | make temporary repairs |
| DO NOT | use outdoors |
We are only in business if you’re happy
For starters, thanks for being you.
Toll-free at 1-866-619-1004
[email protected]
NathanJames.com/help
We do our best to ensure your furniture arrives without any problems, but occasionally mistakes happen—as humans we are imperfect beings. In the event that a part is damaged or missing, we will be more than happy to provide you with replacement part(s) for free.
Warranty
This product comes with a lifetime warranty from the date of purchase. Please use your phone to scan the QR code to register your product or visit https://goo.gl/i9dk3q
Did we do alright? Please spread the love!
https://qrcodes.pro/uSsLBm
If you are happy with your product, tell your friends and family about us or even better leave us a review online. Spreading the word gives us the opportunity to make more people happy and keep our prices low for your next purchase.
Brooklyn Burdon
Founder, Nathan James
















