ENHET



8x
8x
1

2


3


4

5

6

7

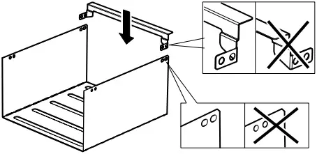
![]()

8

9

10

11

12

13

14

© Inter IKEA Systems B.V. 2022 2022-04-26 AA-2346949-1



8x
8x
1

2


3


4

5

6

7

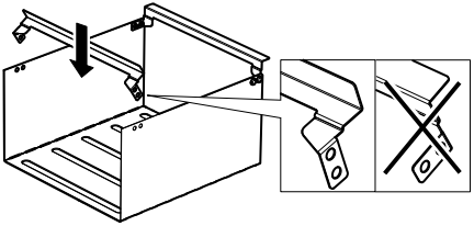
![]()

8

9

10

11

12

13

14

© Inter IKEA Systems B.V. 2022 2022-04-26 AA-2346949-1
Download manual
Here you can download full pdf version of manual, it may contain additional safety instructions, warranty information, FCC rules, etc.