alula CAM-DB-JS1 Video Doorbell Camera
What’s in the box

Hardware overview

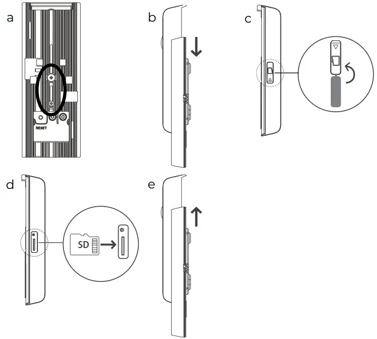
Installing the MicroSD card

- Remove screws and rubber cover from the back of the metal housing
- Slide the metal housing down to separate the camera from the back cover
- Remove the rubber cover of the MicroSD slot on the left side of the camera
- Insert the MicroSD card and put back the rubber cover
- Slide the metal bracket back to its original position.
Camera installation
Whether you have a standard or a digital doorbell, the setup process is the same.
- Turn off power to the doorbell
- Remove the existing doorbell button and disconnect the two wires
- Attach the wires to the terminals on the back of the Video Doorbell
- Install the Digital Adapter to the door chime as shown below
- Proceed to the next step below

Note: It does not matter which wire connects to which terminal of the doorbell. It also does not matter which Digital Adapter wires are connected to the Front or Trans terminals. If you have a digital door chime and your doorbell button has an additional diode connected to it, do not use it on the new Video Doorbell.
Mounting the doorbell
Note
- Do not mount the video doorbell until you have completed the in-app, connection and have the wiring completed.
- It is best to test the camera’s functionality with the app prior to mounting.
- Ensure the installation location is free from moisture and wires are not exposed.
- Install the bracket where the previous doorbell was using the template, 2 small screws, and if necessary, the anchors.
- Make sure the wires are fed through the appropriate square opening in the bracket. Line up the video doorbell on the bracket and slide down until secure.
- When installed, turn the power back on. Wait until the LED ring repeatedly flashes 3 times (approx. 90 seconds for the unit to reboot)
angle bracket

flat mount

Camera configuration
- Open the Alula Security app
- In the app, browse to Cameras, then tap the + icon on the top right of the screen
- Scan the QR code on the front of this manual and follow your device’son screen prompts.
Don’t have the app?
Scan the QR code for your device’s app store here
- Apple iOS
- Android
Dismounting flat mount
- Using a flathead screwdriver, push the clip towards the wall, away from the doorbell assembly
- Lift doorbell assembly upward

TRADEMARKS
- Alula is a trademark owned by Alula Holdings, LLC. Wi-Fi is a trademark of The Wi-Fi Alliance.
- Android is a trademark of Google LLC. IOS is a trademark of Cisco in the U.S. and other countries and is used under license by Apple Inc.
FCC STATEMENT
Any Changes or modifications not expressly approved by the party responsible for compliance could void the user’s authority to operate the equipment.
This equipment has been tested and found to comply with the limits for a Class B digital device, pursuant to part 15 of the FCC Rules. These limits are designed to provide reasonable protection against harmful interference in a residential installation. This equipment generates, uses, and can radiate radio frequency energy and, if not installed and used in accordance with the instructions, may cause harmful interference to radio communications. However, there is no guarantee that interference will not occur in a particular installation. If this equipment does cause harmful interference to radio or television reception, which can be determined by turning the equipment off and on, the user is encouraged to try to correct the interference by one or more of the following measures:
- Reorient or relocate the receiving antenna.
- Increase the separation between the equipment and receiver.
- Connect the equipment into an outlet on a circuit different from that to which the receiver is connected.
- Consult the dealer or an experienced radio/TV technician for help.
This device complies with Part 15 of the FCC rules. Operation is subject to the following two conditions:
- This device may not cause harmful interference.
- This device must accept any interference that may be received, including interference that may cause undesired operation.
Caution: any changes or modifications to this device not explicitly approved by the manufacturer could void the user’s authority to operate this equipment.
This equipment complies with FCC radiation exposure limits set forth for an uncontrolled environment. This equipment should be installed and operated with a minimum distance 20cm between the radiator & your body.
CE
Products with CE Marking comply with the EMC Directive (2014/30/EU); Low Voltage Directive (2014/35/EU); RED (2014/53/EU); ROHS Directive (2011/65/EU) issued by the Commission of the European Community. Compliance with these directives implies conformity to the following European Norms:
- EMC: EN 301 489
- LVD: EN 62368-1
- Radio: EN 300 328
If the camera system no longer functions or can no longer be repaired, it must be disposed of according to valid statutory regulations. Disposal of spent batteries/accumulators:
You are required by law (Battery Ordinance) to return all spent batteries and accumulators. Disposing of spent batteries/accumulators with common household waste is prohibited! Batteries/accumulators that contain hazardous substances are marked with symbols on the side. These symbols indicate that it is prohibited to dispose of these batteries/accumulators in the household waste. The abbreviations for the respective heavy metals are Cd=cadmium, Hg=mercury, and Pb=lead. You can return spent batteries and accumulators that can no longer be charged to the designated collection points in your community, outlets, or wherever batteries or accumulators are sold. Following these instructions will allow you to fulfill the legal requirements and contribute to the protection of our environment!
Canada Statement
This device contains license-exempt transmitter(s)/receiver(s) that comply with Innovation, Science and Economic Development Canada’s license-exempt RSS(s). Operation is subject to the following two conditions:
- This device may not cause interference.
- This device must accept any interference, including interference that may cause undesired operation of the device.
The device meets the exemption from the routine evaluation limits in section 2.5 of RSS 102 and compliance with RSS-102 RF exposure, users can obtain Canadian information on RF exposure and compliance. This transmitter must not be co-located or operating in conjunction with any other antenna or transmitter. This equipment should be installed and operated with a minimum distance of 20 centimeters between the radiator and your body.





















