
USE AND CARE GUIDE
4FT SHOP LIGHT WITH MOTION AND REMOTE
Model: SHOP/4/840/MM
READ BEFORE INSTALLATION
SAVE THESE INSTRUCTIONS
Questions, problems, missing parts?
Before returning to the store, visitfeit.com/help for further assistance.
![]()
4ft Shop Light With Motion and Remote
THANK YOU
We appreciate the trust and confidence you have placed in Feel Electric through the purchase of this product.
We strive to continually create quality products designed to enhance your home. Visit us online to see our full line of products available for your home improvement needs. Thank you for choosing Feit Electric!
Safety Information
For your safety, always remember to:
- Turn off the power supply at the fuse or circuit breaker box before you install the fixture.
- Double-check all connections to be sure they are tight and correct.
- Wear rubber-soled shoes and work on a sturdy wooden ladder.
- Account for small parts and destroy packing material, as these may be hazardous to children.
NOTE: This fixture is designed for use in a circuit protected by a fuse or circuit breaker. It is also designed to be installed in accordance with local electrical codes. If you are unsure about your wiring, consult a qualified electrician or local electrical inspector, and check your local electrical code.
WARNING: Changes or modifications to this unit not expressly approved by the party responsible for compliance could void the user’s authority to operate the equipment.
WARNING: RISK OF SHOCK. House electric current can cause painful shock or serious injury unless handled properly.
CAUTION: Turn off the main power at the circuit breaker before installing the fixture, in order to prevent possible shock.
NOTICE: All connections must be in accordance with local electrical standards and the National Electrical Code (N.E.C.) or Canadian Electrical Code (C.E.C) as appropriate.
Remove the fixture and the mounting package from the box and make sure that no parts are missing by referencing the illustrations on the installation instructions.
IMPORTANT: THIS FIXTURE IS INTENDED TO BE ONLY INSTALLED DIRECTLY BENEATH A CEILING-MOUNTED RECEPTACLE.
IMPORTANT SAFETY INSTRUCTIONS – This portable light-emitting-diode (LED) luminaire has a polarized plug (one blade is wider than the other) as a feature to reduce the risk of electric shock. This plug will fit in a polarized outlet only one way. If the plug does not fit squarely in the outlet, reverse the plug. If it still does not fit, contact a certified electrician. Never use an extension cord unless the plug can be fully inserted. Do not alter the plug.
Supplier’s Declaration of Conformity: 47 CFR § 2.1077 Compliance Information
Responsible Party: Feit Electric Company 4901 Gregg Road, Pico Rivera, CA 90660, USA 562-463-2852
Unique Identifier: SHOP/4/840/MM
FCC STATEMENT: This device complies with part 15 of the FCC Rules. Operation is subject to the following two conditions: (1) This device may not cause harmful interference, and (2) this device must accept any interference received, including interference that may cause undesired operation.
Note: This equipment has been tested and found to comply with the limits for a Class B digital device, pursuant to part 15 of the FCC Rules. These limits are designed to provide reasonable protection against harmful interference in a residential installation. This equipment generates, uses, and can radiate radio frequency energy and, if not installed and used in accordance with the instructions, may cause harmful interference to radio communications. However, there is no guarantee that interference will not occur in a particular installation. If this equipment does cause harmful interference to radio or television reception, which can be determined by turning the equipment off and on, the user is encouraged to try to correct the interference by one or more of the following measures: Reorient or relocate the receiving antenna. Increase the separation between the equipment and receiver. Connect the equipment into an outlet on a circuit different from that to which the receiver is connected. Consult the dealer or an experienced radio/TV technician for help. Any changes or modifications not expressly approved by the manufacturer could void the user’s authority to operate the equipment.
LIMITED WARRANTY
This product is warrantied to be free from defects in workmanship and materials for up to 5 years from the date of purchase. If the product fails within the warranty period, please contact Feit Electric at [email protected], visit feit.com/contact-us or call 1-866-326-BULB (2852) for instructions on replacement or refund. REPLACEMENT OR REFUND IS OUR SOLE REMEDY. EXCEPT TO THE EXTENT PROHIBITED BY APPLICABLE LAW, ANY IMPLIED WARRANTIES ARE LIMITED IN DURATION TO THE DURATION OF THIS WARRANTY. LIABILITY FOR INCIDENTAL OR CONSEQUENTIAL DAMAGES IS HEREBY EXPRESSLY EXCLUDED. Some states and provinces do not allow the exclusion of incidental or consequential damages, so the above limitation or exclusion may not apply to you. This warranty gives you specific legal rights, and you may also have other rights which vary from state to state or province to province.
Pre-Installation
NOTE: Hardware images are for illustration purposes only. Actual product size may vary.
TOOLS REQUIRED
![]()
PACKAGE CONTENTS

| Part | Description | Quantity |
| AA | 6 in. Hanging Chain | 2 |
| BB | V-Hook | 2 |
| CC | Zip Tie | 2 |
| DD | Mounting Screw | 2 |
| EE | Wall Anchor | 2 |
| F | Stoplight Fixture | 1 |
| GG | Hanging Hook | 2 |
| HH | Remote | 1 |
| I I | Remote Mount | 1 |
| JJ | Double-Sided Tape (For Remote Mount) | 1 |
| KK | Screws (For Remote Mount) | 1 |
| LL | Mounting Template | 1 |
PRODUCT DIMENSIONS

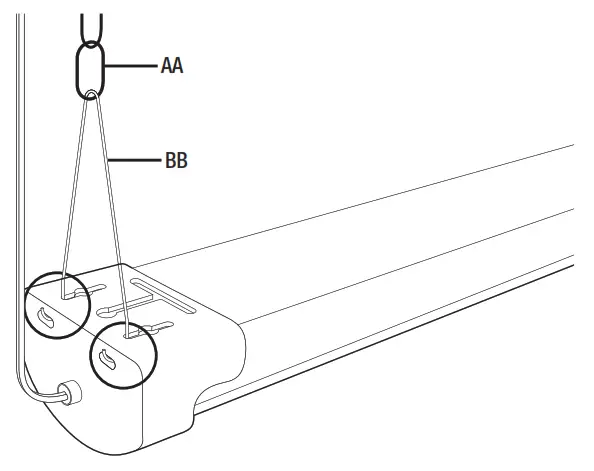
Chain and V-Hook Installation
- Turning off the power
□ Turn the power OFF at the switch, fusebox, or circuit breaker. - Attaching hanging hooks
□ Attach two hanging hooks (GG) to the ceiling. The spacing between the hanging hooks should be 46 in. If the ceiling is concrete or drywall, drill two holes and insert two anchors (EE).
- Installing the chain to V-hooks
□ Attach the chain (AA) to the V-hooks (BB) then insert the hooks into the mounting holes located on the top of the fixture. Do this for both ends of the fixture.
- Attaching the hanging chain
□ Hang the hanging chain (AA) onto the hanging hooks (GG) and plug in the power cord to the outlet.
- Attaching the zip tie
□ Use the zip tie (CC) to attach the cord to the hanging chain (AA).
- Turning on the power
□ Turn the power ON at the switch, fusebox, or circuit breaker.
□ Turn the fixture ON/OFF using the provided remote. - Linking multiple shop lights (optional)
□ Link up to six.

Fixture Flush Mount Screw Installation
- Turning off the power
□ Turn the power OFF at the switch, fusebox, or circuit breaker. - Attaching the anchors and screws
□ Using the provided mounting template (LL), drill two holes 44 in. apart. Be sure to offset the right hole (or opposite side) by 5/8 in.
□ If the ceiling is concrete or drywall, drill two holes and insert two anchors (EE).
- Securing the fixture
□ Lift the fixture (FF) up to the mounting screws (DD) fitting into place thru large openings. The fixture should be firmly fixed against the mounting screws (DD). Push the fixture forward or backward to lock it in place. Plug in the power cord to the outlet.
- Turning on the power
□ Turn the power ON at the switch, fusebox, or circuit breaker.
□ Turn the fixture ON/OFF using the provided remote. - Linking multiple shop lights (optional)
□ Link up to six.

How to Use Wireless Remote

Group Programming
- Group Programming
□ Program multiple fixtures at once by pressing down and holding a light setting.
□ While holding the desired light setting, walk closer to the light until it flashes.
□ Fixtures will verify new setting has been received by flashing.
□ While holding the desired light setting, walk closer to the light until it flashes.
NOTE: If the fixture did not flash, 0 it did not receive a new light setting.

NOTE: Fixture uses Microwave technology for motion detection which could interfere with WiFi within 5 ft of the unit.


























