
46” LED LINKABLE SHOP LIGHT
SLIM DESIGN WITH MOTION SENSOR
AND REMOTE CONTROL
ITM. / ART. 2322003
Model: LM030015
CARE & USE INSTRUCTIONS
![]()
@KodaBuiltOfficial
IMPORTANT, RETAIN FOR FUTURE REFERENCE: READ CAREFULLY
For assistance with installation, parts, Wi-Fi connectivity issues, or other technical questions, please email us at [email protected] or call us at 1-866-294-9244, Monday through Friday, 8 am to 5 pm PT.
Please refer to the Troubleshooting section for common questions and answers, or visit the Koda Help Center at https://help.horizon-brands.com/hc/en-us 2975 Red Hill Ave., Ste. 100, Costa Mesa, CA 92626, USA www.KodaBuilt.com
This product is suitable for use in homes, offices, warehouses, workshops, garages, and other damp locations. This light has the following unique features:
- Smart Sensor Control System: This light is operated by a Smart Sensor Control to automatically turn on when motion is detected and will turn off automatically after no movement has been detected.
- Convenient Wireless Remote: With the remote control, you can easily adjust the brightness, sensor distance, timer for auto-dim, and timer for auto-off.
- Linkable: This light can be linked up to 8 units of Koda model LM030015.
IMPORTANT SAFETY INSTRUCTIONS:
DANGER – To reduce the risk of electric shock:
Always unplug this product from the electrical outlet before cleaning.
WARNING: To reduce the risk of fire, electric shock, or injury to persons:
- Do not modify the power cord plug provided with the product.
- Do not use the light if the power cord or plug is damaged. If damaged, have it repaired by a service facility before use. If the plug does not fit the outlet, have a proper outlet installed by a qualified electrician.
- Disconnect the power cord plug from the power source before making any adjustments or changing accessories. Do not attempt to install the product while plugged in.
- Do not abuse the power cord. Never use the power cord to carry the light or pull the plug from an outlet. Keep the power cord away from heat, oil, sharp edges, or moving parts.
- Not for use with dimmer packs, timing devices, motion detectors, or lighting controllers other than supplied with this product.
- Store the product and remote out of reach of children.
- Only use the product in its intended location.
- Close supervision is necessary when this product is used by, or near children, invalids, or disabled persons.
- Always unplug the appliance from the electrical supply outlet when not in use.
- These portable luminaries have a polarized plug (one blade is wider than the other) as a feature to reduce the risk of electric shock. This plug will fit in a polarized outlet only one way. If the plug does not fit fully in the outlet, reverse the plug. If it still does not fit, contact a qualified electrician. Never use an extension cord unless the plug can be fully inserted. Do not alter the plug.
- The receptacle is for connecting with the same model LM030015 only, and up to a maximum of 8 units (including the first one).
- Do not connect with other appliances, or connect more than 8 units of light model LM030015.
CAUTION: TO PREVENT ELECTRIC SHOCK, MATCH THE WIDE BLADE OF THE PLUG TO WIDE SLOT
SAVE THESE INSTRUCTIONS
WARNING:
- LED light output is strong enough to injure human eyes. Do not stare at the LED light while it is illuminating.
- If the light is damaged, it shall be exclusively replaced by the manufacturer or the service agent, or a qualified person in order to avoid a hazard.
- The warnings, precautions, and instructions discussed in this manual cannot cover all possible conditions and situations that may occur. The operator must understand that common sense and caution are factors that cannot be built into this product but must be supplied by the operator.
- Do not tamper with or attempt to repair the LED component or fixture. The light source is designed for this specific application and should not be serviced by untrained personnel. Contact the customer service department if any servicing is required.
PACKAGE CONTENTS:
Please lay out all parts and read the instructions prior to installation.



PRODUCT SPECIFICATIONS:
- Operating Voltage: 120 Vac, 60 Hz
- Wattage: 48 W
- Light Output: 4600 lumens
- Color Temperature: 4000 K
- LED Life Cycles: up to 50,000 hours
- Operating Temperature: 0°C to 40°C / 32°F to 104°F

INSTALLATION PROCEDURES:
The product is intended to be connected to a plug and does not need to be switched on/off as it is controlled by the motion sensor and the remote control. Due to the sensor’s ability to detect movement through walls and doors, it is recommended to disable the motion sensor (see page13) when installing the light in small rooms (e.g. storage closet, pantry, etc.) so movement outside these rooms cannot be picked up by the sensor. The light will operate through the main switch in this scenario.
NOTE: The sensor may detect movement through walls and doors. If installing multiple LED Linkable Shop Lights, keep at least 1 m / 3.2 ft between each LED Linkable Shop Light to prevent sensor interference.
NOTE: The light can be linked with the same model LM030015 only, and can be linked up to a maximum of 8 units (including the first one).
CEILING HANGING WITH CHAINS:
![]() | ![]() |
1. Select a mounting location and make sure the wooden surface is suitable for supporting the light. Use the measuring templatePH to mark the hook locations on the mounting surface, with each location being 32 in / 81.3 cm apart from each other. |
![]() | ![]() |
| 2. Wear safety glasses before drilling pilot holes. Drill two 2 mm diameter pilot holes. | 3. Screw in the screw hooksTD (not provided). |

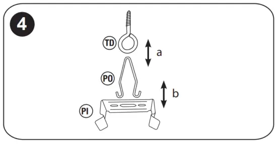
4a. Determine the desired hanging height. Slip the hanging hook PO through the chainPN .
4b. Insert the hanging hookPO into the openings of the mounting bracketPI .
Repeat for the other mounting bracket.
4c. Connect the chain onto the screw hook. Repeat for the other chain and hook.
5. Clip mounting brackets PI onto the light.
The light is intended to be installed directly beneath a ceiling-mounted receptacle. The excess power cord should be kept out of the workspace, such as by securing it to one of the supporting chains with a cable tie.
NOTE: The mounting brackets should be at least 32 in / 81.3 cm apart. See Mounting Diagram on the left for installation.
CEILING FLUSH MOUNT:
![]() | ![]() |
| Final installed illustration | 1. Select a mounting location and make sure the wooden surface is suitable for supporting the light. Use the measuring templatePH to mark the hook locations on the mounting surface, with each location being 32 in / 81.3 cm apart from each other. |
![]() | ![]() |
| 2. Wear safety glasses before drilling pilot holes. Drill two 2 mm diameter pilot holes. | 3. Screw the mounting bracketPI with the wood screw PL provided. Repeat for the second mounting bracket.Note: For concrete or drywall, you may use drywall screws along with plastic anchors instead of wood screws. |
![]() | ![]() |
4. Clip mounting brackets PI onto the light. | NOTE: The mounting brackets should be at least 32 in / 81.3 cm apart. See Mounting Diagram above for installation. |
CEILING HANGING WITH HOOKS:


1. Select a mounting location and make sure the wooden surface is suitable for supporting the light. Use the measuring template PH to mark the hook locations on the mounting surface, with each location being 32 in / 81.3 cm apart from each other.
2. Wear safety glasses before drilling pilot holes. Drill two 2 mm diameter pilot holes.
3. Screw in the screw hooks TD (not provided).
4a. Slip the hanging hookPO into the screw hook TD. Repeat for the second hanging hook.
4b. Insert the hanging hook into the middle opening of the mounting bracket PI .
Repeat for the other mounting bracket.
NOTE: The mounting brackets should be at least 32 in / 81.3 cm apart. See Mounting Diagram on the right for installation.
5. Clip mounting bracketsPI onto the light.
WIRELESS REMOTE:
Before using the remote, please open the switch cover on the back and insert the two AAA batteries that were provided.
Battery Safety Review:
- Clean batteries and battery contacts with a clean, dry cloth before inserting.
- Always use the correct size, grade, and type of batteries that are most suitable for the intended use.
- Replace all batteries at the same time. Do not mix old and new batteries.
- Ensure the batteries are installed correctly according to polarity (+ and -).
- Remove batteries when they are not used for an extended period of time.
- Remove used batteries promptly when needing replacement.
When using the remote, you must point the remote directly at the light to ensure the signals can be sent to the light. When the light receives the remote signal, the light will blink once as a visual confirmation.
Note: This remote uses infrared (IR) to send commands to the LED Linkable Shop Light. It is possible to control multiple LED Linkable Shop Lights from one remote as long as the lights are within line of sight of the remote to receive commands.
REMOTE SETTINGS:

- Power Button
Press the button
to turn the light on and off accordingly.
NOTE: When you press the power button to turn the light off while the motion sensor is set to ON, the light will turn ON automatically again when there is motion detected. - Night Mode
By pressing the
button, the light will dim to 10% brightness. - Brightness

You can adjust the brightness from 10% to 100% by pressing the+ or – button continuously. Press the+ button to increase the brightness and press the – button to dim. You may also press the
button to reach 100% brightness instantly or the
button to reach 10% brightness instantly. - Time Until Dim

This is the time to dim the light when no movement is detected. You can choose from Off, 5 minutes, 10 minutes, or 30 minutes.Icon 
5min 10min 30min Timer Off 5 minutes 10 minutes 30 minutes The light will be dimmed to 50% of the preset brightness level setting if there is no movement detected by the sensor. Any movement detected within this period will restart the timer.
- Time Until Off

This is the time for the light to turn OFF completely when there is no motion detected. You can choose from Off, 5 minutes, 10 minutes, or 30 minutes.Icon 
5min 10min 30min Timer Off 5 minutes 10 minutes 30 minutes The light will be turned OFF when there is no motion detected within the preset time. Any movement detected within this period will restart the timer and the light will be turned on again.
The timer of light will start counting the Time Until Dim function and then the Time Until Off. (E.g. for both timer settings are 5 min: the light will be dimmed down when no motion has been detected for 5 minutes and the light will be turned OFF when no motion is detected within 5 minutes after. Any movement detected within this period will restart the timer, and the light will turn on again.)
You can select ‘OFF’ if you want to have the light turned ON at all times. By selecting this mode, the Ambient Light Sensor function will be disabled.
NOTE: Total duration the light is on for includes Time Until Dim plus Time Until Off. - Ambient Light Sensor
Ambient Light Sensor refers to the surrounding area’s light level to keep light OFF during the daytime regardless of any movement. You can choose from Off, Overcast, Dusk, or Night.Setting 



Ambient Light Sensor Off
Overcast
Dusk
Night
For example, if you set it to Overcast, when the surrounding area is bright enough, such as a sunny day, the light will stay OFF even if motion has been detected. When the surrounding area is less bright than overcast and there is motion detected by the sensor, the light will turn ON. In the ‘Night’ setting, the light will turn ON only when the surrounding area is dark and there is motion detected by the sensor.
The ‘OFF’ mode is for usage where you want to disable the light sensor function, i.e. the light is controlled by the motion sensor only.
NOTE: If the motion sensor is turned OFF to disable the motion sensor feature, the light sensor feature will be automatically turned OFF. In this case, the light must be turned on with the remote. - Distance

Distance is the maximum motion detection range. You can choose from various settings: Very near, Near, Mid-range and Far. The sensing distances range from roughly 3.2 ft. / 1m to 22.9 ft. / 7 m. You may refer to the table below for the maximum sensing distance for the light installed at a height of 9.8 ft. / 3 m.Icon Setting Maximum Sensing Distance (D) 
Very near 3.2 ft – 6.5 ft / 1 m – 2 m 
Near 6.5 ft – 11.4 ft / 2 m – 3.5 m 
Mid-range 11.4 ft – 16.4 ft / 3.5 m – 5 m 
Far 16.4 ft – 22.9 ft / 5 m – 7 m 
Any movement inside the detection zone will be detected by the motion sensor.
Actual sensing distance may be influenced by environmental conditions, the height of moving objects, or installation height.
INSTALLING REMOTE HOLDER:
You can install the remote holder by mounting it on the wall with the short screws and short plastic anchors.

Another option is to use the 3M tape PN to mound the remote holder to the wall.
The Remote Control Setting Label may be attached to the back of the remote for future reference.
MAINTENANCE:
CLEANING INSTRUCTIONS: When cleaning, make sure you have unplugged the light and allow it to cool to room temperature. The light can be cleaned with a feather duster or a soft damp cloth.
You should only plug in the light after it has been completely dried.
RECOMMENDED SETTINGS:
WHEN INSTALLED IN A GARAGE:
Time Until Dim
: 5min
Time Until Off
: 5min
Ambient Light Sensor
: Off![]()
Distance
: Very near![]()
The motion sensor covers a small area. The light will dim down when there is no movement is detected within 5 minutes and will completely turn off when no movement is detected within 5 minutes thereafter.
WHEN INSTALLING IN A WAREHOUSE OR WORKSHOP:
Time Until Dim
: 30min
Time Until Off
: 30min
Ambient Light Sensor
: Off![]()
Distance
: Mid-range![]()
The motion sensor covers a large area. The light will dim down when there is no movement is detected within 30 minutes and will completely turn off when no movement is detected within 30 minutes thereafter.
WHEN WANTING TO KEEP THE LIGHT ALWAYS ON:
Time Until Dim
: 10min
Time Until Off
: Off
Ambient Light Sensor
: Off![]()
Distance
: Far![]()
By selecting this mode, the light will be ON all the time. When there is no movement within 10 minutes, the light will dim down. The light will return to full brightness when movement is detected.
WHEN INSTALLING IN THE OFFICE:
Time Until Dim
: Off
Time Until Off
: 30min
Ambient Light Sensor
: Off![]()
Distance
: Far![]()
The light will be completely off when there is no movement detected within 30 minutes.
DISABLE MOTION / LIGHT SENSOR:
Time Until Dim
: Off![]()
Time Until Off
: Off![]()
Ambient Light Sensor
: Off
Distance
: Very near![]()
You can choose this setting to simulate ordinary light and manually operate through the wall switch.
TROUBLESHOOTING:
| PROBLEM | POSSIBLE CAUSE | SOLUTION |
| Light does not illuminate The light does not turn on. | The light is not plugged in or the main switch is OFF. | Plugin and turn on the main switch. |
| Light settings cannot be changed from the remote. | Batteries are not inserted correctly. | Open the battery compartment cover and confirm the batteries are inserted correctly. Replace with new batteries if needed. |
| Batteries are dead. | Replace with two new AAA batteries. | |
| The remote control is out of range. | Move closer to the LED Linkable Shop Light to select changes from the remote. | |
| The light is ON without any identifiable movement. | Motion detected. (The motion sensor may be detecting movement behind walls, doors, etc.) | Select a smaller motion detection range such as Very Near. |
| PROBLEM | POSSIBLE CAUSE | SOLUTION |
| The light stays off despite motion. | Rapid movements are being suppressed to minimize malfunctioning of light or the detection zone you have set is too narrow. | Widen distance setting to a larger motion detection zone. |
| ‘Ambient Light Sensor’ is ON, preventing the light from illuminating when ambient lighting is bright. | Change the ‘Ambient Light Sensor’ setting to OFF, or other appropriate settings. | |
| The light is always ON. | Continuous movement in the detection zone. | Select a smaller motion detection range such as Very Near. |
| The motion sensor has been switched OFF. | Change the‘ Time Until Off’ setting to other appropriate settings, such as 5 min, 10 min, or 30 min | |
| The total time the light stays on is ‘Time Until Dim’ plus ‘Time Until Off’. | Adjust ‘Time Until Dim’ and ‘Time Until Off’ settings to shorter durations. | |
| The light does not operate normally or as expected when more than one LED Linkable Shop Light is installed. | Sensor interference due to multiple LED Linkable Shop Lights. | Ensure each LED Linkable Shop Light is at least 3.2 ft / 1 m away from each other. |
| My Wi-Fi suddenly becomes unstable once the shop light is turned on. | The LED Linkable Shop Light uses 5.8GHz technology for the motion sensor. This signal may interfere with some Wi-Fi channels depending on your router’s configuration. | There are three options that can resolve the issue: Disable the motion sensor (see page 13 for details) Restart your Wi-Fi router Manually change your Wi-Fi router’s change It is recommended you try restarting your Wi-Fi router before manually changing the channel. Restarting, it will force the router to search for a new channel that doesn’t have interference from the shop light. If the problem persists, try logging in to your Wi-Fi router’s configuration settings to manually change the Wi-Fi channel being used. Choose any channel other than a value between 149 to 165. All other channels should allow your Wi-Fi router to work without any interference from the shop light. If the problem persists, please contact Koda Customer Support at [email protected] or call us at 1-866-294-9244, Monday through Friday, 8 am to 5 pm PT. |
WARRANTY:
KODA
This Koda product carries a 5-year warranty against defects in workmanship and materials. This product is not guaranteed against wear or breakage due to misuse and/or abuse.
NOTE: Warranty only applies for North American customers of purchases made in North America.
CONDITIONS OF WARRANTY
If during the 5-year warranty period your new product is found to be defective, Koda will repair such defect, or replace the product, without charge for parts or labor subject to the following conditions:
- All repairs must be performed by Koda.
- All warranty claims must be accompanied by a copy of the sales receipt or bill of sale.
- The equipment must not have been altered or damaged through negligence, accident, improper operation, or failure to follow the product instructions for installation, use, or care.
- The replacement of parts is excluded from the warranty when replacement is necessary due to normal wear and tear.
- Repair or replacement parts supplied by Koda under this warranty are protected only for the unexpired portion of the original warranty.
- This is a “repair or replace” warranty only, and does not cover the costs incurred for the installation, removal, or reinstallation of the product.
OWNER’S RESPONSIBILITIES: Koda will make every effort to provide warranty service within a reasonable period of time. SHOULD YOU HAVE ANY QUESTIONS ABOUT THE SERVICE RECEIVED OR IF YOU WOULD LIKE ASSISTANCE IN OBTAINING SERVICE, PLEASE CALL TOLL-FREE AT 1.866.294.9244 DURING REGULAR BUSINESS HOURS MONDAY THROUGH FRIDAY 8:00 AM TO 5:00 PM PST.
NOTE: Toll-free number is for North American customers ONLY. See the customer service section for customer contact numbers for other regions/offices. For customer service and technical support, please call us at 1.866.294.9244 or email us at [email protected]. If at that time it is determined that a replacement unit is needed, the support representative will issue a Return Authorization and instruct on how to get a new unit.
Koda makes no other warranty of any kind aside from the limited express warranty stated herein.
DISCLAIMER OF WARRANTIES, INCLUDING WARRANTY OF MERCHANTABILITY AND WARRANTY OF FITNESS FOR PARTICULAR PURPOSE: EXCEPT AS SPECIFICALLY SET FORTH HEREIN, NO WARRANTY OR REPRESENTATION, EXPRESS OR IMPLIED, IS MADE AS TO THE LED LINKABLE SHOP LIGHT. KODA AND/OR ITS AFFILIATES EXPRESSLY DISCLAIM, WITHOUT LIMITATION, ANY STATUTORY WARRANTIES AND ALL IMPLIED WARRANTIES, INCLUDING ANY IMPLIED WARRANTY OF MERCHANTABILITY OR FITNESS FOR A PARTICULAR PURPOSE.
FCC / IC COMPLIANCE STATEMENT:
LED Linkable Shop Light
Model: LM030015
Responsible Party:
Koda
Address: 2975 Red Hill Ave., Ste. 100, Costa Mesa, CA 92626, USA
Tel: 1-866-294-9244
This device contains license-exempt transmitter(s)/receiver(s) that comply with Innovation, Science, and Economic Development Canada’s license-exempt RSS(s) and Part 15 of the FCC rules:
(1) This device may not cause harmful interference, and
(2) this device must accept any interference received, including interference that may cause undesired operation.
Warning: Changes or modifications to this unit not expressly approved by the party responsible for compliance could void the user’s authority to operate the equipment.
The manufacturer is not responsible for any radio or TV interference caused by unauthorized modifications or changes to this equipment. Such modifications or changes could void the user’s authority to operate the equipment.
This equipment has been tested and found to comply with the limits for a Class B digital device, pursuant to part 15 of the FCC Rules. These limits are designed to provide reasonable protection against harmful interference in a residential installation. This equipment generates, uses, and can radiate radio frequency energy and, if not installed and used in accordance with the instructions, may cause harmful interference to radio communications. However, there is no guarantee that interference will not occur in a particular installation.
If this equipment does cause harmful interference to radio or television reception, which can be determined by turning the equipment off and on, the user is encouraged to try to correct the interference by one or more of the following measures:
— Reorient or relocate the receiving antenna.
— Increase the separation between the equipment and receiver.
— Connect the equipment into an outlet on a circuit different from that to which the receiver is connected.
— Consult the dealer or an experienced radio/TV technician for help.
The device has been evaluated to meet general RF exposure requirements.
To maintain compliance with FCC/IC’s RF exposure guidelines, this equipment should be installed and operated with a minimum distance of 20cm between the radiator and your body.
CAN ICES-005(B) / NMB-005(B)
3M TM / MC is a trademark of 3M Company.
| Distributed by: Costco Wholesale Corporation P.O. Box 34535 Seattle, WA 98124-1535 USA 1-800-774-2678 www.costco.com | Costco Wholesale Canada Ltd.* 415 W. Hunt Club Road Ottawa, Ontario K2E 1C5, Canada 1-800-463-3783 www.costco.ca * faisant affaire au Québec sous le nom les Entrepôts Costco |
| Importado por: Importadora Primex S.A. de C.V. Blvd. Magnocentro No. 4 San Fernando La Herradura Huixquilucan, Estado de México C.P. 52765 RFC: IPR-930907-S70 (55)-5246-5500 www.costco.com.mx | Costco Wholesale Australia Pty Ltd 17-21 Parramatta Road Lidcombe NSW 2141 Australia www.costco.com.au |
| Costco Wholesale UK Ltd / Costco Online UK Ltd Hairspring Lane Watford, Herts WD25 8JS United Kingdom 01923 213113 www.costco.co.uk | Costco Wholesale Spain S.L.U. Polígono Empresarial Los Gavilanes C/ Agustín de Betancourt, 17 28906 Getafe (Madrid) España NIF: B86509460 900 111 155 www.costco.es |
| Costco Wholesale Iceland Ehf. Kauptún 3-7, 210 Gardabaer Iceland www.costco.is | Costco France 1 avenue de Bréhat 91140 Villebon-Sur-Yvette France 01 80 45 01 10 |
| Costco Wholesale Japan Ltd. 3-1-4 Ikegami-Shincho Kawasaki-ku, Kawasaki-shi, Kanagawa 210-0832 Japan 0570-032600 www.costco.co.jp | Costco Wholesale Korea, Ltd. 40, Iljik-ro Gwangmyeong-si Gyeonggi-do, 14347, Korea 1899-9900 www.costco.co.kr |
| Costco Wholesale New Zealand Limited 67 Maki Street Massey, Auckland 0814 New Zealand | Shanghai Minhang Costco Trading Co., Ltd No. 235, Zhujiang Road Minhang District, Shanghai China 201106 +86-21-6257-7065 |
MADE IN CHINA
Have a comment or question? Email us at [email protected] or visit us online at www.KodaBuilt.com

A Horizon Brands Company
2975 Red Hill Ave., Ste. 100, Costa Mesa, CA 92626, USA | Tel: 1-866-294-9244
© 2021 Koda. All rights reserved.
References
Welcome to Costco Wholesale
コストコオンライン - 公式サイト | Costco Japan
코스트코 온라인몰 | 코스트코 코리아
Join the club & start saving! | Costco UK
Welcome to Costco Wholesale
Member Warehouse | Costco Australia
Inicio | Costco México
Home | Costco Spain
Welcome to Costco Wholesale | Costco Iceland
Koda™ - LED Lighting for Home & Work










button, the light will dim to 10% brightness.






















