LIVARNO F9C78682 LED Light Strip with Motion Sensor

Introduction
Please be sure to carefully read the complete instructions for use. These instructions are part of the product and contain important information on setup and handling. Always follow all safety instructions. Before using this product for the first time verify the correct voltage and that all parts are properly installed. If you have any questions or you are unsure about operating the product, please contact the distributor or service centre. Please keep these instructions in a safe place and pass them on to third parties if necessary
Intended use
This luminaire is only suitable for indoor use, in dry and enclosed rooms. This device is only intended for use in a private domestic environment, not for commercial use. Any use other than that described above is prohibited and will result in product damage. It is further associated with dangers, e.g. short circuits, fire, electric shock, etc. Do not use this light as a night light. This product is intended for normal use.
Scope of delivery
- Check immediately after unpacking that the parts are complete and that the product is in proper condition.
- 1 LED rope light
- 1 adhesive strip
- 4 batteries 1.5V AAA
- 1 set of instructions for use
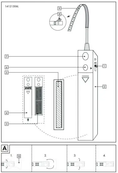
Parts description - Sliding switch (Setting “D“ or “M“ possible)
- Battery compartment
- Battery
- Battery cover
- Adhesive strip (Reverse side of battery compartment)
- ON/OFF button
- Motion sensor
- Protective film (Reverse side of LED strip)
- LED strip
- Adhesive strip (for LED strip)

Technical data
LED Strip:
- Model number: 14121506L
- Operating voltage: DC 6V 2W
- Batteries: 4 x 1.5Vd.c. AAA
- Illuminant: 30 LEDs (non-replaceable)
- Total wattage: 2W
- Protection type: IP20
- Protection class: III /
- Range of the motion
- detector: max. 4m
- Detection angle: 110°
- Ambient
- temperature (ta): 40°C
- LEDs non-replaceable
Safety
Safety instructions
Damage due to failure to comply with these instructions for use will void the warranty! We assume no liability for consequential damages! We assume no liability for property damage or personal injury due to improper handling or failure to comply with the safety instructions!
- Never leave children unsupervised with the packaging materials. The packaging material poses a suffocation hazard. Children frequently underestimate dangers. Please always keep the product out of the reach of children.
- This device may be used by children aged 8 years and up, as well as by persons with reduced physical, sensory or mental capacities, or lacking experience and/or knowledge, so long as they are supervised or instructed in the safe use of the device and understand the associated risks. Do not allow children to play with the device. Cleaning and user maintenance must not be performed by children without supervision.
- Check the LED strip for damage before every use. Never use the LED strip if any damage is detected.
- same components. This will pose a risk of fatal injury from electric shock.
- Do not install the lamp on damp or conductive surfaces.
- Do not install the LED strip in a flammable, explosive or corrosive environment.
- This LED strip must not be connected electronically with other LED strips.
- Protect the product from sharp edges, mechanical loads and hot surfaces.
- Do not secure with sharp staples or nails.
- Remove the batteries from the battery compartment prior to assembly, disassembly or cleaning.
- Never touch the battery compartment or the LED strip with wet hands.
- Only use the individual parts supplied, otherwise all warranty claims will become invalid.
- Do not operate the LED strip in its packaging.
- Otherwise, there is the risk of overheating.
- Do not operate the LED strip if it is covered with objects or wound around a wheel.
- Do not use rechargeable batteries.
- The light source in this light cannot be replaced.
- If the light source has reached the end of its operating life, the entire light must be replaced.
- Do not open or cut open/slit open the light strip.
- Avoid excessive bending of the LED strip.
- Do not use the LED strip if it is covered with objects or is inlaid in a surface.
- This product does not contain any parts that can be serviced by the user. The LEDs cannot be replaced.
- If the LEDs cease to function at the end of their operational life, the entire item must be replaced.
- The integrated LEDs are not dimmable.
- Do not look into the LED from a close distance during operation.
- Do not look at the LED with an optical instrument (e.g. magnifier).
- Do not leave the LED strip or packaging material lying unattended. The packaging material presents a suffocation hazard and there is a risk of loss of life from strangulation.
- Install the light so that it is protected from dirt and excessive heating.
- Always be attentive! Always pay attention to what you are doing and use common sense.
- Never use the LED strip if you are having difficulty concentrating or do not feel well.
- Before use, familiarise yourself with all the instructions and diagrams in these instructions, as well as with the LED strip itself.
- In order to disconnect the LED strip completely from the power supply, the batteries must be removed from it.
- Do not use this light as a night light.
DANGER TO LIFE! - Keep batteries/rechargeable batteries out of reach of children. If accidentally swallowed seek immediate medical attention.
- Swallowing may lead to burns, perforation of soft tissue, and death. Severe burns can occur within 2 hours of ingestion.
DANGER OF EXPLOSION! - Never recharge non-rechargeable batteries. Do not short-circuit batteries/rechargeable batteries and/or open them. Overheating, fire or bursting can be the result.
- Never throw batteries/rechargeable batteries into fire or water.
- Do not exert mechanical loads to batteries/rechargeable batteries.
Risk of leakage of batteries/rechargeable batteries
- Avoid extreme environmental conditions and temperatures, which could affect batteries/rechargeable batteries, e.g. radiators /direct sunlight.
- Avoid contact with the skin, eyes and mucous membranes. In the event of contact with battery acid, thoroughly flush the affected area with plenty of clean water and seek immediate medical attention.
WEAR PROTECTIVE GLOVES! - Leaked or damaged batteries/rechargeable batteries can cause burns on contact with the skin. Wear suitable protective gloves at all times if such an event occurs.
- In the event of a battery leak, immediately remove it from the product to prevent damage.
- Only use the same type of batteries/rechargeable batteries. Do not mix used and new batteries/rechargeable batteries.
- Remove the batteries/rechargeable batteries if the product will not be used for a longer period.
- Risk of damage of the product Only use the specified type of battery / rechargeable battery!
- Insert batteries/rechargeable batteries according to polarity marks (+) and (-) on the battery/ rechargeable battery and the product.
- Use a dry lint-free cloth or cotton swab to clean the contacts on the battery/rechargeable battery and in the battery compartment before inserting!
- Remove exhausted batteries/rechargeable batteries from the product immediately.
Initial use
Remove all packaging materials before first use.
Inserting/ replacing batteries
- Slide the battery cover 4 in the direction of the arrow and remove it.
- insert the batteries into the battery compartment 2 while taking the polarity into account (+ and -).
- Only use battery 3 specified in the chapter “Technical Data“.
- Slide the battery cover 4 back on in the opposite direction to the arrow.
- Hint: Make sure that the battery cover 4 is securely locked in place.
Trimming the LED tape
- Before doing any work on the LED strip 9 remove the batteries 3 from the battery compartment 2 .
- Choose the desired LED strip length.
- Note: Ensure that you cut the LED strip at the right place. The cutting point lies exactly between the plus and minus pole and is marked with a black line.
- Shorten the LED strip 9 using a pair of scissors.
- Be sure to cover the open end of the LED strip 9 with the adhesive strip 10 before use (see fig. A).
Installing the LED strip - Note: Ensure that the installation area is clean, grease-free and dry. Otherwise, the functionality of the adhesive strip may be impaired.
- Choose a suitable installation area (window etc.).
- Remove the protective film 8 from the reverse side of the LED strip 9 .
- Note: When removing the protective film 8 , make sure to start from the side of the supply cable. Make sure that you do not also peel away the adhesive coating when removing the protective film 8 .
- Stick the LED strip 9 with the adhesive strip onto the installation area and press it on firmly.
- Remove the protective film from the adhesive strip 5 on the reverse side of the battery compartment 2 .
- Stick the battery compartment 2 to the installation surface.
- Note: Make sure that the sliding switch 1 can be operated.
- Ensure that motion sensor 7 can detect movement.
- Your lamp is now ready to use.
Switching the LED strip on/off
- If the sliding switch 1 is set to “M“, you can manually switch the LED strip 9 on and off.
- Motion sensor 7 is deactivated.
- Switch the LED strip 9 on and off using the ON/OFF button 6 .
Motion sensor
The LED strip 9 is equipped with a motion sensor 7 . You can activate this motion sensor 7 by setting the sliding switch 1 to “D“ (“Dynamic“). The motion sensor has a maximum range of 4m. The light turns on for approx. 30 seconds. The ON/OFF button 6 is deactivated.
Maintenance and cleaning
Before doing any work on the LED strip 9 remove the batteries 3 from the battery compartment 2 .
- Do not use solvents, benzene or similar substances. They could damage the light.
- Use a dry, lint-free cloth to clean the LED strip 9 .
Disposal
The packaging is made entirely of recyclable materials, which you may dispose of at local recycling facilities Observe the marking of the packaging materials for waste separation, which are marked with abbreviations (a) and numbers (b) with following meaning: 1–7: plastics /20–22: paper and fibreboard/80–98: composite materials. To help protect the environment, please dispose of the product properly when it has reached the end of its useful life and not in the household waste. Information on collection points and their opening hours can be obtained from your local authority. Per Directive 2006/66/EC and its amendments, defective or used batteries must be recycled. Return the batteries and/or the product to a collection site. Never dispose of batteries in your household waste. They may contain toxic heavy metals and are subject to hazardous waste regulations. The chemical symbols of the heavy metals are: Cd = cadmium, Hg = mercury, Pb = lead. Therefore return used batteries to your local collection site!
Warranty and service
Warranty
You receive a 36-month warranty on this product, valid from the date of purchase. The appliance has been carefully produced under strict quality control. Within the warranty period we shall rectify without charge all material and manufacturing defects. In the event of a defect during the warranty period, please send the appliance to the listed Service Center address, referencing the following item number: 14121506L. Wear parts (such as bulbs) and damage caused by improper handling, non-observance of the operating instructions or unauthorized interference are excluded from the warranty. The performance of services under the warranty does not extend or renew the warranty period.



















