
TRIPLE HEAD LED MOTION SENSOR
SECURITY LIGHT
ITM. / ART. 1600041
Model. MK-SC0108
ES00960G
IMPORTANT SAFETY INSTRUCTIONS
- To reduce the risk of death, personal injury or property damage from fire, electric shock, falling parts, cuts/abrasions and other hazards, read all warnings and instructions included with and on the fixture box and all fixture labels.
- Before installing, servicing or performing routine maintenance upon this equipment, follow these general precautions.
- All electrical work carried out in England and Wales must conform to the current IET Wiring Regulations: BS 7671:2018 and Part P of the Building Regulations 18th edition. If you are located elsewhere, check local Building Regulations.
- If you are unsure about the installation or maintenance of this fixture, consult a qualified, licensed electrician.
ο Do not mount the unit against flammable surfaces.
ο The motion detector will not operate correctly if it is installed: - Near the outlet of a central heating boiler
- Near an air conditioning unit
- Pointing directly at moving vehicles
- Within sight of reflection from moving water
- Fixtures can’t be used with a dimmer switch, motion or occupancy sensor and other electronic switching devices unless otherwise designated. LED fixtures must be powered directly off a switch circuit.
- This fixture should not be used in areas with limited ventilation or high ambient temperatures.
- This fixture is intended to be connected to a properly installed and grounded connection.
- These instructions do not claim to cover all details or variations in equipment or provide every possible contingency to meet in connection with the installation, operation or maintenance.
WARNING: RISK OF ELECTRICAL SHOCK
- Turn off electrical power at fuse or circuit breaker box before wiring fixture to the power supply.
- Verify that the supply voltage is correct. Connect fixture to a 220~240 Volt, 50/60 Hz power source.
- Make sure all electrical and grounded connections are in accordance with any applicable local code requirements.
- All wiring connections should be capped with CE listed wire connectors.
CAUTION: RISK OF PRODUCT DAMAGE
- Never connect components under load.
- Do not mount or support these fixtures in a manner that can cut the outer jacket or damage wire insulation.
- Avoid covering LED fixtures with insulation, foam, or other material that will prevent convection or conduction cooling.
- Never connect a LED product directly to dimmer packs, occupancy sensors, timing devices or other related control device, unless individual product specifications deem otherwise.
- Unless individual product deems otherwise: do not exceed fixtures maximum ambient temperatures.
- LED products are Polarity Sensitive. Ensure proper polarity before installation.
- Electrostatic Discharge can cause damage to LED fixtures. Personal grounding equipment must be worn during all installation or servicing of the unit.
CAUTION: RISK OF INJURY
- Wear gloves and safety glasses at all times when removing fixture from carton, installing, servicing or performing maintenance.
- Avoid direct eye exposure to the light source while it is on. LED LAMPS ARE EXTREMELY BRIGHT. UNDER NO CIRCUMSTANCES SHOULD YOU STARE INTO A LED BEAM. THIS MAY CAUSE IRREPARABLE DAMAGE TO THE EYE.
- Account for small parts and destroy packaging materials, as these may be hazardous to children.
WARNING: RISK OF BURN
- Allow fixture to cool before handling. Do not touch enclosure of light source.
- Do not exceed the maximum wattage marked on the label.
- Keep combustible and other materials that can burn away from the luminaries, fixture and lamp/lens.
WARNING:The luminaires should be positioned so that prolonged staring into the luminaire at a distance closer than 0.8 m is not expected.
PRE-INSTALLATION
Before beginning assembly of the product, make sure all parts are present. Compare parts with package contents list and hardware contents. If any part is missing or damaged, do not attempt to assemble the product.
Estimated assembly time: 30 minutes.
Note: Fixture should be installed by person with experience in household wiring or by a qualified electrician. Installation in England and Wales must conform to the current IET Wiring Regulations: BS 7671:2018 and Part P of the Building Regulations 18th edition. If you are located elsewhere check local Building Regulations
- Install the motion sensor between 1.9 m / 6.2 ft and 3 m /9.8 ft above the ground. Motion sensor is less sensitive above 3 m / 9.8 ft.
- Mount motion sensor so motion moves across detection zone.
- Mount sensor away from heat producing sources to prevent false triggering. Also be very careful not to include objects such as windows, white walls and water in the detection zone.
- Mount fixture away from moving objects such as trees and street traffic.
- Suitable for wall mounting or eave mounting.

MOUNTING LOCATIONS
- Determine the mounting location – a Wall or Eave.
- Make sure “This side UP” on sensor faces up after installation.
- Position the lamp head in the general direction of the desired light coverage.
- If needed, adjust the motion sensor up and down so the control faces the ground after installation.
Note: Do not mount this light fixture on the ground
Important notes:
- Environmental temperature affects the sensor range. It is recommended not to mount the fixture near a heat source like an air conditioner, vent, or furnace exhaust, or in a direction facing a light reflecting object.
- The sensor will be more sensitive to motion across its detection path than motion coming directly towards it.
- For best performance, gently clean the lens with a soft cloth every two months to assure maximum sensitivity.
Tools Required for Installation (not included)
FIXTURE PACKING LIST
| Part | Description | Quantity |
| A | Light Fixture | 1 |
| B | Plastic Wall Plug | 2 |
| C | Decorative Cover | 1 |
| D | Mounting Plate | 1 |
| E | Mounting Screw | 2 |
| User Manual | 1 |
For further questions or assistance, please visit our website www.homezonesecurity.com.
INSTALLATION
WARNING: Risk of electric shock. Disconnect power at fuse or circuit breaker before installing or servicing.
Step 1. Mounting the Mounting Plate
- Line up the Mounting Plate (D) to the required position mark and then drill suitable size holes. If you are mounting to a wall use the Plastic Wall Plugs (B) supplied. Please note if mounting to a brick wall holes should be drilled into the brick and not the mortar course.
- All electrical work carried out in England and Wales must conform to the current IET Wiring Regulations: BS 7671:2018 and Part P of the Building Regulations 18th edition. The light fixture should be connected to a lighting circuit with the minimum protection of 6A MCB at the consumer unit via a 10A wall switch. All connections to the consumer unit should be made by a qualified electrician. Alternatively the lamp fitting can be fitted with a 3 core flex connected to a 13A 3 pin plug with a 5A fuse and plugged into an existing switched mains socket.
- Before mounting the Mounting Plate (D), pierce the plastic insert in the cable and thread the mains connecting cable through the cable entry.
- Mount the Mounting Plate (D) using the Mounting Screw (E) supplied. Tighten the left hand screw first then level the Mounting Plate (D) before tightening the right hand screw.
Step 2. Wiring the Light Fixture
CAUTION: Make sure polarity is correct as shown below.
- Prepare the ends of mains cable leaving enough cable length to make it easy to make connections.
- Connect the mains cable to the Connector Block.

- Insert the blue wire from the original power supplier into the terminal marked “N”.
- Insert the brown wire from the original power supplier into the terminal marked “L”.
- Insert the green / yellow earth wire from the original power supplier into the terminal marked “
”.
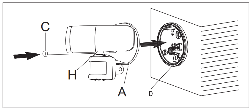
Step 3. Mounting the Light Fixture
- Align the bottom edge of the Light Fixture (A) with the bottom edge of the Mounting Plate (D). Tilt the light fixture (A) toward the Mounting Plate (D), making sure the Light Fixture (A) is centered on the Mounting Plate (D).
- Tighten the mounting blot pre-installed in Light Fixture (A) securely through the center of the Mounting Plate (D). Do not overtighten.
- Push the Decorative Cover (C) firmly into the mounting bolt hole on the Light Fixture (A).

Step 4. Caulking Around the Light Fixture
- Caulk around the canopy and mounting surface with silicone sealant (not included).

OPERATION
1. Adjusting the Lamp heads and Sensor
- Lamp heads can be adjusted easily. You may adjust the lamp head left and right or up and down to get the desired lamp direction.
- Sensor can be adjusted easily. You may adjust the sensor left and right or up and down to get the desired lamp direction.

Note: LED LAMPS ARE NON-REPLACEABLE. Do not attempt to access / maintain the LEDs; they are non-replaceable and any contact may damage the LEDs and will void the warranty.
2. Adjusting the detector
After installing your motion activated light, you are ready to set /aim the motion detector.
Detection Range: around 21.3 m / 70 ft. x 240 degrees (Max)
You must aim the detector head to cover the desired area.
Note: Actual detection range may be affected by ambient temperature.
– Adjust the sensor head horizontal for long coverage. 
3. Rotating the sensor controls downward
Rotate the motion sensor so the controls face toward the ground. 
DISTANCE Setting
Adjust the DISTANCE setting to adjust range of Passive Infrared Motion Sensor.
– Slide the “DIST” switch toward the “
” (low) position for short detection range.
– Slide the “DIST” switch toward the “
” (middle) position for middle detection range.
– Slide the “DIST” switch toward the “
” (high) position for long detection range.
The higher the “DIST” setting (Distance), the greater the possibility of false triggering.
To reduce false triggering, suggest to slide the “DIST” switch toward the “
” (low) setting if you don’t need long detection distance while using this light.
LUX Setting
This setting is used to control the ambient light level for the motion security light to turn on after motion detection.
– Slide the “LUX” switch toward the “
” position, the light will turn on in the daylight or in sunset or in the darkness.
– Slide the “LUX” switch toward the “ ” position, the light will turn on in the sunset or in the darkness.
– Slide the “LUX” switch toward the “
” position, the light will turn on in the darkness. 
TIME Setting
This setting is used to control the time span of how long the light remains on when motion is detected.
– Set the “
” switch to the 1, 3, 7 minute position.
The security light will stay on as long as motion is detected and will go off after the time span you set after no motion is detected.
Manual Override Function
- This feature only works at night and only for one night at a time.
- When power is on, the PIR sensor enters a “warm-up” period for about 15 seconds, then automatically switches into AUTO MODE.
- During AUTO MODE, by switching the main switch OFF-ON-OFF-ON within 3 seconds, the PIR sensor will automatically change into MANUAL MODE from AUTO MODE. In MANUAL MODE, the lights will remain ON, and will NOT be controlled by time duration or ambient light (LUX) levels. The MANUAL MODE will change to AUTO MODE in 6 hours automatically or will change back to AUTO MODE if dawn is reached.
- During MANUAL MODE, by switching the main switch OFF over 10 seconds then back ON again, the PIR sensor will reset to the “warm-up” period.

Blue LED sensor indicator
The Blue LED Light will flash to show that the PIR sensor is functioning properly.
SPECIFICATIONS
- Detection Method: Passive Infrared Sensor (PIR). PIR measures infrared light radiating from objects in its field of view. Apparent motion is detected when infrared levels change.
- Sensor Range: Up to 21.3 m / 70 ft. x 240 degree spread (Varies with surrounding temperature).
- Time Adjustment: 1, 3, 7 minutes.
- Power Source: 220~240VAC, 50/60Hz.
- Load Rating: No extra lights should be added to this unit.
- The LED chips are not replaceable.
ADVANTAGES OF LED’S
- Energy saving – much lower power consumption and money savings.
- Longer lifetime – Solid State lighting has no filament to break.
- Light does not radiate heat.
CARE AND CLEANING
- To prolong the original appearance, clean with clear water and a soft, damp cloth only.
- Do not use paints, solvents, or other chemicals on this light fixture. They could cause a premature deterioration of the finish. This is not a defect in the finish and will not be covered by the warranty.
- Do not spray with a hose or power washer.
2 YEAR LIMITED WARRANTY
WHAT IS COVERED
This product is guaranteed to be free of factory defective parts and workmanship for a period of 2 years from date of purchase. Purchase receipt is required for all warranty claims.
WHAT IS NOT COVERED
This guarantee does not include repair service, adjustment and calibration due to misuse, abuse or negligence, or LEDS. Unauthorized sevice or modification of the product or of any furnished component will void this warranty in unauthorized service, or return shipping charges. This warranty is not extended to other equipment and components that a customer uses in conjunction with this product.
TROUBLESHOOTING
| Problem | Possible Cause | Solution |
| The light will not come on. | ■ The light switch is turned off. ■ The fuse is blown or the circuit breaker is turned off. ■ The light fixture is not properly attached to the mounting plate, if this is a new installation (the pins are not fully seated in the terminal block). ■ The circuit wiring is incorrect, if this is a new installation. ■ The detector is aimed in the wrong direction. ■ The power voltage is wrong. | ■ Turn the light wall switch on. ■ Replace the fuse or turn the circuit breaker on. ■ Re-install the light fixture to the mounting plate and ensure the pins are fully seated in the terminal block. ■ Verify the wiring is correct. ■ Re-aim the detector to cover the desired area. ■ Verify that the power voltage is correct. |
| The light comes on during the day.
| ■ The detector may be installed in a relatively dark location. ■ The Ambient Light (LUX) level setting is wrong. | ■ The light fixture is operating normally under these circumstances. ■ Adjust the Ambient Light (LUX) level setting to ” |
| Problem | Possible Cause | Solution |
| The lights stay on continuously. | ■ A bulb is positioned too close to the detector or pointed at nearby objects that cause heat to trigger the light detector. ■ The light fixture is on Manual Override Mode. ■ The light fixture is on the same circuit as a motor, transformer, or fluorescent bulb. | ■ Reposition the bulb away from the detector or nearby objects. ■ Adjust the light fixture to Auto Mode. ■ Install the light fixture on a circuit without motors, transformers, or fluorescent bulbs. |
| The light comes on for no apparent reason. | ■ There is motion in the detection zone. ■ The light fixture is wired through a dimmer or timer. | ■ Make sure the detector is not picking up moving objects such as trees, traffic, etc. and re-aim the detector. ■ Do not use a dimmer or timer to control the light fixture. Replace the dimmer or timer with a standard on/off wall switch. |
Waste electrical and electronic products should not be disposed of with household waste. Please recycle where facilities exist. Check with your Local Authority for recycling advice.![]()
This product contains three light sources of energy efficiency class E
HomeZone Security
Test Rite Products Corporation
1900 S. Burgundy Place
Ontario, CA. 91761 U.S.A
Service English,
[email protected]
www.homezonesecurity.com
| Division: T103P61Z01 File NO.: 20200607 | Packaging Design Implement Confirmation | ||
| Client: Costco Client ID: 510011 | Item NO.: ES00824G | ||
| Packaging Description: Manual | Package Size:13 x 16.5 cm | Sales Division Lewis | Design Division Joe |
| Contact: Art window/Carol ext:8274 Email: [email protected] | Finish Date: | ||
| Applicant Cherry | Designer Carol | ||
| Colors: Cutter | Signed by Applicant & Sales Division 20200607 for all Items | ||
| 100% | |||
DISTRIBUTED BY:
COSTCO WHOLESALE CORPORATION
P.O. BOX 34535
SEATTLE, WA 98124-1535
USA
1-800-774-2678
WWW.COSTCO.COM
COSTCO WHOLESALE UK LTD
COSTCO ONLINE UK LTD
HARTSPRING LANE
WATFORD, HERTS
WD25 8JS
UNITED KINGDOM
01923 213113
WWW.COSTCO.CO.UK
References
Welcome to Costco Wholesale
コストコオンライン - 公式サイト | Costco Japan
코스트코 온라인몰 | 코스트코 코리아
Join the club & start saving! | Costco UK
Welcome to Costco Wholesale
Member Warehouse | Costco Australia
Inicio | Costco México
Home | Costco Spain
Accueil | Costco France
Welcome to Costco Wholesale | Costco Iceland
Home Zone Security






















