LEROYMERLIN G18082P Lakko LED Wall Light with Motion Sensor Instruction Manual
What’s in the Box?


Safety Icons
Caution danger
Power Off
Power Up
Warning symbols
Read the instructions
Earthing
General Safety Instructions
Readthisinstructionmanualthoroughlybeforeusingtheapplianceandsaveitfor future reference and if necessary pass the instruction manual on to a third party.
WARNING: When using electrical appliance,basic safety precautions should always be followed to reduce the risk of fire, electrical shock and personal injury.
- General
Check if the electrical specifications of this luminaire are compatible with your installation. WARN NG: The power supply must be deactivated prior to assembly, maintenance, exchanging the bulb or cleaning processes. Remove the fuse or switch the fuse to OFF and secure from reactivation. Care must be taken before drilling fixing holes to avoid any existing wiring or pipework that may be concealed. Keep device out of reach of children and unauthorised persons. - Electrical safety
Luminaire should be installed by authorized electrician only acc. to national wiring rules. The earth wire should be longer than L,N wire. please use supply cord at least 3G1.0MM2(PVC wire is forbidden ,suggest using HO5RN-F wire)
Specific Safety Rules
Caution, risk of electric shock
Environmental protection
CAUTION
Electrical products must not be thrown outwith domestic waste. They must be taken to a communal collecting point for environmentally friendly disposal in accordance with local
regulations. Contact your local authorities or stock istfor adviceon recycling. The packaging material is recyclable. Dispose of the packaging in an environmentally friendly manner and make it available for the recyclable material collection-service.
Application Specifications
TECHNICAL CHARACTERISTICS
| Rated voltage | 220-240V~ |
| Rated frequency | 50Hz |
| Rated wattage | 11 W |
| Bulb rating | LED 1 WINCL |
| Protection class | CLASS I |
| IP number | IP44 |
This product contains a light source of energy efficiency class <D> – (EU) 2019/2015
Maintenance / Cleaning
Disconnect from mains before maintenance or cleaning. WARNING: The use of any accessory not specified in this manual may present a risk of personal injury.
Others (Service, Repairing, Guarantee, etc …)
This electric product is in accordance with the relevant safety requirements. Repairs should only be carried out by qualified persons using original spare parts, otherwise this may result in considerable danger to the user. Please contact the store which you bought the product for after sale services if any. The light source contained in this luminaire shall only be replaced by the manufacturer or his service agent or a similar qualified person
WARRANTY DURATION
The general legal warranty applies to all products for 2 years from the delivery of the goods and upon providing the receipt as the proof of the purchase. However, INSPIRE goes beyond that. We want you to have the best experience possible with our products, thus we have extended the warranty periods for all INSPIRE products to 5 years.
WARRANTY APPLICATION
For the warranty to be applied, the product must have been installed, used and maintained according to the Instruction Manual guidelines.
QUESTIONS AND CLAIMS
If you have any questions or encounter any problems regarding the use of the product, its performance or visual aspect, you are welcome to contact your vendor through the contact information you will find on the purchasing receipt.
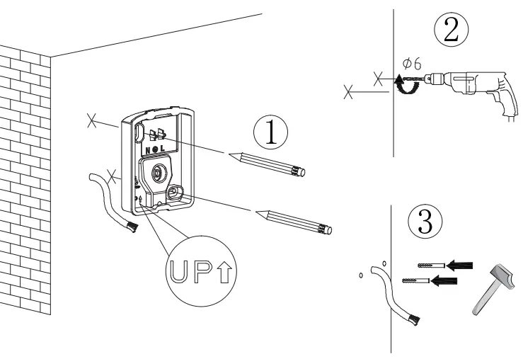
Assembly




SPARE PARTS
Some parts of this product can be ordered from your store
Warranty
5-year guarantee

Power Off
Power Up
Read the instructions
Caution, risk of electric shock





















