
SOLAR LED AREA WALL LIGHT WITH MOTION SENSOR
ITEM: SR74FA02C-08
INSTRUCTIONS
FOR FIRST-TIME USE: SOLAR LIGHT NEEDS TO CHARGE IN FULL SUNLIGHT FOR 8 -12 HOURS WITH THE SWITCH IN THE “ON” POSITION TO FULLY CHARGE THE BATTERY.
The intelligent solar LED motion-activated light measures the available battery power capacity and adjusts the light’s performance to maximize runtime.
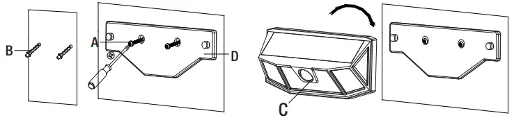
INSTALLATION
| Tools Required | Hardware Included |
![]() | ![]() |
- Marking the location
□ Mark the location where you want to mount the light fixture (Part C)
□ Measure the width of two holes on the back of the mounting plate (Part D) and mark holes for the 2 screws (Part A) on the surface.
The distance between the two holes is 2.36in. (60mm).
□ Drill two holes. - Mounting the light fixture
□ Insert the wall anchors (Part B) so they are flush with the surface.
□ Secure the mounting plate (Part D) in place with the screws (Part A).
□ Mount the light on the mounting plate (Part D) by aligning the holes on the back of the light to the knobs on the front of the mounting plate.
Align, insert, and slide down to lock in place.
NOTE: Light fixture will stay on 30 seconds when triggered by motion and revert back to standby mode of 20 lumens until motion is detected. For best performance, mount the light a minimum of 6 feet (1.8 m) above the ground. The detection range is 26 feet (8 m), detection angle is 120°. Light fixture uses radio frequency technology to link, and should not be greater than 98 feet (30 m) between the neighboring/adjacent lights. When one light is triggered by motion both lights will activate. The package includes 2 lights. These 2 lights are factory linked, and can not be linked with more of the same type light or any other lights.
TROUBLESHOOTING
If the light doesn’t turn on, check the battery to ensure that it is making secure contact with the terminals. If this doesn’t work, replace it with a new battery.
REPLACING THE BATTERY
Slide the power switch to the “OFF” position.
Use a Phillips head screwdriver to remove the 4 screws holding the battery cover in place.
Replace the old battery with a new 3.7V, 2000 mAh lithium (18650) rechargeable battery.
Replace the battery cover by aligning it properly and replacing the 4 screws removed earlier.
Slide the power switch to the “ON” position.
For optimal performance, allow the light fixtures to charge in full sunlight for 8-12 hours, to fully charge the battery.
FCC WARNING
Warning: Changes or modifications to this unit not expressly approved by the party responsible for compliance could void the user’s authority to operate the equipment.
Notes: This equipment has been tested and found to comply with the limits for a Class B digital device, pursuant to Part 15 of the FCC Rules.
These limits are designed to protect against harmful interference in a residential installation. This equipment generates, uses, and can radiate radio frequency energy and, if not installed and used in accordance with the instructions, may cause harmful interference to radio communications.
However, there is no guarantee that interference will not occur in a particular installation. If this equipment does cause harmful interference to radio or television reception, which can be determined by turning the equipment off and on, the user is encouraged to try to correct the interference by one or more of the following measures:
- Reorient or relocate the receiving antenna.
- Increase the separation between the equipment and receiver.
- Connect the equipment into an outlet on a circuit different from that to which the receiver is connected.
- Consult the dealer or an experienced radio / TV technician for help.
RF EXPOSURE: This equipment complies with FCC radiation exposure limits set forth for an uncontrolled environment. This equipment should be installed and operated with a minimum distance of 20 cm between the radiator and your body. This transmitter must not be co-located or operating in conjunction with any other antenna or transmitter.
WARNING: Do not dispose of lithium batteries in municipal waste stream or by fire as batteries may explode. Do not open, short circuit, or destroy batteries. Dispose of batteries in accordance with Local, State, and Federal regulations. Do not mix old and new batteries. Do not mix alkaline, standard (carbon-zinc), or rechargeable (nickel-cadmium, nickel-metal hydride, or lithium-ion) batteries.
For additional help and information regarding installation, contact customer service at 1-844-551-0680, 8 am-5 pm, CST Monday – Friday
[email protected]
and Westinghouse is trademarks of Westinghouse Electric Corporation. Used under license by Sky Rich Star Limited. All Rights Reserved.


□ Mark the location where you want to mount the light fixture (Part C)
□ Insert the wall anchors (Part B) so they are flush with the surface.















