FEIT LED Shop Light Installation Guide
IMPORTANT, RETAIN FOR FUTURE REFERENCE: READ CAREFULLY
WARNING: These products may represent a possible shock or fire hazard if improperly installed or attached in any way. Products should be installed in accordance with the owners manual, current electrical codes and/or the current
PARTS INCLUDED (Drawings not to scale)

screw hooks x2
V-hooks x2![]()
hanging chains x2
wall anchors x3![]()
mounting screws x3![]()
pull chain extension x1![]()
cable tie x1

NOTE: When used with wall switch, make sure pull chain switch is On.
When using pull chain On/Off switch, attach included extension to pull chain.
THIS FIXTURE IS INTENDED TO ONLY BE INSTALLED DIRECTLY BENEATH A CEILING-MOUNTED RECEPTACLE.
CAUTION: Installation not be made on a radiant-heating ceiling.
CAUTION: Hooks are to engage the chain only and not the electric cord.
CAUTION: This fixture needs to be grounded.
Voltage: 120Vac Current: 0.37 A
SUITABLE FOR DAMP LOCATION
LINKING MULTIPLE SHOPLIGHTS Link up to 3 shoplights together
This device complies with part 15 of the FCC Rules. Operation is subject to the
following two conditions: (1) This device may not cause harmful interference,
and (2) this device must accept any interference received, including interference
that may cause undesired operation. Note: This equipment has been tested
and found to comply with the limits for a Class B digital device, pursuant to
part 1 S of the FCC Rules. These limits are designed to provide reasonable
protection against harmful interference in a residential installation. This
equipment generates, uses and can radiate radio frequency energy and, if not
installed and used in accordance with the instructions, may cause harmful
interference to radio communications. However, there is no guarantee that
interference will not occur in a particular installation. If this equipment does
cause harmful interference to radio or television reception, which can be
determined by turning the equipment off and on, the user is encouraged to
try to correct the interference by one or more of the following measures:
Reorient or relocate the receiving antenna. Increase the separation between
the equipment and receiver. Connect the equipment into an outlet on a circuit
different from that to which the receiver is connected. Consult the dealer or an experienced radio/TV technician for help. Any changes or modifications not expressly approved by the manufacturer could void the user’s authority to operate the equipment.
LIMITED WARRANTY
This product is warrantied to be free from defects in workmanship and materials for up to five years from date of purchase. If the product fails within the warranty period, please contact Feit Electric at [email protected], visit feit.com/contact-us or call 1-866-326-BULB (2852) for instructions on replacement or refund.
REPLACEMENT OR REFUND IS YOUR SOLE REMEDY. EXCEPT TO THE EXTENT PROHIBITED BY APPLICABLE LAW, ANY IMPLIED WARRANTIES ARE LIMITED IN DURATION TO THE DURATION OF THIS WARRANTY. LIABILITY FOR INCIDENTAL OR CONSEQUENTIAL DAMAGES IS HEREBY EXPRESSLY EXCLUDED. Some states and provinces do not allow the exclusion of incidental or consequential damages, so the above limitation or exclusion may not apply to you. This warranty gives you specific legal rights, and you may also have other rights which vary from state to state or province to province.
For comments please contact:
Feit Electric Customer Service Department
4901 Gregg Road, Pico Rivera, CA 90660
WARNING: TURN OFF THE MAIN POWER AT THE CIRCUIT BREAKER BEFORE INSTALLING THE FIXTURE IN ORDER TO PREVENT POSSIBLE ELECTRIC SHOCK.
INSTALLATION OPTIONS
Install fixture using included chain and V-hooks
- Install provided screw-hooks directly onto ceiling. Spacing between screws should be 47.28 inches (See Figure A).

For concrete ceilings/drywalls, wall anchors are required. Drill two holes (use a 1/4 inch drill bit) for provided wall anchors then use provided screw hooks (See Figure 1).
- Attach chain to V-hooks then insert hooks into mounting holes located on top of fixture (See Figure 2). Do this for both ends of lamp.

- Install lamp to ceiling by hanging the chain to pre-mounted screw-hooks on ceiling (See Figure 3).

- Plug in power-cord to outlet or connect to additional SHOP/4/HO/850 shoplights.
- Pull down on pull chain switch to turn fixture ON/OFF.
- Zip tie cord to chain so that excess cord is kept out of the work space. (see Figure 4).

Install fixture flushmount using screws
- Install provided screws directly onto mounting surface. Spacing between screws should be 45.71 inches. Gap (D) should be .079-.099 inches. For concrete/drywall surfaces, wall anchors are required. Drill two holes (use a 1 /4 inch drill bit) for provided wall anchors then use provided screws (See Figure 5).

- Install fixture to mounting surface by inserting the Key Holes on top side of the fixture into the mounting screws (See Figure 6).

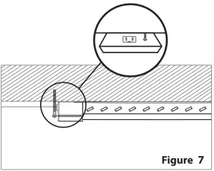
It may be necessary to adjust the tightness of the screws (Gap D). Make sure both screws hold the lamp securely on the narrow side of the Key Holes. - Mount a third screw next to the side of the outlet (See Figure 7).

If anchor is required, mark the hole as close as possible to the fixture, remove the lamp, drill the hole on the marked position, install anchor into the drilled hole, re-install the fixture then install the screw into the wall anchor.
This will secure the lamp into place. - Plug in power-cord to outlet or connect to additional SHOP/4/HO/850 shoplights.
- Pull down on pull chain switch to turn fixture ON/OFF. Key Hole
Fixture Maintenance
- Please make sure the power is off before maintenance.
- To avoid any damage to the product, please do not use any chemical solvents during the routine maintenance.
- To ensure better lighting, please clean the lamp regularly.


























