FEIT Electric LED Tube Installation & Operating Instructions
ITEM# T96/865/AB/LED
PLEASE REVIEW THE INSTRUCTIONS AND WARNINGS LISTED BELOW PRIOR TO PROPER INSTALLATION
WHEN BYPASSING A BALLAST, ALWAYS HAVE A QUALIFIED ELECTRICIAN DO YOUR ELECTRICAL WORK
This LED tube is intended to replace fluorescent tube lamps witn ANSI designation 59W/96T8, 75W/96T12W
WARNINGS
- Risk of fire or electric shock.
- LED Tube bypass ballast installation requires knowledge of luminaire electrical systems. (If you are not a qualified electrician, please do not attempt bypass installation).
- Risk of electric shock – Disconnect power at source before installation.
- Do not make or alter any open holes in an enclosure of wiring or electrical components during installation.
- If lamp or luminaire exhibits abnormal operation (buzzing, flickering, minimal light, etc.), turn off power, remove lamp and contact us.
- Do not install this lamp in a pre-heat luminaire.
- This lamp only operates on 120-277V. If lamp does not light when the luminaire is energized, remove lamp from luminaire and contact lamp manufacturer or a qualified electrician.
CAUTIONS
- Do not use with dimmers.
- Do not look directly at the operating LED tube.
- Do not touch this product with wet hands.
- Do not disassemble, repair, or alter lamp.
- Suitable for damp locations.
- Be careful not to touch the lamp pins to the metal housing when installing.
- This device is not intended for use with emergency exits or emergency lights.
Supplier’s Declaration of Conformity
47 CFR § 2.1077 Compliance Information
Unique Identifier: T96/865/AB/LED
Responsible Party – U.S Contact Information
FEIT ELECTRIC Co.
4901 GREGG RD. PICO RIVERA, CA, USA 90660-2108
TEL: (562) 463-2852, www.feit.com
This device complies with part 15 of the FCC Rules. Operation is subject to the following two conditions:
(1) This device may not cause harmful interference, and (2) this device must accept any interference received, including interference that may cause undesired operation. Note: This equipment has been tested and found to comply with the limits for a Class B digital device, pursuant to part 15 of the FCC Rules. These limits are designed to provide reasonable protection against harmful interference in a residential installation. This equipment generates, uses and can radiate radio frequency energy and, if not installed and used in accordance with the instructions, may cause harmful interference to radio communications. However, there is no guarantee that interference will not occur in a particular installation. If this equipment does cause harmful interference to radio or television reception, which can be determined by turning the equipment off and on, the user is encouraged to try to correct the interference by one or more of the following measures: Reorient or relocate the receiving antenna. Increase the separation between the equipment and receiver. Connect the equipment into an outlet on a circuit different from that to which the receiver is connected. Consult the dealer or an experienced radio/TV technician for help. Any changes or modifications not expressly approved by the manufacturer could void the user’s authority to operate the equipment.
HARDWARE INCLUDED
NOTE: Hardware not shown to actual size.

| Part | Description | Quantity |
| AA | LED Tubes | 2 |
| BB | Magnetic Center LED Tube Support | 1 |
| CC | LED Tube Inter Connect | 1 |
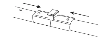
T96/865/AB/LED Assembly Instructions

- Remove the white caps from the LED Tube end without the single pin.
- Slide the Magnetic center LED Tube Support (BB) over the open end of one of the LED tubes (AA) beyond the locking pin.
- Insert the LED Tube Inter Connect (CC) in the semi-circle channel in the same open ends of the LED Tube.
- Line up the LED Inter Connect (CC) and slide into the semi-circle channel on the open end of the other LED Tube (AA). Push LED Tubes together until locking pin lines with the holes in the LED Tube (AA) and lock in place.
- Push down on the locking pin and slide the Magnetic Center LED Tube Support (BB) to the center position between both LED Tubes (AA).
- Face the magnet inwards so it makes contact with the ballast cover once the lamp is installed. This will prevent sag in the middle of the LED tube (AA).
Plug and Play Instructions – TYPE A
- Turn off the power at the switch and fuse box or circuit breaker.
- Remove the existing tube on the fixture if present.
- Simply plug in to your fixture using existing ballast. Only works with T96 T8/T12 Electronic Ballast not compatible with Magnetic Ballast
NOTE: Check the ballast compatibility list which can be found on our website: www.feit.com/ballast_compatibility before installation.

Bypass Assembly Instructions – TYPE B
DOUBLE-ENDED BYPASSING MAGNETIC/ELECTRONIC BALLAST
- Turn off the power at the switch and fuse box or circuit breaker.
- Remove the existing ballast and existing starter (if present) from the fixture.
- After removing the existing ballast, connect the live wire (L) to the wire coming from thr lamp holder terminal. Next, connect the neutral wire (N) to the wire coming from the lamp holder terminal on the other side/end.
FOR BYPASS INSTALLATION ONLY
(PROFESSIONAL INSTALLATION IS RECOMMENDED)
NOTE: Installers should not disconnect existing wires from lamp holder terminals to make new connections at lamp holder terminals. Instead, installers should cut existing lamp holder leads away from the lamp holder and make new electrical connections to lamp holder lead wires by employing applicable connectors.
- Install the Feit Electric T96 LED Tube.

- Turn on the power and enjoy your Feit Electric T96 LED Tube.
- After the wiring modification is completed, attach the replacement cautionary label onto a visible place on the fixture. Remove any pre-existing labels.
![]()
WARNING!
USE LED LAMPS ONLY. THIS LUMINAIRE HAS BEEN MODIFIED TO USE LED LAMPS AND CAN NO LONGER OPERATE THE ORIGINALLY INTENDED FLUORESCENT LAMPS SAFELY.
FLUORESCENT LAMPS COULD BREAK AND CAUSE PERSONAL INJURY IF USED IN THIS FIXTURE.
SAVE THESE INSTRUCTIONS
FEIT ELECTRIC COMPANY | PICO RIVERA, CA, USA | (800) 543-3348 | FAX (562) 908-6360 | www.feit.com





















