
MODEL SHOP/4/H0/850
IMPORTANT, RETAIN FOR FUTURE REFERENCE: READ CAREFULLY LED SHOP LIGHT INSTALLATION INSTRUCTIONS
WARNING:
These products may represent a possible shock or fire hazard if improperly installed or attached in any way. Products should be installed in accordance with the owner’s manual, current electrical codes, and/or the current National Electric Code (NEC).



NOTE: When used with wall switch, make sure pull chain switch is On. When using pull chain On/Off switch, attach included extension to pull chain.
THIS FIXTURE IS INTENDED TO ONLY BE INSTALLED DIRECTLY BENEATH A CEILING-MOUNTED RECEPTACLE.
CAUTION: Installation not be made on a radiant-heating ceiling.
CAUTION: Hooks are to engage the chain only and not the electric cord.
CAUTION: This fixture needs to be grounded.
Voltage: 1 20Vac Current: 0.37A
SUITABLE FOR DAMP LOCATION
LINKING MULTIPLE SHOPLIGHTS

This device complies with part 15 of the FCC Rules. Operation is subject to the following two conditions: (1) This device may not cause harmful interference, and (2) this device must accept any interference received, including interference that may cause undesired operation. Note: This equipment has been tested and found to comply with the limits for a Class B digital device, pursuant to part 15 of the FCC Rules. These limits are designed to provide reasonable protection against harmful interference in a residential installation. This equipment generates, uses, and can radiate radio frequency energy and, if not installed and used in accordance with the instructions, may cause harmful interference to radio communications. However, there is no guarantee that interference will not occur in a particular installation. If this equipment does cause harmful interference to radio or television reception, which can be determined by turning the equipment off and on, the user is encouraged to try to correct the interference by one or more of the following measures: Reorient or relocate the receiving antenna. Increase the separation between the equipment and receiver. Connect the equipment into an outlet on a circuit different from that to which the receiver is connected. Consult the dealer or an experienced radio/TV technician for help. Any changes or modifications not expressly approved by the manufacturer could void the user’s authority to operate the equipment.
LIMITED WARRANTY
This product is warranted to be free from defects in workmanship and materials for up to five years from the date of purchase. If the product fails within the warranty period, please contact Feit Electric at [email protected], visit feit.com/contact-us or call 1-866-326-BULB (2852) for instructions on replacement or refund. REPLACEMENT OR REFUND IS YOUR SOLE REMEDY. EXCEPT TO THE EXTENT PROHIBITED BY APPLICABLE LAW, ANY IMPLIED WARRANTIES ARE LIMITED IN DURATION TO THE DURATION OF THIS WARRANTY. LIABILITY FOR INCIDENTAL OR CONSEQUENTIAL DAMAGES IS HEREBY EXPRESSLY EXCLUDED. Some states and provinces do not allow the exclusion of incidental or consequential damages, so the above limitation or exclusion may not apply to you. This warranty gives you specific legal rights, and you may also have other rights which vary from state to state or province to province.
For comments please contact:
Feit Electric Customer Service Department
4901 Gregg Road, Pico Rivera, CA 90660
WARNING: TURN OFF THE MAIN POWER AT THE CIRCUIT BREAKER BEFORE. INSTALLING THE FIXTURE IN ORDER TO PREVENT POSSIBLE ELECTRIC SHOCK.
INSTALLATION OPTIONS
Install fixture using included chain and V-hooks
- Install provided screw-hooks directly onto the ceiling. Spacing between screws should be 47.28 inches (See Figure A). For concrete ceilings/drywalls, wall anchors are required. Drill two holes (use a 1/4 inch drill bit) for provided wall anchors then use provided screw hooks (See Figure 1).


- Attach the chain to V-hooks then insert hooks into mounting holes located on top of the fixture (See Figure 2). Do this for both ends of the lamp.

- Install lamp to the ceiling by hanging the chain to pre-mounted screw-hooks on the ceiling (See Figure 3).

- Plugin power-cord to an outlet or connect to additional SHOP/4/HO/850 shop lights.
- Pull down on pull chain switch to turn fixture ON/OFF. 6. Zip tie cord to chain so that excess cord is kept out of the workspace. (see Figure 4).

Install fixture flush mount using screws
- Install provided screws directly onto the mounting surface. Spacing between screws should be 45.71 inches. Gap (D) should be .079-.099 inches. For concrete/drywall surfaces, wall anchors are required. Drill two holes (use a 1/4 inch drill bit) for provided wall anchors then use provided screws (See Figure 5).

- Install fixture to the mounting surface by inserting the Key Holes on the top side of the fixture into the mounting screws (See Figure 6). It may be necessary to adjust the tightness of the screws (Gap D). Make sure both screws hold the lamp securely on the narrow side of the Key Holes.

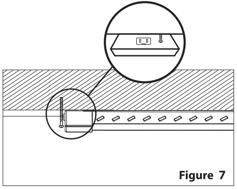
- Mount a third screw next to the side of the outlet (See Figure 7). If the anchor is required, mark the hole as close as possible to the fixture, remove the lamp, drill the hole on the marked position, install anchor into the drilled hole, re-install the fixture then install the screw into the wall anchor. This will secure the lamp into place.

- Plugin power-cord to an outlet or connect to additional SHOP/4/HO/850 shop lights.
- Pull down on pull chain switch to turn fixture ON/OFF.
Fixture Maintenance
- Please make sure the power is off before maintenance.
- To avoid any damage to the product please do not use any chemical solvents during routine maintenance.
- To ensure better lighting, please clean the lamp regularly.
SAVE THESE INSTRUCTIONS
FBI ELECTRIC COMPANY
PICO RIVERA, CA
1-866-326-BULB (2852)
FAX (562) 908-63601
www.feit.com
REV004


























