FEIT Electric SHOP Smart WiFi LED Shop Light Instruction Manual
WARNING
These products may re present a possible shock or fire hazard if impro or attached in anyway. Products should be
- installed in accordance with the owners manual, current electrical codes and/or the current National Electric Code (NEC).
PARTS INCLUDED (Drawings not to scale)
- screw hook x2

- V-hook x2

- hanging chains x2

- wall anchors x2

- mounting screws x2

- cable tie x1

THIS FIXTURE IS INTENDED TO ONLY BE INSTALLED DIRECTLY BENEATH A CEILING-MOUNTED RECEPTACLE.
CAUTION: Installation not be made on a radiant-heating ceiling
CAUTION: Hooks are to engage the chain only and not the electric cord.
CAUTION: rhis fixture needs to be grounded.
Voltage: 120Vac Current: 0.97A
SUITABLE FOR DAMP LOCATIONS
LINKING MULTIPLE SHOPLIGHTS

Supplier’s Declaration of Conformity: 47 CFR § 2.1077 Compliance Information
Responsible Party: Feit Electric Company 4901 Gregg Road, Pico Rivera, CA 90660, USA 562-463-2852
Unique Identifier: SHOP/4/HO/CCT
This device complies with part 15 of the FCC Rules. Operation is subject to the following two conditions: (1) This device may not cause harmful interference, and (2) this device must accept any interference received, including interference that may cause undesired operation. Note: This equipment has been tested and found to comply with the limits for a Class B digital device, pursuant to part 15 of the FCC Rules. These limits are designed to provide reasonable protection against harmful interference in a residential installation. This equipment generates, uses and can radiate radio frequency energy and, if not installed and used in accordance with the instructions, may cause harmful interference to radio communications. However, there is no guarantee that interference will not occur in a particular installation. If this equipment does cause harmful interference to radio or television reception, which can be determined by turning the equipment off and on, the user is encouraged to try to correct the interference by one or more of the following measures: Reorient or relocate the receiving antenna. Increase the separation between the equipment and receiver. Connect the equipment into an outlet on a circuit different from that to which the receiver is connected. Consult the dealer or an experienced radio/TVtechnician for help. Any changes or modifications not expressly approved by the manufacturer could void the user’s authority to operate the equipment. CAN ICES-005 (B).
LlMITED WARRANTY
This product is warrantied to be free from defects in workmanship and materials for up to 5 years from date of purchase. If the product fails within the warranty period, please visit feit.com/help for instructions on replacement/refund or call 866.326.BULB. REPLACEMENT OR REFUND IS YOUR SOLE REMEDY. EXCEPT TO THE EXTENT PROHIBITED BY APPLICABLE LAW, ANY IMPLIED WARRANTIES ARE LIMITED IN DURATION TO THE DURATION OF THIS WARRANTY. LIABILITY FOR INCIDENTAL OR CONSEQUENTIAL DAMAGES IS HEREBY EXPRESSLY EXCLUDED. Some states and provinces do not allow the exclusion of incidental or consequential damages, so the above limitation or exclusion may not apply to you. This warranty gives you specific legal rights, and you may also have other rights which vary from state to state or province to province.
WARNING: TURN OFF THE MAIN POWER ATTHE CIRCUIT BREAKER BEFORE NSTALL NG THE F XT RE N ORDER TO PREVENT POSS BLE ELECTR C SHOCK
INSTALLATION OPTIONS
Install fixture using included chain and V-hooks
- Install provided screw-hooks directly onto ceiling. Spacing between screws should be 47.28 inches (See Figure A). For concrete ceilings/drywalls, wall anchors are required. Drill two holes (use a 1/4 inch drill bit) for provided wall anchors then use provided screw hooks (See Figure 1).

- Attach chain to V-hooks then insert hooks into mounting holes located on endcap of the fixture (See Figure 2). Do this for both ends of fixture.

- Install fixture to ceiling by hanging the chain to pre-mounted screw-hooks on ceiling (See Figure 3).

- Plug in power-cord to outlet or connect to additional SHOP/4/HO/CCT/AG Shop Lights. 5. Zip tie cord to chain so that excess cord is kept out of the work space. (see Figure 4).

Install fixture flushmount using screws
- Install provided screws directly onto mounting surface. Spacing between screws should be 45.71 inches. Gap (D) should be .079-.099 inches. For concrete/drywall surfaces, wall anchors are required. Drill two holes (use a 1/4 inch drill bit) for provided wall anchors then use provided screws (See Figure 5).

- Install fixture to mounting surface by inserting the Key Holes on top side of the fixture into the mounting screws (See Figure 6). It may be necessary to adjust the tightness of the screws (Gap D). Make sure both screws hold the fixture securely on the narrow side of the Key Holes.

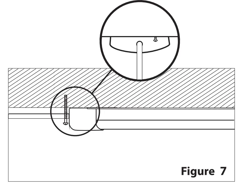
- Mount a third screw on the wired side (See Figure 7). If anchor is required, mark the hole as close as possible to the fixture, remove the fixture, drill the hole on the marked position, install anchor into the drilled hole, re-install the fixture then install the screw into the wall anchor. This will secure the fixture into place.

- Plug in power-cord to outlet or connect to additional SHOP/4/HO/CCT/AG Shop Lights.
Fixture Maintenance
- Please make sure the power is Off before maintenance.
- To avoid any damage to the product, please do not use any chemical solvents during the routine maintenance.
- To ensure better lighting, please clean the fixture regularly.
Getting Started
- Download the Feit Electric app on your smart device

- Plug in your Smart Wi-Fi Shop Light
Plug the Smart Wi-Fi Shop Light into any indoor receptacle.
WARNING: These products may represent a possible shock or fire hazard if improperly installed or attached in any way. Products should be installed in accordance with this install guide, current electrical codes and/or the current National Electric Code (NEC).
NOTE: If the Shop Light(s) is not blinking, turn the Shop Light(s) ON-OFF-ON-OFF-ON by using the plug, wall switch or slide switch (on the Shop Light). Constant power to the Shop Light(s) is required at all times. - Launch and use the Feit Electric app to complete the set up
Tap Add Device or the + sign, then select
Lighting Device and confirm. You will be prompted to enter your Wi-Fi network and password.
Be sure to connect to a 2.4 GHz Wi-Fi network that covers your installation location.
- (Optional) Connect to Google Assistant or Alexa using the in App guide

TROUBLESHOOTING TIPS
If you are having difficulty connecting:
- Make sure the Wi-Fi network is a 2.4 GHz network. Smart Wi-Fi Shop Light will not connect to a 5 GHz network.
- Test your Wi-Fi network with other devices such as your phone to make sure it is operating properly.
- The Wi-Fi connection may not have good coverage during set up. Try moving the Smart Wi-Fi Shop Light closer to your Wi-Fi router.
- Your Wi-Fi network password is case sensitive, make sure you ctivate Window are entering correctly. Jo to window to active
Please also check the App User Guide for more information

Need Help
Thank you for your purchase.
Questions, comments or feedback? Wy
We’d love to hear from you.
Visit feit.com/help for support or connect with us:
@FeitElectric![]()
@FeitElectricInc
feitelectriclighting![]()












NOTE: If the Shop Light(s) is not blinking, turn the Shop Light(s) ON-OFF-ON-OFF-ON by using the plug, wall switch or slide switch (on the Shop Light). Constant power to the Shop Light(s) is required at all times.




















