
IMPORTANT SAFETY INSTRUCTIONS AND INSTALLATION GUIDE
Rechargeable LED Ceiling Light with Motion Control 25 Watt Hours
READ BEFORE INSTALLATION
SAVE THESE INSTRUCTIONS
Questions, problems, missing parts? Before returning to the store,
call Feit Electric Customer Service
8 a.m. – 5 p.m., PST, Monday – Friday
1-866-326-BULB (2852)
FEIT.COM
We appreciate the trust and confidence you have placed in Felt Electric through the purchase of this Rechargeable Ceiling Light. We strive to continually create quality products designed to enhance your home. Visit us online to see our full line of products available for your home improvement needs.
Thank you for choosing Feit Electric.
Important Safety Information
Read and understand all Safety and Operating instructions in this manual before using this product. Follow all safeguards stated in this manual, in addition to normal safety precautions in working with electrical devices.
- Do not place near any heat source.
- To reduce the risk of electrical shock, do not put in water or other liquid. Do not place or store product where it can fall or be pulled into a tub or sink.
- Do not crush or incinerate.
- Do not insert foreign objects into this product
- To reduce the risk of fire, keep away from combustible materials while in operation.
- To reduce the risk of injury, close supervision is necessary when this product is used near children.
- Do not attempt to repair, disassemble or modify under any circumstances.
- Check for damage prior to each use of the product.
- LED’s are not replaceable.
This product uses permanent tape that may cause damage to the mounting surface. Felt Electric is not responsible for any damage to the mounting surface.
AWARNING: RISK OF SHOCK. House electric current can cause painful shock or serious injury unless handled properly
WARNING: Changes or modifications to this unit, not Aexpressly approved by the party responsible for compliance could void the user’s authority to operate the equipment.
SAVE THESE INSTRUCTIONS
FCC STATEMENT
This device complies with part 15 of the FCC Rules. Operation is subject to the following two conditions:
(1) This device may not cause harmful interference, and (2) this device must accept any interference received, including interference that may cause undesired operation.
Note: This equipment has been tested and found to comply with the limits for a Class B digital device, pursuant to part 15 of the FCC Rules. These limits are designed to provide reasonable protection against harmful interference in a residential installation. This equipment generates, uses, and can radiate radio frequency energy and, if not installed and used in accordance with the instructions, may cause harmful interference to radio communications. However, there is no guarantee that interference will not occur in a particular installation. If this equipment does cause harmful interference to radio or television reception, which can be determined by turning the equipment off and on, the user is encouraged to try to correct the interference by one or more of The following measures: Reorient or relocate the receiving antenna. Increase the separation between the equipment and receiver. Connect the equipment into an outlet on a circuit different from that to which the receiver is connected. Consult the dealer or an experienced radio/TV technician for help. Any changes or modifications not expressly approved by the manufacturer could void the user’s authority to operate the equipment.
Supplier’s Declaration of Conformity:
47 CFR § 2.1077 Compliance Information
Responsible Party:
Feit Electric Company
4901 Gregg Road,
Pico Rivera, CA 90660, USA
562-463-2852
Unique Identifier.
CM7.5/840/25/MOT/BAT
Limited Warranty
This product is warranted to be free from defects in workmanship and materials for up to 1 year from date of purchase. If the product fails within the warranty period, replacement or refund is your sole remedy. Except to the extent prohibited by applicable law, any implied warranties are limited in duration to the duration of this warranty. Liability for incidental or consequential damages is hereby expressly excluded. Some states and provinces do not allow the exclusion of incidental or consequential damages, so the above limitation or exclusion may not apply to you. This warranty gives you specific legal rights, and you may also have other rights which vary from state to state or province to province.
Pre-Assembly
SPECIFICATIONS
PRODUCT
| U5B | 5V |
| CRI | >80 |
| Lumens | 350 Im |
| CCT | 4000K |
| Life | 25,000 hrs |
| Working Time | 5 hours of continuous light |
| Charging Time | 8 hrs |
| Operating Temperature | During Charge: 32°F to 104°F During Discharge: 14°F to 122°F |
The performance specifications (lumens, watts, life, and CCT) should only be considered an approximation of expected performances.
6 NOTE: The light will turn red when charging and turns green when fully charged
PARTS INCLUDED
6 NOTE: Hardware not shown to actual size.


| Part | Description | Quantity |
| AA | 7.5 Inch LED Ceiling Light | 1 |
| BB | Micro-USB Charging Cable | 1 |
| CC | Mounting Screws | 2 |
| DD | Screw Anchors | 2 |
| EE | Metal Mounting Plate | 1 |
| FF | Double-Sided Adhesive | 1 |
LED Ceiling Light Installation with Screws
- Positioning the LED Ceiling Light
Find the desired place for the LED Ceiling Light and clean the area. Remove any dirt, dust, or other residues.
- Installing the Metal Mounting Plate
Position the Mounting Plate (EE) and screw in the Mounting Screws (CC).
For concrete surfaces and drywall, it is required to use included screw anchors (DD).
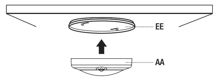
- Installing the LED Ceiling Light
Line up the LED Ceiling Light (AA) to the Mounting Plate (EE). Raise the LED Ceiling Light (M) to the Mounting Plate (EE) until the magnet attaches to the Mounting Plate (EE). Adjust the LED Ceiling Light (AA) until it sits properly in the Mounting Plate (EE).

LED Ceiling Light Installation with Double-Sided Adhesive
- Positioning the LED Ceiling Light
Find the desired place for the Ceiling Light and clean the area. Remove any dirt, dust, or other residues.
NOTE: Double-sided adhesive works best when used on a non textured flat surface - Attaching the Double Sided Adhesive Peel off the protective film from one side of the Double Sided Adhesive (FF)
Attach the Double-Sided Adhesive (FF) to the Mounting Plate (CC).
- Installing the Metal Mounting Plate
Peel off the other side of the adhesive (FF).
Position the Mounting Plate (EE) to the desired area. Press the Mounting Plate (EE) onto the surface and hold for 30 seconds to assure the Mounting Plate (EE) is held securely.
- Installing the LED Ceiling Light
Line up the LED Ceiling Light (AA) to the Mounting Plate (EE). Raise the LED Ceiling Light (AA) to the Mounting Plate (EE) until the magnet attaches to the Mounting Plate (EE). Adjust the LED Ceiling Light (AA) until it sits properly in the Mounting Plate (EE).
Operating Instructions
- Selecting a Function
ON — The sensor detects when there is motion and stays on for 3 minutes before it turns off.
OFF — The light will stay off. The sensor will not trigger regardless of motion.
- Charging the LED Ceiling Light
Connect the included micro USB to the charging port to recharge the built in battery. The Charging indicator light will turn red when charging and turn green when fully charged.

WWW.FEIT.COM
Please contact 1-866-326-BULB (2852) for further assistance.



Attach the Double-Sided Adhesive (FF) to the Mounting Plate (CC).
Position the Mounting Plate (EE) to the desired area. Press the Mounting Plate (EE) onto the surface and hold for 30 seconds to assure the Mounting Plate (EE) is held securely.


















