
Model: PF13/RND/4WY/WH
13 INCH WHITE ROUND PUFF FIXTURE
IMPORTANT SAFETY INSTRUCTIONS AND INSTALLATION GUIDE

READ BEFORE INSTALLATION
SAVE THESE INSTRUCTIONS
Questions, problems, missing parts? Before returning to the store, call Feit Electric Customer Service
8 a.m.- 5 p.m., PST, Monday – Friday
1-866-326-BULB (2852)
FEIT.COM
We appreciate the trust and confidence you have placed in Feit Electric through the purchase of this fixture. We strive to continually create quality products designed to enhance your home. Visit us online to see our full line of products available for your home improvement needs.
Thank you for choosing Feit Electric.
Safety Information
Please read and understand this entire manual before
attempting to assemble, operate or install the product.
For your safety, always remember to:
- Turn off the power supply at the fuse or circuit breaker box before you install the fixture.
- Ground the fixture to avoid potential electric shocks and to ensure reliable starting.
- Double-check all connections to be sure they are tight and correct.
- Wear rubber-soled shoes and work on a sturdy ladder.
This fixture is designed for use in a circuit protected by a fuse or circuit breaker. It is also designed to be installed in accordance with local electrical codes. If you are unsure about your wiring, consult a qualified electrician or local electrical inspector, and check your local electrical code.
Account for small parts and destroy packing material, as these may be hazardous to children.
SAVE THESE INSTRUCTIONS
CAUTION: TURN OFF THE MAIN POWER AT THE CIRCUIT BREAKER BEFORE INSTALLING THE FIXTURE, IN ORDER TO PREVENT POSSIBLE SHOCK.
GENERAL: All electrical connections must be in accordance with local and National Electrical Code (N.E.C.) standards. If you are unfamiliar with proper electrical wiring connections obtain the services of a qualified electrician.
Remove the fixture and the mounting package from the box and make sure that no parts are missing by referencing the illustrations on the installation instructions.
WARNING: RISK OF CUTS. Some metal parts in the fixture may have sharp edges. To prevent cuts and scrapes, wear gloves when handling the parts.
WARNING RISK OF SHOCK House electric current can cause painful shock or serious injury unless handled properly.
CAUTION: WIRING CONNECTIONS.
Required Supply Circuit: 120 V, 60 Hz
- Connect the white wire from the fixture to the white wire of the supply circuit.
- Connect the black wire from the fixture to the black wire of the supply circuit.
- Connect the green (or bare copper) colored wire to the grounding conductor of the supply circuit.
- Use U.L/ CSA listed wire connectors suitable for the size, type, and number of conductors.
- No loose strands or loose connectors should be present. Secure connectors with U.L / CSA listed electrical tape.
- Before starting the installation, disconnect the power by turning off the circuit breaker or by removing the fuse at the fuse box
Turning the power off using the light switch is not sufficient to prevent electrical shock.
Supplier’s Declaration of Conformity
47 CFR § 2.1077 Compliance Information
Responsible Party:Feit Electric Company 4901 Gregg Road, Pico Rivera, CA 90660, USA 562-463-2852
Unique Identifier: PF13/RND/4WY/WH
This device complies with part 15 of the FCC Rules. Operation is subject to the following two conditions: (1) This device may not cause harmful interference, and (2) this device must accept any interference received, including interference that may cause undesired operation. Note: This equipment has been tested and found to comply with the limits for a Class B digital device, pursuant to part 15 of the FCC Rules. These limits are designed to provide reasonable protection against harmful interference in a residential installation. This equipment generates, uses, and can radiate radio frequency energy and, if not installed and used in accordance with the instructions, may cause harmful interference to radio communications. However, there is no guarantee that interference will not occur in a particular installation. If this equipment does cause harmful interference to radio or television reception, which can be determined by turning the equipment off and on, the user is encouraged to try to correct the interference by one or more of the following measures: Reorient or relocate the receiving antenna. Increase the separation between the equipment and receiver. Connect the equipment into an outlet on a circuit different from that to which the receiver is connected. Consult the dealer or an experienced radio/TV technician for help. Any changes or modifications not expressly approved by the manufacturer could void the user’s authority to operate the equipment. CAN
ICES-005 (B).
Limited Warranty
This product is warranted to be free from defects in workmanship and materials for up to 5 years from the date of purchase. If the product fails within the warranty period, please contact Feit Electric at [email protected], visit feit.com/contact-us or call 1-866-326-BULB (2852) for instructions on replacement or refund. REPLACEMENT OR REFUND IS YOUR SOLE REMEDY. EXCEPT TO THE EXTENT PROHIBITED BY APPLICABLE LAW, ANY IMPLIED WARRANTIES ARE LIMITED IN DURATION TO THE DURATION OF THIS WARRANTY. LIABILITY FOR INCIDENTAL OR CONSEQUENTIAL DAMAGES IS HEREBY EXPRESSLY EXCLUDED. Some states and provinces do not allow the exclusion of incidental or consequential damages, so the above limitation or exclusion may not apply to you. This warranty gives you specific legal rights, and you may also have other rights which vary from state to state or province to province.
Retain this manual for future use.
Please Contact 1-866-326-2852 for further assistance
Pre-Assembly

HARDWARE INCLUDED
NOTE: Hardware not shown to actual size.

Part | Description | Quantity |
| AA | Fixture Plate | 1 |
| BB | Fixture Lens | 1 |
| CC | Mounting Screws | 2 |
| DD | Wire Connectors | 3 |
Installation
- Turning Off the Power
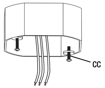
Turn the power OFF at the fusebox or the circuit breaker. The fixture must be grounded to avoid electrical shock and ensure reliable lamp starting. - Install the Fixture Mounting Screws
Make sure the wires are extending out from the J-Box. Install the fixture Mounting Screws (CC) onto the J-Box. Leave 1/4″ of the screw out.
- Connecting the Wires
Connect the green wire from the fixture to the green or bare copper ground (house) wire. If the junction box is grounded, you may fasten the ground wire directly to the junction box. Connect the white fixture wire to the neutral supply wire. Connect the black fixture wire to the power supply wire.
- Attaching and Securing the Wire Connectors
Screw the wire connectors (DD) onto the wire end connections. Wrap them with electrical tape (optional).
- Selecting the Desired Color Temperature
Select desired color temperature using the slide switch on the driver (3000K, 4000K, or 5000K) upon installation or select “SWITCH” to control by wall switch.
- Securing the Fixture Plate
Tuck the wires into the outlet box and position the Fixture Plate (AA) over the junction box. Align the Mounting Screws (CC) with the keyholes in the Fixture Plate (AA). Twist the Fixture Plate (AA) to the narrow side of the keyhole to lock it in place. Secure Fixture Plate (AA) in place by tightening the Mounting Screws (CC).
- Attaching the Fixture Lens
Attach the Fixture Lens (BB) to the Fixture Plate (AA). Secure by twisting in a clockwise motion.
Color Changing Instructions

NOTE: Note: Color Changing Switch is found inside of the fixture after removing the Fixture Lens.
The fixture is dimmable from 10% – 100%
PICK YOUR FAVORITE LIGHT COLOR BEFORE INSTALLING
- You can lock in one color temperature or change among multiple color temperatures, it will memorize the last color temperature and reset automatically.
- Soft White – Bright White – Daylight – Light Switch Marks on the lamp: SW-BW-DL-Switch.
- When the Slide switch is set to SW (Soft White), the color temperature is set at 3000K
- When the slide switch is set to BW (Bright White), the color temperature is set at 4000K.
- When the slide switch is set to DL (Daylight), the color temperature is set at 5000K.
- When the slide switch is set to “Switch”, the color temperature can be changed from
SW-BW-DL with your existing light switch.
ADJUST YOUR LIGHT COLOR ANYTIME WITH A REGULAR WALL LIGHT SWITCH
- To change color temperatures using your existing light switch:
A. Set the slide switch on the back of the fixture to “Switch”.
B. Toggle your light switches ON and OFF within 0.5-3 seconds to cycle through the 3 different color temperatures.
C. The fixture will remember the last color temperature selected after the fixture has been on a selected color temperature for 10 seconds and eventually turned off. To maintain the selected color, do not toggle switch as detailed in the prior step, but leave it off for 10 seconds.. The next time the fixture is turned on, the fixture will emit the last color temperature selected. - The reset function is used when using multiple color selectable lighting products operating from the same light switch. In the event that multiple fixtures are not displaying the same color at the same time, the fixture must be RESET using your existing light switch. Simply
toggle the wall switch ON and OFF 7 times, leaving it in the ON position for 1-second intervals. (Ex. with the fixture in the ON position, toggle the wall switch OFF then ON, leaving it ON for 1 second, then OFF then ON, leaving it ON for1 second. (Repeat 7 times)
Troubleshooting
| PROBLEM | POSSIBLE CAUSE | CORRECTIVE ACTION |
| The fixture will not operate. | 1. No power to fixture. 2. Fixture will not turn on. | 1. Verify that the circuit breaker is not tripped. 2. Verify that the fixture is wired properly. |
| Erratic operation. | 1. Radio interference. | 1. Move electronics away from fixtures or install a radio interference fitter. |
| The fixture will flicker or hum when dimmed. | 1. Fixture not compatible with dimmer. | 1. Increase light level. |
























