GOLDEN LIGHTING 9126-FM18 BLK-OP Matte Black Kieran 18 Inch Wide LED Flush Mount Bowl Ceiling Fixture Instruction Manual
Introduction
Pendants & Linear Pendants Above a Kitchen Island
Center a linear pendant over the island. If hanging pendants, use one pendant for every 24″ of island. Fixtures should hang at least 30″ above the countertop.
Pendants & Chandeliers Above a Dining Room Table
Fixtures should stay at least 30″ above the table. Use a fixture that is 12″ narrower than the width of the table.
Pendants and Chandeliers in Open Areas
The bottom should hang at least 7.5 feet from the floor. Allow clearance for any opening doors.
We appreciate your business and hope you love your new light!
Great lighting can add value and enhance the look of your home. To ensure the best lighting in your space, remember to layer your lighting. This ensures that your space will have both task and ambient lighting. Coordinating fixtures like sconces, flush mounts, and pendants can help you meet your layered lighting needs and reinforce your desired aesthetic. Install the lights with dimmers that allow you to control the level of light output at any given moment.
Get function and style! Browse our site for coordinating lights and expert
lighting advice. To help create the perfect look, visit www.GoldenLighting.com.
Love your light and want to show it off? Follow us, share a picture, and tag us on Social…
@GoldenLighting
@GLFixtures
@GoldenLighting1
@GoldenLighting
Assembly Instructions
How to Identify the Fixture’s Wires

Hot: Smooth, Black, or Transparent with Black Inner Thread
Neutral: Ribbed, White or Transparent with White Inner Thread
Ground: Copper, Bare Metal, Green, or Transparent Inner Thread
Scan Me
Get help, quick tips, and explore curated content
For Customer Service, contact the place of purchase to arrange for replacement parts.
IMPORTANT
- All installation work should be done by accredited professional.
- Shut off power supply at fuse or circuit breaker!
- Use only the specified bulbs. Do not exceed the maximum wattage!
Assembly Instructions:
PREPARING FOR INSTALLATION
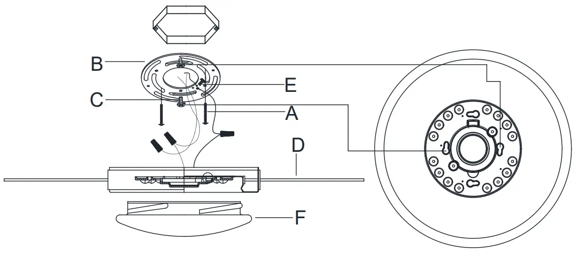
Carefully remove the new fixture from the carton as well as the yellow bag that holds all of the parts. See the important notes above. Shut off power at the circuit breaker and remove old fixture from wall, including the old mounting strap. 1. Mounting strap (B) contains several pairs of threaded holes. Hold canopy (D) up to mounting strap (B). Line up the holes in canopy (D) with the holes in mounting strap (B). Thread mounting screws (C) into mounting strap (B) in alignment with these holes as shown in the above diagram, as they will protrude from the mounting strap for later attachment to the canopy. Remove the canopy (D) for now and set aside for later. Place mounting strap (B) over the junction box and secure in place with mounting screws (A). Tighten the screws securely with a screwdriver. Pull the house wires through the center of mounting strap (B).
ASSEMBLING THE FIXTURE
No Assembly Required – This item arrives assembled and ready for installation. Please proceed to the next step.
CONNECTING THE WIRES
Have an assistant support the fixture’s weight while completing the wiring. Refer to the wiring diagram and attach the fixture’s wires to the power supply wires from the junction box. Attach the fixture’s wires to the power supply wires from the junction box. Connect Hot to Hot (transparent wire with black inner thread, black, or smooth wire) Neutral to Neutral (transparent wire with white inner thread, white, or ribbed wire), and Ground to Ground (transparent wire with green inner thread, green wire, or copper). Twist the ends of the wire pairs together, and then twist on a wire connector. Make sure all twists are in the same direction. If there is no house ground wire coming from the junction box, locate ground screw (E) on the mounting bracket/mounting strap and wrap the fixture’s ground wire around the ground screw. Use a screwdriver to tighten the top of ground screw (E) onto the wires and into the mounting bracket/mounting strap. Tuck the wires into the junction box.
FINISHING THE INSTALLATION
Lift canopy containing LED panel (D) up to the ceiling and align holes to fit over protruding mounting screws (C). Lift canopy (D) up over mounting screws (C) until the screw heads fit into the keyholes in the canopy (D) and you see the screw heads protrude through the canopy (D). To secure the canopy (D) to the mounting strap (B) twist the canopy (D) in the counter-clockwise direction so that the mounting screws (C) are fitted into the canopy (D) keyholes unti secure. Tighten the screws (C) securely with a screwdriver until secure. Twist glass (F) into the canopy (D) in thcounter-clockwise direction shown on the diagram above until secure. No light bulbs are needed as the LED panel contains the light source needed for illumination. Your installation is complete. Turn on the power and test the fixture.
















