GOLDEN LIGHTING 6958-1W-6958-SF Roxie 6 Inch Wide Semi-Flush Ceiling Fixture

Pendants & Linear Pendants Above a Kitchen Island

- Center a linear pendant over the island. If hanging pendants, use one pendant for every 24″ of island. Fixtures should hang at least 30″ above the countertop.
Pendants & Chandeliers Above a Dining Room Table

- Fixtures should stay at least 30″ above the table. Use a fixture that is 12″ narrower than the width of the table.
Pendants and Chandeliers in Open Areas

- The bottom should hang at least 7.5 feet from the floor. Allow clearance for any opening doors.
Assembly Instructions

For Customer Service, contact the place of purchase to arrange for replacement parts.
IMPORTANT
- All installation work should be done by accredited professional.
- Shut off power supply at fuse or circuit breaker!
- Use only the specified bulbs. Do not exceed the maximum wattage!
Assembly Instructions
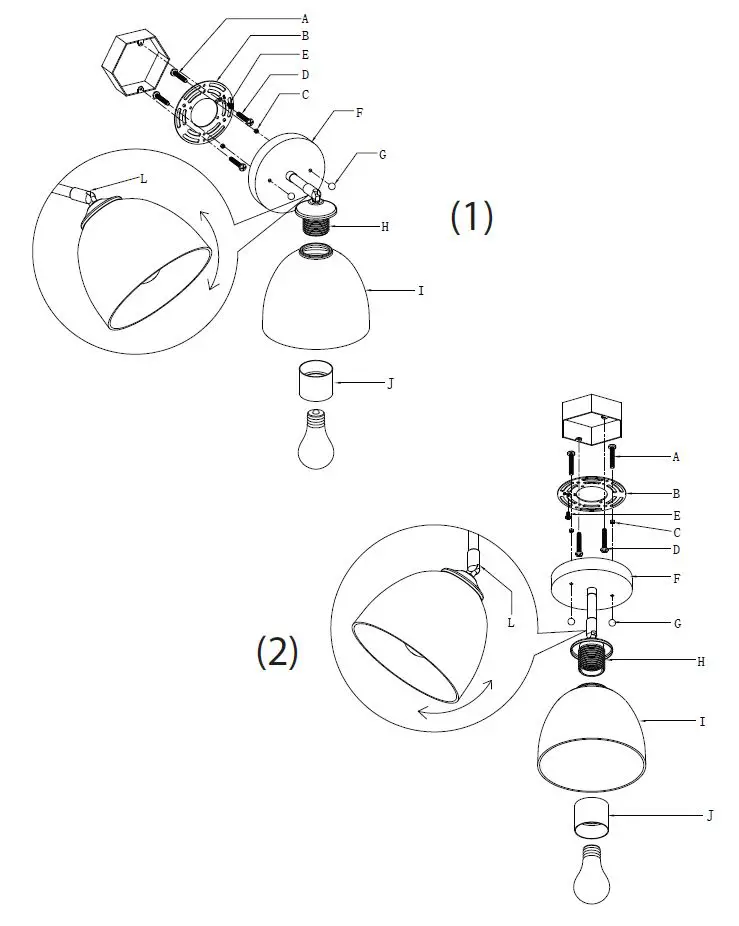
PREPARING FOR INSTALLATION
Carefully remove the new fixture from the carton as well as the yellow bag that holds all of the parts. See the important notes above. Shut off power at the circuit breaker and remove old fixture from wall, including the old mounting strap. Please Note: This fixture may be mounted on the wall (View 1) or ceiling (View 2). 1. Mounting strap (B) contains several pairs of threaded holes. Find the pair of holes that matches the spacing of the holes on the junction box and the backplate (F). Two sets of mounting screws (A & D) should be attached to mounting strap (B). You may need to tighten nuts (C) which hold mounting screws (A) in place. 2. Pull the house wires through the center of mounting strap (B). Secure mounting strap (B) to the junction box with mounting screws (D) and a screwdriver. Tighten the screws securely.
ASSEMBLING THE FIXTURE
No Assembly Required – This item arrives assembled and ready for installation. Please proceed to the next step.
CONNECTING THE WIRES
3. Have an assistant support the fixture’s weight while completing the wiring. Refer to the wiring diagram and attach the fixture’s wires to the power supply wires from the junction box. Attach the fixture’s wires to the power supply wires from the junction box. Connect Hot to Hot (transparent wire with black inner thread, black, or smooth wire) Neutral to Neutral (transparent wire with white inner thread, white, or ribbed wire), and Ground to Ground (transparent wire with green inner thread, green wire, or copper). Twist the ends of the wire pairs together, and then twist on a wire connector. Make sure all twists are in the same direction. If there is no house ground wire coming from the junction box, locate ground screw (E) on the mounting bracket/mounting strap and wrap the fixture’s ground wire around the ground screw. Use a screwdriver to tighten the top of ground screw (E) onto the wires and into the mounting bracket/mounting strap. Tuck the wires into the junction box.
FINISHING THE INSTALLATION
4. Place the backplate over the mounting strap (B) so that the mounting screws (A) protrude from the holes in the backplate (F). Thread deco nuts (G) onto the exposed threads of mounting screws (A) until the backplate (F) is snug against the wall. Lift metal shade (I) up and over the socket (H). Thread socket cover (J) onto the socket (H) to secure the shade (I) to the fixture. Install a light bulb (not included) into the socket (H) in accordance with the fixture’s specifications. Do not exceed the maximum recommended wattage. Move shade (I) at joint (L) to adjust the fixture to your preferred position on the wall or ceiling. Your installation is now complete. Turn on the power and test the fixture.


















