Westinghouse GS-26-FS1-WH22 Peterson 30 cm Two Light Outdoor Flush Mount Ceiling Fixture

Product Information
The product is a GS-26-FS41-WH22 outdoor light fixture. It is available with instructions in multiple languages, including English, Dutch, French, Italian, Spanish, Finnish, Danish, Polish, Russian, Ukrainian, Estonian, Latvian, Lithuanian, Slovak, Czech, Slovenian, Croatian, Hungarian, Bulgarian, Romanian, Greek, Turkish.
The fixture is designed to be mounted outdoors and requires electrical wiring for operation. It is essential to ensure proper wiring during installation to prevent electrical shock or injury. The fixture should not be installed if any of the components are damaged as this can lead to unsafe operation.
Product Usage Instructions
- Read all instructions and warnings in the user manual carefully before beginning any installation or use of the fixture.
- If you are unsure about any of the instructions or warnings, do not proceed with installation or use. Contact a qualified electrician for assistance.
- Ensure that the fixture is mounted securely and correctly to prevent it from falling or causing potential harm to people or property.
- Carefully follow the instructions for electrical wiring to ensure safe and proper operation of the fixture. Do not damage any electrical wiring, gas lines, or water lines while cutting or drilling into walls or ceilings.
- If any of the fixture or wiring components are damaged during installation or use, immediately stop using the fixture and contact the place of purchase for a replacement or repair.
- Regularly check the fixture for any damage or signs of wear and tear. If any issues are detected, immediately stop using the fixture and contact a qualified electrician for assistance.
WARNING: ELECTRICAL SHOCK CAN RESULT IN SERIOUS INJURY.
Read and follow instructions exactly as shown. If instructions are unclear, do not proceed. Contact a qualified electrician. Read all instructions before beginning. Proper wiring is essential for safe operation of this fixture. When cutting or drilling into walls or ceilings, do not damage electrical wiring, gas lines, or water lines. If any of the fixture or wiring components are dam-aged, do not install fixture. Return to place of purchase.
ASSEMBLY INSTRUCTIONS FOR INDOOR LIGHTING FIXTURE
Congratulations on your Westinghouse purchase. This fixture has been designed to give you many years of beauty and service. For questions and comments, please visit
www.westinghouselighting.eu/contact-us and www.westinghouselighting.de/contact-us
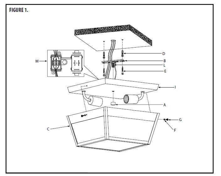
NOTE: Carefully unpack fixture and parts. Make sure all parts are included before discarding any packing materials (see figure 1).

MOUNTING AND WIRING INSTRUCTIONS
NOTE: Line art shown may not exactly match the fixture enclosed. However, the installation instructions do apply to this fixture.
CAUTION: For fixtures labeled for outdoor and wet location use, provide a water-tight seal between the fixture and the mounting surface by using silicone or similar caulking.
- Turn off power at circuit box to avoid possible electric shock.
- Place mounting bar (B) flush against ceiling at desired mounting location. Using side holes as a guide, mark where pilot holes are to be drilled.
- Inset two plastic anchors (D) into the pilot holes (for drywall ceiling).
- Align outside mounting bar holes with plastic anchors (D) (if applicable). Secure mounting bar (B) into place using wood screws (E).
- Make an electrical connection by loosening the terminal screws on the terminal block (M) and inserting the live, neutral and ground terminals.
- Tighten terminal screws. Make sure there are no stray wires.
- Raise canopy (I) to ceiling allowing mounting nipple (L) to protrude through opening in canopy (I) (see fig. 1).
- Secure canopy (I) into place with cap nut (A).
- Install lamp (not supplied). (Please do not exceed the maximum capacity recommended on the socket).
- Raise fixture cage (C) to canopy (I), lining up holes in canopy (I) with holes in fixture cage (C), and secure with washers (F) and screws (G).
- Turn power back on at circuit box.
CLEANING AND CARE
To clean, wipe fixture with soft cloth. Clean glass with mild soap. Spray from chemical cleaners can discolor the finish of fixture. Do not use scouring pads, powders, steel wool or abrasive paper to clean this fixture.
Meaning of crossed-out wheeled dustbin:
Do not dispose of electrical appliances as unsorted municipal waste, use separate collection facilities.
Contact you local government for information regarding the collection systems available.
If electrical appliances are disposed of in landfills or dumps, hazardous substances can leak into the groundwater and get into the food chain, damaging your health and well-being.
When replacing old appliances with new ones, the retailer is legally obligated to take back your old appliance for disposal at least free of charge.
Appliance specifications – TECHNICAL CHARACTERISTICS
| Rated voltage | 220-240V~ |
| Rated frequency | 50/60 Hz |
| Rated wattage | E27 2 x Max. 40W |
| Protection class | CLASS I |
| IP number | IP44 |
Distributed by:
Westinghouse Lighting, Krefelder Strasse 562
D-41066 Mönchengladbach / Germany
and Westinghouse are trademarks of Westinghouse Electric Corporation.
Used under license by Westinghouse Lighting All Rights Reserved.
Made in China
www.westinghouselighting.eu
www.westinghouselighting.de

















