Signature Hardware 440705 Heartleaf 3 Light 16 Inch Wide Semi-Flush Drum Ceiling Fixture 
BEFORE YOU BEGIN
We recommend consulting a professional if you are unfamiliar with installing electric fixtures. Signature Hardware accepts no liability for any damage to the faucet, plumbing, sink, or countertop, or for personal injury during installation.
Observe all local plumbing and building codes. Unpack and inspect the product for shipping damage. If any damage is found, contact our Customer Relations team via live chat at www.signaturehard-ware.com or by emailing [email protected] .
GETTING STARTED
Ensure that you have gathered all the required materials that are needed for the installation.
FOR YOUR SAFETY
WARNING: Be sure the electricity to the wires you are working on is shut off, either the fuse is removed or the circuit breaker is shut off. You don’t need special tools to install this fixture. Be sure to follow the steps in the order given. Under no circumstances should a fixture be hung on house electrical wires, nor should a swag type fixture be installed on a ceiling that contains a radiant-type heating system. Read instructions carefully, if you are unclear as to how to proceed, consult a qualified electrician.
TOOLS AND MATERIALS



INSTALLATION
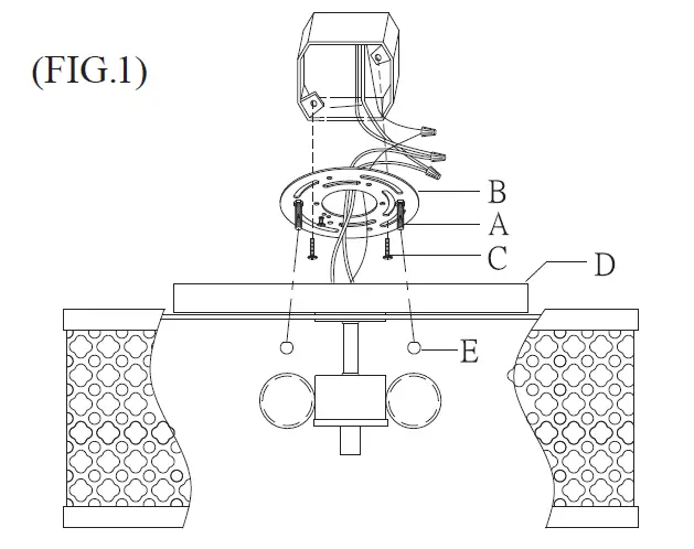
(FIG. 1)
- Thread the mounting screws(A) into the matching holes in the mounting plate (B).

- Secure the mounting plate (B) to the outlet box with outlet box screws (C).
- Connect the white wire from the fixture to the white wire from the outlet box and the black wire from the fixture to the black wire from the outlet box. Cover the two wire connections using the two provided wire connectors. Wrap the two wire connections with electrical tape for a more secure connection. Connect the copper ground wires from the fixture and from the outlet box to the ground screw on the circular strap.
Note: If you have electrical questions, consult your local electrical code for approved grounding methods. - After wires are connected, tuck them carefully inside outlet box. Raise the fixture pan (D) up to the outlet box and allow the mounting screws (A) to protrude through the mounting holes on fixture pan and secure with ball nut (E).
FIGURE 2 INSTALLATION; SECTION 2
- Install the bulbs (not included), please do not exceed the maximum wattage capacity recommended on the socket. We recommend the use of a clear light bulb.
- Thread the nipple (G) into the coupling (F) tightly, then put the steel washer (H), rubber washer (I), glass diffuser (J), rubber washer (I), and steel washer (H) over the nipple (G) in order and secure with hex nut (K). Put the cap (L) over the nipple (G) and lock with finial (M).
1.855.715.1800
signaturehardware.com























