HINKLEY 41805 13 Inch Wide Galerie Semi-Flush Ceiling

Mounting Instructions
Item No: 41805, 41806, 41807, 41808, 41809, 41810, 41905, 41906, 41907, 41908,41909, 41910
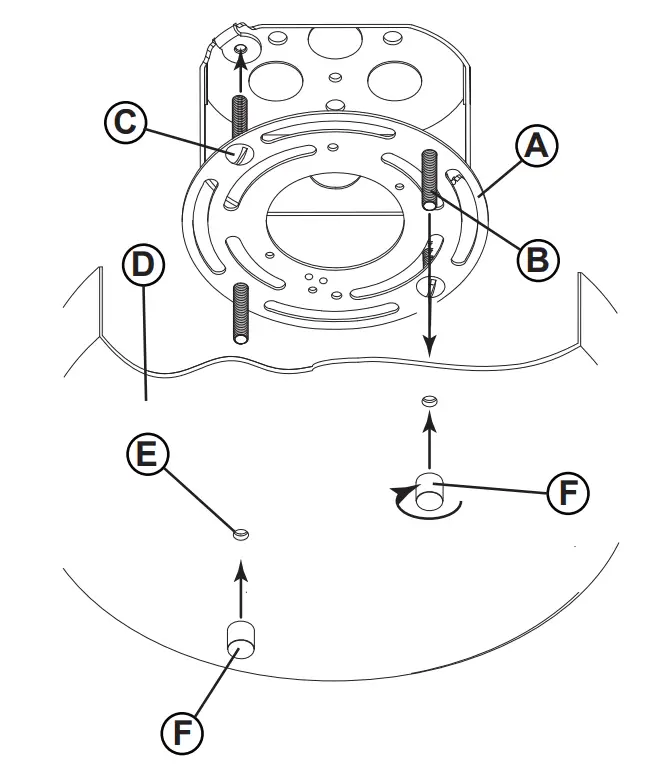
- To begin installation it will first be necessary to mount the main body to the junction box. This is accomplished by first preparing the mounting strap (A) for installation – see Drawing 1.
DRAWING 1 – MOUNTING
- Take mounting strap (A) and locate the two theaded holes (T) in the plate that are the same distance apart as the two holes (E) in the canopy (D) – see Drawing 2.
DRAWING 2 – MOUNTING
- Now take one of the long mounting screws (B), provided, and thread it into hole (T) from the back of the mounting strap.
NOTE: The front of the mounting strap has the head of the ground screw showing.
Thread the screws down until the head of the screw is approximately 1/8” above the mounting strap. After both screws are in place check to see if the screws will pass through holes (E) in the canopy (D). - Mounting strap (A) can now be attached to junction box (J). Use two 8-32 screws (C), 1” long, (NOT PROVIDED) or use the screws from the previous installation – see DRAWING 2.
- The body of the fixture can now be mounted to the Junction box. This is accomplished by first making all wiring connections following (instruction sheet IS-18) provided. Assistance my be required during this operation.
- After wiring is complete tuck wires into junction box and lift fixture up to ceiling and align holes (E) in canopy with screws (B) in mounting plate. Slip screws through holes and slip canopy up against the ceiling and hold in position.
- Now take barrel knobs (F) and thread them onto the end of screws (B) and tighten until canopy is tight against the ceiling.
Shade assembly
- To begin screw in threaded rod (R) to hex hickey in socket cluster (H) (See drawing 3)
DRAWING 3- Shade installation
- Then secure finial (T) to threaded rod (R)
- Next stack shade (S) on top of diffuser (D)
I.S. 18 Wiring grounding instructions
SAFETY WARNING: READ WIRING AND GROUNDING INSTRUCTIONS (IS 18) AND ANY ADDITIONAL DIRECTIONS. TURN POWER SUPPLY OFF DURING INSTALLATION. IF NEW WIRING IS REQUIRED, CONSULT A QUALIFIED ELECTRICIAN OR LOCAL AUTHORITIES FOR CODE REQUIREMENTS
Wiring instructions
Indoor Fixtures
- Connect positive supply wire (A) (typically black or the smooth, unmarked side of the two-conductor cord) to positive fixture lead (B) with appropriately sized twist on connector – see Drawings 1 or 2.
- Connect negative supply wire (C) (typically white or the ribbed, marked side of the two-conductor cord) to negative fixture lead (D).
- Please refer to the grounding instructions below to complete all electrical connections
Outdoor Fixtures
- Connect positive supply wire (A) (typically black or the smooth unmarked side of the two-conductor cord) to positive fixture lead (B) with appropriately sized twist on connector — see Drawings 2 or 3.
- Connect negative supply wire (C) (typically white or the ribbed, markedside of the two-conductor cord) to negative fixture lead (D).
- Cover open end of connectors with silicone sealant to form a watertight seal.
If installing a wall mount fixture, use caulk to seal gaps between the fixture mounting plate (backplate) and the wall. This will help prevent water from entering the outlet box. If the wall surface is lap siding, use caulk and a fixture mounting platform specially. - Please refer to the grounding instructions below to complete all electrical connections.
Grounding instructions
Flush Mount Fixtures
For positive grounding in a 3-wire electrical system, fasten the fixture ground wire (E) (typically copper or green plastic coated) to the fixture mounting strap (M) with the ground screw (S) – see Drawing 1. Note: On straps for screw supported fixtures, first install the two mounting screws in strap. Any remaining tapped hole may be used for the ground screw.
Chain Hung Fixtures
Loop fixture ground wire (E) (typically copper or green plastic coated) under the head of the ground screw (S) on fixture mounting strap (M) and connect to the loose end of the fixture ground wire directly to the ground wire of the building system with appropriately sized twist-on connectors – see Drawing 2.
Post-Mount Fixtures
Connect fixture ground wire (E) (typically copper or green plastic coated) to power supply ground with appropriately sized twist-on connector inside post. Cover open end of connector with silicone sealant to form a watertight seal – see Drawing 3.
Drawing 1 – Flush Mount
Drawing 2 – Chain Hung
Drawing 3 – Post-Mount
Replacement parts


41805
41806
41807
41808
41809
41810


















