Honeywell WRL-xC-I05 Wall Mounted Loop Powered Addressable Strobes

Product Information
The EN54-23 W Class Wall Mounted Loop Powered Addressable Strobes are designed for visual alarm notification in fire detection and fire alarm systems. There are two models available:
- WRL-xC-I05: Strobe Isolation Red Flash
- WWL-xC-I05: Strobe Isolation White Flash
These strobes are standard performance wall-mounted devices. The body color is denoted by x, where P stands for Pure White and R stands for Red. The product is designed to be installed on a flat wall using the B501AP mounting bracket.
The B501AP includes a continuity spring between terminals 2 and 4, allowing for easy field wiring continuity testing. The strobe can be connected to the appropriate terminals, and for surface mount wiring, the cable can enter the B501AP via the breakouts provided.
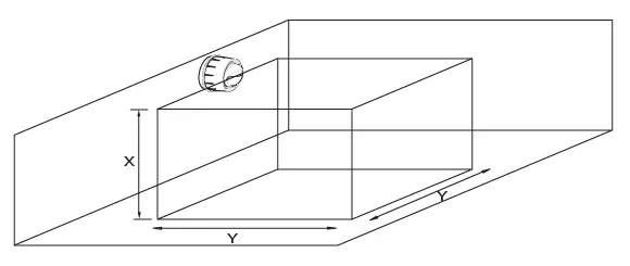
The product has address settings that can be adjusted using switches 1 and 2. The coverage data for the strobes is as follows:
| Led | Red | White |
|---|---|---|
| Voltage | 15-29V | 15-29V |
| X (Max) | 3.6m | 2.4m |
| Y (Max) | 10.5m | 10.5m |
The dimensions of the strobes are 121mm (width) and 85mm (height). The product operates on a voltage range of 15 to 29VDC, with a maximum current consumption of 11mA at 24VDC. The maximum power consumption is 264 mW. The operating temperature range is specified as Co, and the terminal size has an IP rating of IP21C.
The product complies with EN54-23:2010 and EN54-17:2005 standards for fire detection and fire alarm systems.
Product Usage Instructions
- Affix the B501AP mounting bracket to a suitable flat wall.
- Terminate the cable to the appropriate terminals on the B501AP. For surface mount wiring, use the breakouts provided.
- Scan the provided barcode to ensure correct fitting to the wall.
- Before inserting the device, check the continuity of the field wiring using the continuity spring between terminals 2 and 4. Inserting the device will disengage the spring, while removing the device will close the loop.
- Refer to the address settings section to adjust the strobe’s address using switches 1 and 2.
- Ensure that the product is fitted in the correct orientation.
- For information on releasing the anti-tamper feature, scan the provided QR code.
- Refer to the coverage data table for information on the maximum coverage distances for both red and white strobes.
- Follow applicable laws and regulations for proper disposal of the product when no longer in use.
If you have any technical inquiries or require further assistance, please contact KAC Alarm Company Limited at [email protected] or visit their website at www.kac.co.uk.
MODELS
- WRL-xC-I05 = Strobe Isolation Red Flash
- WWL-xC-I05 = Strobe Isolation White Flash
Standard performance Wall Mounted Strobe
- x = Denotes body colour
- (P – Pure White, R – Red)

GENERAL
- The range is used in analogue addressable fire alarm systems.
- These devices must only be connected to control panels that use a compatible proprietary analogue addressable communication protocol.
- These devices receive their power from the loop, and can be controlled via the communication protocol(s).
- Note: if the control equipment is not capable of taking over 99 module addresses, a fault condition will be generated for every address over 99.
- For isolator specification refer to document S00-7400 available on request.
INSTALLATION/PRODUCT ORIENTATION
Affix B501AP to a suitably flat wall. Terminate the cable to the appropriate terminals. For surface mount wiring the cable can enter the B501AP via the break outs provided.
Make sure the product is fitted in the correct orientation!
Scan the barcode below to see the correct fitting to the wall:

CONTINUITY SPRING
The B501AP incorporates a continuity spring between terminals 2 and 4. This allows the continuity of the field wiring to be checked without the need for the device to be present. Inserting the device will disengage the spring. Removing the device will close the loop.

TERMINAL CONNECTIONS

ANTI TAMPER RELEASE
IMPORTANT: Follow the instruction strictly:
- Insert a flat screwdriver
- Lever the screwdriver down and twist the device anticlockwise.
- Remove the screwdriver to unlock the device.

For a full video on how to release the anti-tamper feature please scan the QR code:

Address settings

To set one of the 159 available addresses for the device use the two rotay switches located either side of the dip switch unit. The `tens` digits goes from 0 to 15 and the `units` from 0 to 9. *100 – 159 Only available with advanced protocol.
Coverage data
| EN 54-23 | Led | V | X (Max) | Y (Max) | V (m ³) |
| W-3.6-10.5 W-2.4-10.5 | RED | 15-29V | 3.6m 2.4m | 10.5m 10.5m | 397 265 |
| W-3.8-9 W-2.4-9 | WHITE | 15-29V | 3.8m 2.4m | 9m 9m | 308 194 |


This symbol on our product shows a crossed-out “wheelie-bin” as required by law regarding the Waste of Electrical and Electronic Equipment (WEEE) disposal. This indicates your responsibility to contribute in saving the environment by proper disposal of this Waste i.e. Do not dispose of this product with your other wastes.
To know the right disposal mechanism please check the applicable law.
![]() |
| Morley IAS by Honeywell, Pittway Tecnologica Srl, Via Caboto 19/3, 34147 Trieste, Italy DOP051 |
| EN54-23:2010 Fire detection and fire alarm systems – Visual Alarm Devices EN 54-17:2005 Fire detection and fire alarm systems – Short-circuit isolators. W*L-*C-I05 |
Dimensions

KAC ALARM COMPANY LIMITED, Honeywell House, Skimped Hill Lane, Bracknell, Berks, RG12 1EB.
T.02034091779 E. [email protected] W. www.kac.co.uk.




















