
ROWING MACHINE
OWNER’S MANUAL

IMPORTANT SAFETY NOTICE
Note the following precaution before assembling or operating the machine
- Assemble the machine exactly as the descriptions in the instruction manual.
- Check all the screws, nuts, and other connections before using the machine for the first time and ensure that the trainer is in a safe condition.
- Set up the machine in a dry level place and leave it away from moisture and water.
- Place a suitable base (e.g. rubber mat, wooden board, etc.) beneath the machine in the area of assembly to avoid dirt and etc.
- Before beginning training, remove all objects within a radius of 2 meters from the machine.
- Do not use aggressive cleaning articles to clean the machine, only use the supplied tools or suitable tools of your own to assemble the machine or repair any parts of the machine. Remove drops of sweat from the machine immediately after finishing training.
- Your health can be affected by incorrect or excessive training. Consult a doctor before beginning the training program. He can define the maximum setting (Pulse. Watts. Duration of training etc) to which you may train yourself and can get precise information during training. This machine is not suitable for therapeutic purposes.
- Only do training on the machine when it is in a correct working way. Use only original spare parts for any necessary repairs.
- This machine can be used for only one person’s training at a time.
- Wear training clothes and shoes that are suitable for fitness training with the machine. Your training shoes should be appropriate for the trainer.
- If you have a feeling of dizziness, sickness or other abnormal symptoms, please stop training and consult a doctor immediately.
- People such as children and handicapped persons should only use the machine in the presence of another person who can give aid and advice.
- The power of the machine increases with increasing speed, and the reverse. The machine is equipped with an adjustable knob that can adjust the resistance.
- The maximum user’s weight is 120kg.
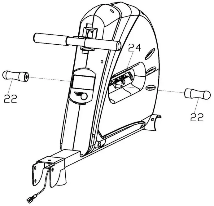
EXPLODED DIAGRAM

PARTS LIST
| No. | Description | Q’ty | No. | Description | Q’ty |
| 1 | Main frame | 1 | 29 | Plug | 2 |
| 2 | Front stabilizer | 1 | 30 | Handlebar | 1 |
| 3 | End cap | 4 | 31 | Foam grip | 2 |
| 4 | Bolt M8x65 | 2 | 32 | Rope | 1 |
| 5 | Curved washer d8x1.5x020xR30 | 2 | 33 | Bolt | 1 |
| 6 | Spring washer D8 | 6 | 34 | Bolt M10x80 | 1 |
| 7 | Nut M8 | 2 | 35 | Sensor wire | 1 |
| 8 | Bolt cp12.5x155xM12x16 | 2 | 36 | Extended wire | 1 |
| 9 | Washer D13xcp26x2 | 2 | 37 | Washer D10xcp20x1.5 | 2 |
| 10 | Pedal | 2 | 38 | Nut M10 | 1 |
| 11 | Screw ST4.2×18 | 10 | 39 | End cap | 1 |
| 12 | Computer | 1 | 40 | Adjustable foot pad | 1 |
| 13L/R | Chain cover | 2 | 41 | Cushion pad | 2 |
| 14 | Bolt M8x62 | 4 | 42 | Sensor | 1 |
| 15 | Washer D8xcp19x1.5 | 19 | 43 | Screw ST3x10 | 2 |
| 16 | Bushing cp12xcp8x8.5 | 4 | 44 | End cap | 1 |
| 17 | Bearing 608 | 16 | 45 | Rail tube | 1 |
| 18 | Wheel | 2 | 46 | Screw M8x16 | 4 |
| 19 | Idler wheel | 2 | 47 | Rear support frame | 1 |
| 20 | Fixed sleeve | 1 | 48 | Bolt M6x15 | 4 |
| 21 | Nylon nut M8 | 7 | 49 | Spring washer D6 | 4 |
| 22 | Handlebar | 2 | 50 | Washer D6 | 4 |
| 23 | End cap | 3 | 51 | Saddle post | 1 |
| 24 | Axle M10xcp12x95 | 1 | 52 | Saddle | 1 |
| 25 | Bearing cp32xcp12x11 | 2 | 53 | Bolt M8x90 | 3 |
| 26 | Wheel | 1 | 54 | Wheel | 6 |
| 27 | U-shaped washer | 1 | 55 | Bushing 912x98x20 | 3 |
| 28 | Rope lock | 2 | 56 |
Step 1:
Fix the handlebar (22) to the axle (24).

Step 2:
Fix the rear stabilizer (2) to the main frame (1) with bolt (4) 、 curved washer (5) 、spring washer (6) and nut (7).
Step 3:
Fix the pedals (10) to the main frame (1) with bolts (8) and washers (9).
Step 4:
A : Fix the saddle (52) to the saddle post(51)with screws (48) 、spring washers (49) and washers (50).

Step 5:
Connect the extended wire (36) to the sensor wire (35), and then fix the rail tube (45) to the main frame (1) with bolts (34)、 washers (37) and nuts (38). And then fix the bolt (33) and the washer (15) to the main frame (1).

Step 6:
The rowing machine is foldable. Before folding the machine, please take the bolt (33) and washer (15) down. You can fix the folded machine by the bolt (33) and washer (15) as below.


















