inSPORTline 1979 Rowing Machine

Product Information
- Flywheel weight: 6 kg
- Resistance control: Manual
- Resistance level: 8
- Travel length: 111 cm
- Braking system: Magnetic
- Transport wheels: Yes
- Chest strap receiver: yes, for unencrypted analog 5kHz signal recommended Polar T34 (range 4 m, without the possibility of replacing the battery) or Sigma 5kHz (range 1 meter, with the possibility of replacing the battery)
- Folding frame: Yes
- Total dimensions (unfolded): d 175 x s 51 x v 75 cm
- Folded dimensions: d 85 x s 51 x v 118 cm
- Maximum user height: 195 cm
- Maximal load capacity: 120 kgCRN: 26847264 VAT ID: CZ26847264
- Phone: +420 556 300 970
- E-mail: [email protected] [email protected] [email protected]
- Web: www.inSPORTline.cz
- Weight: 25 kg
- Power source: Battery HC (according to EN957)
- Category: Home use
Product Usage Instructions
Assembly Materials and Tools
- Hex key 6 mm
- Multi wrench + Phillips screwdriver
- Long Phillips screwdriver
Product Assembly Steps
Step 1:
Place the front stabilizer (3) from below on the main frame and fasten it with M10 * 52 screws (39) and OD20 * ID10.5 * 2.0T flatwashers (48).
Step 2:
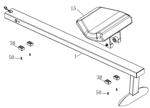
Remove the 4x M8 * 25 bolts (50) and the 4x stops (38) from the rail (1). Slide the seat (15) onto the rail (1) and secure it with 4x M8 * 25 screws (50) and 4x stops (38).
Step 3:
Insert the pedal shaft (20) through the hole in the main frame. On both sides, slide the spacer roller (9), the flat washer OD22 * ID13 * 2.0T (43), the corresponding pedal (10L – right / 10R -left), the flat washer OD22 * ID8.5 * 2.0T (45) onto the pedal axis.), M8 spring washer (46) and M8 nut (47). Tighten the nuts properly.
Step 4:
Insert the treads (6) into the holders and secure them with the pins (54).
Product Console Functions
MODE button:
Press the button to select the display function. Hold down the button for 2 seconds to reset all functions.
Functions
- SCAN: When SCAN mode is selected, the console will automatically display the functions of time, number of pulls, total number of pulls, calories, number of pulls per minute. Each function is displayed for 6 seconds.
- TIME: displays the training time
- COUNT: displays the number of pulls per training
- TOTAL COUNT: displays the total number of pulls
- CALORIES: Displays the approximate number of calories burned
- COUNT/MIN: Displays the number of pulls per minute
- PULSE RATE: Use the MODE button to select PULSE and fasten the chest strap (we recommend Polar T34 range 4 m, without the possibility of battery replacement or Sigma 5kHz range 1 meter,with the possibility of battery replacement).
SAFETY INSTRUCTIONS
- Read this manual carefully before first using and retain it for future reference.
- Observe all warnings and precautions including assembly steps. Use it only for intended purpose.
- Assemble and use it only according to this manual to assure your safety. Inform all other users about safe usage.
- Keep it away from children and pets. Don’t let children unattended near this device. Only an adult person may assemble and use it.
- Ask your physician for advice before starting any exercise program. It is especially necessary if you suffer from some health problems or if you take some medication that could affect your heart rate, blood pressure or cholesterol level.
- Observe body signals. If you feel some problems (pain, tightness in chest, irregular heartbeat, breathing shortness, dizziness or nausea), stop immediately. Improper exercising can result in serious health problems or in an injury.
- Put it only on a flat, dry and clean surface and keep a safety clearance of at least 0.6 m from other objects for higher safety. Use a protective cover to protect carpet or floor.
- Wear adequate sports clothes and sports shoes. Avoid too loose clothes.
- Don’t use it outdoors.
- Check this device for damage or wearing before each using. Regularly check all bolts and nuts. They should be well tightened. Re-tighten, if necessary. Never use damaged or worn device to assure your safety.
- If some sharp edges occur, stop using.
- If you hear some unusual noises coming from this device, stop using.
- No adjustable part should protrude and obstruct user movements. Only one person may use it at time.
- It is not intended for therapeutic purpose.
- Pay attention while lifting or transporting it to avoid back injury. Use only proper lifting techniques or ask some other person for help.
- Don’t do any improper modification of this product. If necessary, contact authorized service.
- Weight limit: 120 kg
- Category: HC according to EN 957 for home use
- WARNING! The heart rate frequency monitoring may not be completely accurate. Overexertion during training can lead to a serious injury or even death. If you start to feel faint, stop the exercise immediately.
TECHNICAL DESCRIPTION
| Flywheel weight | 6 kg |
| Resistance control | Manual |
| Resistance level | 8 |
| Travel length | 111 cm |
| Braking system | Magnetic |
| Transport wheels | Yes |
| Chest strap receiver | yes, for unencrypted analog 5kHz signal recommended Polar T34 (range 4 m, without the possibility of replacing the battery) or Sigma 5kHz (range 1 meter, with the possibility of replacing the battery) |
| Folding frame | Yes |
| Total dimensions | d 175 x š 51 x v 75 cm |
| Folded dimensions | d 85 x š 51 x v 118 cm |
| Maximum user height | 195 cm |
| Maximal load capacity | 120 kg |
| Weight | 25 kg |
| Power source | Battery |
| Category | HC (according to EN957) |
| Use | Home |
ASSEMBLY MATERIAL AND TOOLS
Rozbalt all the parts and put them in the empty place and check if you have all the necessary parts. Do not remove the balic material until you have the rowing trainer completely assembled. For easier assembly, please read the picture carefully to identify the parts and parts.

ASSEMBLY
Before assembling the device, check the diagram below to be able to carry out the assembly correctly according to the numbering of the individual parts.
PARTS
| No. | Name and specifications | Qty. | No. | Name and specifications | Qty. |
| 1 | Rails | 1 | 45 | Flat washer OD22 * ID8.5 * 2.0T | 2 |
| 2 | Main frame | 1 | 46 | Spring washer M8 | 2 |
| 3 | Front stabilizer | 1 | 47 | M8 nut | 2 |
| 6 | Metal deck | 2 | 48 | Flat washer OD20 * ID10.5 * 2.0 | 2 |
| 9 | Spacer | 2 | 50 | Screw M8 * 25 | 4 |
| 10 | Pedal | 2 | 51 | Nut M12 * 1.75 | 1 |
| 15 | Seat | 1 | 52 | Nut cover 1/2 | 1 |
| 21 | Hand knob | 1 | 54 | Screw | 2 |
| 38 | Seat stopper | 4 | 55 | Safety pin | 1 |
| 39 | Screw M10 * 52 | 2 | 58 | Sensor cable – top | 1 |
| 42 | Screw 1/2 * 100 | 1 | 59 | Sensor cable – bottom | 1 |
| 43 | Flat washer OD22 * ID13 * 2.0T | 2 | 63 | Flat washer OD32 * ID13.5 * 2.0T | 1 |
| 44 | Self-locking nut 1/2 | 1 | 65 | Pedal strap | 2 |
STEP 1
Place the front stabilizer (3) from below on the main frame and fasten it with M10 * 52 screws (39) and OD20 * ID10.5 * 2.0T flat washers (48).
STEP 2
Remove the 4x M8 * 25 bolts (50) and the 4x stops (38) from the rail (1). Slide the seat (15) onto the rail (1) and secure it with 4x M8 * 25 screws (50) and 4x stops (38).
STEP 3
Remove 1x 1/2 * 100 bolt (42), 2x OD22 * ID13 * 2.0T flat washers (43), 1x 1/2 self-locking nut (44) and 1x 1/2 nut cap (52) from the main frame. Connect cables (58) and (59).
Insert the rail (1) into the main frame (2), insert the locking pin (55) and secure the rail in the frame with 1x screw 1/2 * 100 (42), 2x flat washers OD22 * ID13 * 2.0T (43), 1x self-locking nut 1/2 (44) and cover the nut with the cap (52).
Finally, fasten the rail in the frame with the hand knob (21), nut M12 * 1.75 (51) and flat washers OD32 * ID13.5 * 2.0T (63).
STEP 4
Insert the pedal shaft (20) through the hole in the main frame. On both sides, slide the spacer roller (9), the flat washer OD22 * ID13 * 2.0T (43), the corresponding pedal (10L – right / 10R – left), the flat washer OD22 * ID8.5 * 2.0T (45) onto the pedal axis.), M8 spring washer (46) and M8 nut (47). Tighten the nuts properly.
STEP 5
Pull the locking pins (54) out of the front stabilizer (3), insert the treads (6) into the holders and secure them with the pins (54).
CONSOLE
MODE button
Press the button to select the display function
Hold down the button for 2 seconds to reset all functions
FUNCTIONS
- SCAN: When SCAN mode is selected, the console will automatically display the functions of time, number of pulls, total number of pulls, calories, number of pulls per minute. Each function is displayed for 6 seconds.
- TIME: displays the training time
- COUNT: displays the number of pulls per training
- TOTAL COUNT: displays the total number of pulls
- CALORIES: Displays the approximate number of calories burned
- COUNT/MIN: Displays the number of pulls per minute
- PULSE RATE: Use the MODE button to select PULSE and fasten the chest strap (we recommend Polar T34 range 4 m, without the possibility of battery replacement or Sigma 5kHz range 1 meter, with the possibility of battery replacement).
- AUTOMATIC SHUTDOWN: If the trainer does not detect any signal for 4 minutes, it will turn off.
SPECIFICATIONS
|
FUNKCE | AUTO SCAN | Every 6 seconds |
| TIME | 0:00 – 99:59 (min : seconds) | |
| COUNT | 0 – 9999 | |
| TOTAL COUNT | 0 – 9999 | |
| COUNT/MIN | 0 – 1200 | |
| CALORIES | 0 – 9999 Kcal | |
| PULSE | 40 – 240 BPM | |
| BATTERY TYPE | 2x AA or UM-3 batteries | |
| OPERATING TEMPERATURE | 0°C – +40°C | |
| STORAGE TEMPERATURE | -10°C – +60°C | |
WARM UP
Regular exercise begins with warming up and ends with rest exercises. The warm-up should prepare the body for the subsequent load. Rest exercises should then prevent muscle injuries and cramps. Perform warm-up and rest exercises according to the table below.
Toes on the toes
Lean forward. Keep your back and arms relaxed and lean forward to your toes. Hold in position for 15 seconds. Bend your knees slightly.
Upper thighs![]()
Lean against the wall with one hand. Put your other hand behind you and grab your foot. Pull him to your buttocks. Hold for 30 seconds and repeat with the other leg.
Knees
Sit down and stretch your right leg. Place the sole of the left foot to the right inner thigh. Stretch your right arm to the tip of the outstretched leg. Hold for 15 seconds and release. Repeat also with the left foot.
Inner thighs
Sit on the floor with your toes together. The knees are pointing outwards. Pull your feet to your groin. Push your knees down. Hold for 30-40 seconds if possible.
Calf and Achilles tendons
Lean against the wall with one foot back and arms forward. Tighten your right foot and leave your left foot on the ground. Bend your left leg and push forward by pushing your hips towards the wall. Hold for 30 – 40 seconds. Keep your legs taut and repeat with the other leg.
The Exercise Phase
This is the stage where you put the effort in. After regular use, the muscles in your legs will become more flexible. Work at your own pace but be sure to maintain a steady tempo throughout. The rate of work should be enough to raise your heartbeat into the target zone shown on the graph below.
Cooling-Down Phase
This stage is to let your cardio-vascular system and muscles wind down. This is a repeat of the warm-up phase. First, reduce your tempo and continue at this slower pace for approximately 5 minutes before you get off your Exercise Bike. The stretching exercises should now be repeated, again remembering not to force or jerk your muscles into the stretch.
As you get fitter you may need to train longer and harder. It is advisable to train at least three times a week, and if possible, to space your workouts evenly throughout the week.
MUSCLE TONING
To tone muscle while exercising you will need to have the resistance set quite high. This will put more strain on our leg muscles and may mean you cannot train for as long as you would like. If you are also trying to improve your fitness you need to alter your training program. You should train as normal during the warm up and cool down phases, but towards the end of the exercise phase you should increase resistance making your legs work harder. You will have to reduce your speed to keep your heart rate in the target zone.
WEIGHT LOSS
The important factor here is the amount of effort you put in. The harder and longer you work the more calories you will burn. This is effectively the same as if you were training to improve your fitness, the difference being the goal.
Basic exercise
- Sit on the saddle and fasten your feet to the pedals using the Velcro straps. Then take hold of the rowing bar.
- Take up the starting position, leaning forward with your arms straight and knees bent as shown in (Pic 1).
- Push yourself backwards, straightening your back and legs at the same time (Pic 2).
- Continue this movement until you are leaning slightly backwards, during this stage you should bring your arms out of the side. (Pic 3). Then return to stage 2 and repeat. See attached.

Training Time
Rowing is a strenuous form of exercise, because of this it is best to start with a short, easy exercise programmed and build up to longer and harder workouts. Start rowing for about 5 minutes and as you progress, increase the length of your work out to match your improving level of fitness. You should eventually be capable of rowing for 15-20 minutes, but do not try to achieve this too quickly.
Try to train on alternate days, 3 times a week. This gives your body time to recover between workouts.
Alternate Rowing Styles.
Arms Only Rowing
This exercise will tone muscles in your arms, shoulders, back and stomach. Sit as shown in Pic 4 with your legs straight, lean forward and grasp the handles. In a gradual and controlled manner lean back to just past the upright position continuing to pull the handles towards your chest. Return to the starting position and repeat. See attached.
Legs Only Rowing
This exercise will help tone muscles in your legs and back. With your back straight and arms out stretched, bend your legs until you are grasping the rowing arm handles in the starting position, Pic 7. Use your legs to push your body back whilst keeping your arms and back straight
HOW TO EXERCISE
Phase of right rowing to strengthen specific muscles:
- Stroke (Lower Muscle Exercise): Bend your knees and stretch your arms. Grasp the handle and keep your back straight (Pic 01).
- Movement (center muscles): Reflect the legs and bend the arms (Pic 02).
- End (upper body muscles): Take your back and legs tight. Hold your wrists straight and pull the handle (Pic 03).
- Training the four-headed femoral muscle (Pic 04).
- Muscle training on arms (Pic 05).
- Practice of back and abdominal muscles (Pic 06)

MAINTENANCE
- Cleaning: Use a soft cloth and gentle cleaner to clean the product.
- Do not use abrasives or solvents on plastic parts.
- Wipe the sweat after each use.
- Protect your computer from moisture to avoid damaging the electronics.
- Protect machine and computer from direct sunlight.
- Check all screws and correct tightening of the pedals at least once a week. Tighten if necessary.
- Store in a dry and clean place. Keep away from children.
STORAGE
Keep the rowing machine in a clean and dry environment. Make sure the power switch is turned off and the rowing machine is not plugged into the power socket.
IMPORTANT NOTICE
- This rowing machine comes with standard safety regulations and is only suitable for home use. Any other use is prohibited and may be dangerous to users. We are not responsible for any injury caused by improper and forbidden use of the machine.
- Consult your doctor before starting training on the rowing machine. Your doctor should evaluate whether you are physically fit to use the machine and how much effort you are able to undergo. Incorrect exercise or switching of the body can harm your health.
- Carefully read the following tips and exercises. If you experience pain, nausea, breathing, or other health problems during exercise, immediately stop the exercise. If the pain persists, contact your doctor immediately.
- This rowing machine is not suitable as a professional or medical purpose. It can also not be used for healing purposes.
- The heart rate monitor is not a medical device. It provides only approximate information about your average heart rate, and any suggested pulse rate is not medically binding. Accumulated data may not always be accurate regarding uncontrollable human and environmental factors.
ENVIRONMENT PROTECTION
After the product lifespan expired or if the possible repairing is uneconomic, dispose it according to the local laws and environmentally friendly in the nearest scrapyard.
By proper disposal you will protect the environment and natural sources. Moreover, you can help protect human health. If you are not sure in correct disposing, ask local authorities to avoid law violation or sanctions.
Don’t put the batteries among house waste but hand them in to the recycling place.
WARRANTY
TERMS AND CONDITIONS OF WARRANTY, WARRANTY CLAIMS
General Conditions of Warranty and Definition of Terms
All Warranty Conditions stated hereunder determine Warranty Coverage and Warranty Claim Procedure. Conditions of Warranty and Warranty Claims are governed by Act No. 89/2012 Coll. Civil Code, and Act No. 634/1992 Coll., Consumer Protection, as amended, also in cases that are not specified by these Warranty rules.
The seller is SEVEN SPORT s.r.o. with its registered office in Borivojova Street 35/878, Prague 13000, Company Registration Number: 26847264, registered in the Trade Register at Regional Court in Prague, Section C, Insert No. 116888.
According to valid legal regulations it depends whether the Buyer is the End Customer or not.
“The Buyer who is the End Customer” or simply the “End Customer” is the legal entity that does not conclude and execute the Contract in order to run or promote his own trade or business activities.
“The Buyer who is not the End Customer” is a Businessman that buys Goods or uses services for the purpose of using the Goods or services for his own business activities. The Buyer conforms to the General Purchase Agreement and business conditions.
These Conditions of Warranty and Warranty Claims are an integral part of every Purchase Agreement made between the Seller and the Buyer. All Warranty Conditions are valid and binding, unless otherwise specified in the Purchase Agreement, in the Amendment to this Contract or in another written agreement.
Warranty Conditions
Warranty Period
The Seller provides the Buyer a 24 months Warranty for Goods Quality, unless otherwise specified in the Certificate of Warranty, Invoice, Bill of Delivery or other documents related to the Goods. The legal warranty period provided to the Consumer is not affected.
By the Warranty for Goods Quality, the Seller guarantees that the delivered Goods shall be, for a certain period of time, suitable for regular or contracted use, and that the Goods shall maintain its regular or contracted features.
The Warranty does not cover defects resulting from (if applicable):
- User’s fault, i.e. product damage caused by unqualified repair work, improper assembly, insufficient insertion of seat post into frame, insufficient tightening of pedals and cranks
- Improper maintenance
- Mechanical damages
- Regular use (e.g. wearing out of rubber and plastic parts, moving mechanisms, joints, wear of brake pads/blocks, chain, tires, cassette/multi wheel etc.)
- Unavoidable event, natural disaster
- Adjustments made by unqualified person
- Improper maintenance, improper placement, damages caused by low or high temperature, water, inappropriate pressure, shocks, intentional changes in design or construction etc.
Warranty Claim Procedure
The Buyer is obliged to check the Goods delivered by the Seller immediately after taking the responsibility for the Goods and its damages, i.e. immediately after its delivery. The Buyer must check the Goods so that he discovers all the defects that can be discovered by such check.
When making a Warranty Claim the Buyer is obliged, on request of the Seller, to prove the purchase and validity of the claim by the Invoice or Bill of Delivery that includes the product’s serial number, or eventually by the documents without the serial number. If the Buyer does not prove the validity of the Warranty Claim by these documents, the Seller has the right to reject the Warranty Claim.
If the Buyer gives notice of a defect that is not covered by the Warranty (e.g. in the case that the Warranty Conditions were not fulfilled or in the case of reporting the defect by mistake etc.), the Seller is eligible to require a compensation for all the costs arising from the repair. The cost shall be calculated according to the valid price list of services and transport costs.
If the Seller finds out (by testing) that the product is not damaged, the Warranty Claim is not accepted. The Seller reserves the right to claim a compensation for costs arising from the false Warranty Claim.
In case the Buyer makes a claim about the Goods that is legally covered by the Warranty provided by the Seller, the Seller shall fix the reported defects by means of repair or by the exchange of the damaged part or product for a new one. Based on the agreement of the Buyer, the Seller has the right to exchange the defected Goods for a fully compatible Goods of the same or better technical characteristics. The Seller is entitled to choose the form of the Warranty Claim Procedures described in this paragraph.
The Seller shall settle the Warranty Claim within 30 days after the delivery of the defective Goods, unless a longer period has been agreed upon. The day when the repaired or exchanged Goods is handed over to the Buyer is considered to be the day of the Warranty Claim settlement. When the Seller is not able to settle the Warranty Claim within the agreed period due to the specific nature of the Goods defect, he and the Buyer shall make an agreement about an alternative solution. In case such agreement is not made, the Seller is obliged to provide the Buyer with a financial compensation in the form of a refund.
CZ SEVEN SPORT s.r.o.
- Registered Office: Strakonická 1151/2c, Praha 5, 150 00, ČR
- Headquaters: Dělnická 957, Vítkov, 749 01
- Warranty & Service: Čermenská 486, Vítkov 749 01
- CRN: 26847264
- VAT ID: CZ26847264
- Phone: +420 556 300 970
- E-mail: [email protected]
- [email protected]
- [email protected]
- Web: www.inSPORTline.cz
SK inSPORTline s.r.o.
- Headquaters, warranty & service center: Električná 6471, Trenčín 911 01, SK
- CRN: 36311723
- VAT ID: SK2020177082
- Phone: +421(0)326 526 701
- E-mail: [email protected]
- [email protected]
- [email protected]
- Web: www.inSPORTline.sk




















