Milesight LoRaWAN Agricultural Monitoring Node-to App Start Kit
Safety Precautions
Milesight will not shoulder responsibility for any loss or damage resulting from not following the instructions of this operating guide.
- The kit must not be remodeled in any way.
- EM300/EM500 are not intended to be used as reference sensors, and Milesight will not take responsibility for any damage which may result from inaccurate readings.
- Do not place all devices close to objects with naked flames.
- Do not place all devices where the temperature is below/above the operating range.
- Make sure electronic components do not drop out of the enclosure while opening.
- When closing the lid, make sure the lid is fitted the right way, so that the enclosure is properly sealed.
- When installing the battery of sensors, please install it accurately, not reversely or with the wrong model.
- Make sure both batteries of EM300 are newest when install, or battery life will be reduced.
- The kit must never be subjected to shocks or impacts.
Declaration of Conformity
Milesight LoRaWAN agricultural kit conforms with the essential requirements and other relevant provisions of the CE, FCC, and RoHS.
All rights reserved.
All information in this guide is protected by copyright law. Whereby, no organization or individual shall copy or reproduce the whole or part of this user guide by any means without written authorization from Xiamen Milesight IoT Co., Ltd.
For assistance, please contact Milesight technical support:
- Email: iot.[email protected]
- Tel: 86-592-5085280
- Fax: 86-592-5023065
- Address: Building C09, Software
Revision History
| Date | Doc Version | Description |
| Jul. 27, 2020 | V 1.0 | Initial Version |
| Dec. 8, 2020 | V 2.0 | Replace UC11-T1/UG85 with EM300-TH/UG65 |
| June 10, 2021 | V 3.0 | Replace UC1114 with UC511 |
| Dec. 9, 2021 | V 3.1 | 1. LOGO Change 2. Delete EM300 Type-C Port |
Overview
Milesight LoRaWAN® Agricultural Monitoring Node-to-App Starter Kit is designed for simplifying the process of PoC about LoRaWAN® network establishment and remote monitoring for the agricultural environment. More information about every product is available on the Milesight IoT website.
Preparation
Packing List

Note:
Please contact your sales representative if the following situations occur:
- Any of the above items are missing or damaged;
- Other accessories or device models are required for your application.
Software Preparation
| Software | Introduction | Appliance | Download |
| Milesight Toolbox | Windows software for NFC/USB configuration. | EM300/EM500 sensors, UC500 Controllers | https://www.milesigh t-iot.com/software-do wnload/ |
| Milesight Toolbox (APP ver.) | Mobile APP for NFC configuration. | EM300/EM500 sensors, UC500 Controllers | Apple Store or Google Play |
| Milesight IoT Cloud (APP ver.) | Add and manage the LoRaWAN® nodes on the Milesight IoT Cloud. | Milesight IoT Cloud | Apple Store or Google Play |
Gateway Configuration
Step 1:
Insert the SIM card into the device according to the direction icon on the device. If you need to take out the SIM card, press into the SIM card and it will pop up automatically.
Note:
UG65 does not support hot-plugging (also called hot swapping). please turn off the power before you insert or take off SIM cards.
Step 2:
Install the power cable and Ethernet cable accordingly. After connecting the Ethernet cable and power cable to corresponding interfaces, you can pass them through the waterproof silicone and slide them into the grooves. Then screw the protective cover back to the device.
Step 3:
Install the external antenna if necessary.
Web GUI Access
If this is the first time you configure the gateway, please use the default settings below: ETH IP Address: 192.168.23.150
Wi-Fi IP Address: 192.168.1.1
Wi-Fi AP: Gateway
Username: admin
Password: password
Browser: Chrome (recommended)
Here are 2 ways to access the web GUI:
- Wireless Mode: Enable Wireless Network Connection on your computer and search for access point “Gateway to connect it. After connected, type 192.168.1.1 to your Internet browser to log in the web GUI.
- Wired Mode: Connect the Ethernet port of UG6x to your computer and configure the IP address of the computer manually, then type 192.168.23.150 to your browser to log in the web GUI. Here are the steps of configuring a computer IP addresses manually based on the Windows 10 system.
Step 1:
Go to “Control Panel” → “Network and Internet” → “Network and Sharing Center”, then click “Ethernet” (May have different names).
Step 2:
Go to “Properties” → “Internet Protocol Version 4(TCP/IPv4) ”and select “Use the following IP address”, then assign a static IP manually within the same subnet of UG65.
Network Connection
This section explains how to connect the gateway to the network via WAN connection or cellular.
Configure the WAN Connection
Step 1:
Go to the “Network”→ “Interface” → “Port” page to select the connection type and configure Ethernet port information.
Step 2:
Connect Ethernet port of gateway to devices like router or modem.
Configure the Cellular Connection
Step 1:
Go to “Network” → “Interface” → “Cellular” → “Cellular Setting” page to enable cellular settings and fill in SIM card information like APN or PIN code
Step 2:
Go to the “Status” → “Cellular” page to view the status of the cellular connection. If it shows “Connected”, it means the SIM has dialed up successfully. On the other hand, you can check the status of LTE indicator. If it keeps on light statically, it means SIM has dialed up successfully.
LoRaWAN Configuration
Step 1:
Go to the “Packet Forwarder” → “General” page to enable the embedded NS.
Step 2:
Go to “Packet Forwarder” → “Radios” page to select the correct antenna type and frequency channels. Go to “Packet Forwarder” → “Radios” page to select the correct antenna type and frequency channels.
Step 3:
Go to “Network Server” → “General” page to enable the network server and Milesight IoT Cloud mode.
Sensors & Controllers Configuration
EM500 Assembly
Follow the steps below to connect light and soil sensor cables to EM500 transceiver if they are separated.
Step 1:
Take off the mounting bracket, remove the cap, rubber seal and the screws on the bottom of the device, and then take off the enclosure cover.
Step 2:
Pass the sensor cable through the cap, rubber seal and enclosure cover and lock the wires to the motherboard accordingly (see the label on the motherboard or following picture).
Note:
The green wire of EM500-SMTC is used for debugging please keep it stay disconnected.
Step 3:
Pull out the insulating sheet on the side of the battery.
Step 4:
Put the motherboard back and restore everything in its due position.
Software Configuration
EM300/EM500/UC511 nodes can be configured by one of the following ways:
- Mobile App (NFC);
- Windows Software (Type-C Port or TTL Port).
In order to ensure the security of these devices, please type the correct password to verity when changing the settings. Default password: 123456.
Mobile App Configuration
Step 1:
Enable NFC on the smartphone and open the APP “Toolbox”, then attach the smartphone with NFC area to the device.
Note:
Ensure the location of your smartphone NFC area and it is recommended to take off the phone case before using NFC.
Step 2:
Switch the button of Device Status to turn on or off the device, then attach the smartphone with NFC area to the device until the APP shows a successful prompt.
Step 3:
Go to “Device”→ “Settings”→” LoRaWAN Settings” to change the supported frequency and channels according to UG65 radio settings, then click “Write” to save the configurations. Frequency settings can be referred to the appendix.
Step 4:
Configure other parameters like reporting interval and alarms.
Windows Software Configuration
Step 1:
Open the case and connect the devices to a computer via Type-C port or TTL port.
Step 2:
Open Toolbox, select type as “General” and click password to log in to Toolbox.(Default password: 123456)
Step 3:
Click “Power On” to turn on the device.
Step 4:
Go to “LoRaWAN Settings”→” Channel” to change the supported frequency and channels according to UG65 radio settings, then save the configurations. Frequency settings can be referred to the appendix.
Step 5:
Configure other parameters like reporting interval and alarms.
Milesight IoT Cloud Configuration
Milesight IoT Cloud is a comprehensive platform that provides multiple services including device remote management and data visualization with the easiest operation procedures. Please register a Milesight IoT Cloud account before operating the following steps: cloud.milesight-iot.com.
Step 1:
Go to “My Devices” page and click “+New Devices” to add gateway to Milesight IoT Cloud via SN. Gateway will be added under the “Gateways” menu.
Step 2:
Click “+New Devices” to add LoRaWAN® nodes to Milesight IoT Cloud via SN.
Step 3:
After all devices are online in Milesight IoT Cloud, check the device information and data and create dashboard for it.

Hardware Installation
Step 1:
Mounting Bracket Mounted
Wall mounting:
- Align the mounting bracket horizontally to the desired position on the wall, use a marker pen to note four mounting holes on the wall, and then remove the mounting bracket from the wall.
- Drill four holes with a depth of 32 mm by using your drill with a 6 mm drill bit on the positions you marked previously on the wall and insert four wall plugs into the holes respectively.
- Mount the mounting bracket horizontally to the wall by fixing the wall mounting screws into the wall plugs.

Pole mounting:
Straighten out the hose clamp and slide it through the rectangular rings in the mounting bracket, wrap the hose clamp around the pole. After that use a screwdriver to tighten the locking mechanism by turning it clockwise.
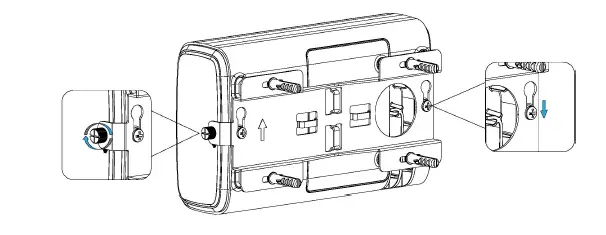
Step 2: Gateway Mounted
Screw the bracket mounting screws behind the equipment and hang the device to the mounting bracket via bracket mounting screws on the back of the device.
UC511 Installation
Wall Mounting
Make sure you have wall mounting bracket, bracket mounting screws, wall plugs, wall mounting screws and other required tools.
Steps:1.
Mount the enclosure to the mounting bracket with the bracket mounting screws.
Align the mounting bracket horizontally to the desired position on the wall, use a marker pen to mark four mounting holes on the wall, and then remove the mounting bracket from the wall.
Note:
The connecting lines of adjacent points are at right angles. Drill the four holes by using your drill with a 6 mm drill bit on the positions you marked previously on the wall. Insert four wall plugs into the holes respectively. Mount the mounting bracket horizontally to the wall by fixing the wall mounting screws into the wall plugs.
Pole Mounting
Make sure you have wall mounting bracket, bracket mounting screws, hose clamp and other required tools.
Steps:
- Mount the enclosure to the mounting bracket with the bracket mounting screws.

- Loosen the hose clamp by turning the locking mechanism counter-clockwise.

- Straighten out the hose clamp and slide it through the rectangular holes in the mounting bracket, wrap the hose clamp around the pole.
- Use a screwdriver to tighten the locking mechanism by turning it clockwise.

EM300 Installation
Step 1:
Attach EM300 to the wall and mark the two holes on the wall. The connecting line of two holes must be a horizontal line. Drill the holes according to the marks and screw the wall plugs into the wall.
Step 2:
Mount the EM300 to the wall via mounting screws and cover the mounting screws with screw caps.
Sensor Installation
Quick Test:
Choose a suitable measurement place, and avoid rocks or other hard objects. Insert the sensor vertically into the soil. Do not rock the probe while inserting it. This method can only make a small range of measurements and needs multiple measurements to get the average value as a calibration value.
Underground Test:
Dig a pit of a certain depth vertically, and insert the sensor horizontally into the measured position, and then fill the pit. This method can measure and record value for a long time.
Installation Note:
- Abnormal data may show up if sensor prongs are exposed in the air.
- It is possible to get sticks, bark, roots or other material stuck between the sensor prongs, which will severely affect the sensor data readings. Any air gaps or excessive soil compaction around the sensor can also influence the readings.
- Do not install the sensor adjacent to large metal objects.
- Be careful when inserting the sensor into dense soil, as the prongs will break if excessive sideways force is used.
- When installing the sensor in a lightning-prone area, please check your lightning protection.
- When removing the sensor from the soil, do not pull it out of the soil by the cable. Doing so may break internal connections and make the sensor unusable.
EM500-LGT Installation
Be sure to place the round area of the sensor always on top and always towards the sun while using it.
Transceiver Installation
EM500 transceiver support wall, pole and DIN rail mounting. Please contact sales for DIN rail mounting accessories before purchasing it. This guide will introduce how to mount the sensor to wall or pole.
Wall mounting:
Attach the mounting bracket to the wall and drill 2 holes, then mount the device with a bracket on the wall.
Pole mounting:
Straighten out the hose clamp and slide it through the rectangular holes in the mounting bracket, wrap the hose clamp around the pole. After that use a screwdriver to tighten the locking mechanism by turning it clockwise.
Default Uplink Channels
| Frequency | UG65 | EM300/EM500/UC511 Nodes |
| CN470 | 471.9, 472.1, 472.3, 472.5, 472.7,472.9, 473.1, 473.3 (Channel 8~15) | 470.3~489.3 (All 95 channels) |
| EU868 | 868.1, 868.3, 868.5, 867.1, 867.3, 867.5, 867.7, 867.9 | 868.1, 868.3, 868.5 |
| IN865 | 865.0625, 865.4025, 865.6025, 865.985, 866.185, 866.385, 866.585, 866.785 | 865.0625, 865.4025, 865.6025 |
| RU864 | 868.9, 869.1, 869.3, 867.3, 867.5, 867.7, 867.9, 868.1 | 868.9, 869.1 |
| AU915 | 916.8, 917, 917.2, 917.4, 917.6, 917.8, 918, 918.2(Channel 8~15) | 915.2~927.1 (All 72 channels) |
| US915 | 903.9, 904.1, 904.3, 904.5, 904.7, 904.9,905.1, 905.3 (Channel 8~15) | 902.3~914.2 (All 72 channels) |
| KR920 | 922.1, 922.3, 922.5, 922.7, 922.9, 923.1, 923.3, 923.5 | 922.1, 922.3, 922.5 |
| AS923 | 923.2, 923.4, 922, 922.2, 922.4 ,922.6, 922.8 ,923 | 923.2, 923.4 |
Default LoRaWAN Parameters
| DevEUI | On the device label. |
| AppEUI | 24e124c0002a0001 |
| Appport | 0x55 |
| NetID | 0x010203 |
| DevAddr | The 5th to 12th digits of SN |
| e.g. SN = 61 26 a1 01 84 96 00 41 Then DevAddr = a1018496 | |
| AppKey | 5572404c696e6b4c6f52613230313823 |
| NwkSKey | 5572404c696e6b4c6f52613230313823 |
| AppSKey | 5572404c696e6b4c6f52613230313823 |
























