technoswitch ST021DI AC Electric System Surge Protective Device

Power supply ST021DI
230 Vac, 50-60 Hz, ST381DI three phase, 50-60 Hz
Technology
- ST021DI: 1 P+NPE
- ST381 DI: 3P+NPE
- Long life device
- DIN rail mount modular case
- SPD class T2
- Max cables section 25 mm2
- Response time s; 25ns
- UL94 V-0 plastic case
- Replaceable cartridges
- Cartridge status visual indicator red: replace
DIMENSION / SIZE
ST021DI

ST381DI

|
| CODICE | LIVELLO DI PROTEZIONE L- N (Up) | TENSIONE CONTINUATIVA MASSIMA L-N (Uc) | CORRENTE DI SCARICA MASSIMA L-N lmax(8/20) | CORRENTE DI SCARICA NOMINALE L-N In (8/20) | LIVELLO DI PROTEZIONE N – PE (Up) | TENSIONE CONTINUATIVA MASSIMA N-PE (Uc) | CORRENTE DI SCARICA MASSIMA N-PE lmax(8/20) | CORRENTE DI SCARICA NOMINALE N-PE ln(8/20) | MODULO | PESO |
| CODE | L-N PROTECTION LEVEL (Up) | L – N MAX CONTINUOS VOLTAGE (Uc) | L-N MAX DISCHARGE CURRENT lmax(8/20) | L-N NOMINAL DISCHARGE CURRENT ln(8/20) | N – PE PROTECTION LEVEL (Up) | N-PE MAX CONTINUOUS VOLTAGE (Uc) | N-PE MAX DISCHARGE CURRENT lmax(8/20) | N-PE NOMINAL DISCHARGE CURRENT ln(8/20) | MODULES | WEIGHT | |
| kV | V | kA | kA | kV | V | kA | kA | DIN | g | ||
| ST021DI | <1,2 | 320 | 20 | 10 | 1,5 | 255 | 20 | 10 | 2 | 210 | |
| ST021CL | L-N / L-N surge protector cartridge | 55 | |||||||||
| ST021CN | N-PE / N-PE surge protector cartridge | 35 | |||||||||
| ST381DI | <1 | 280 | 25 | 12,5 | 1,5 | 255 | 40 | 20 | 4 | 380 | |
| ST381CL | L-N surge protector cartridge | 35 | |||||||||
| ST381CN | N-PE surge protector cartridge | 35 | |||||||||
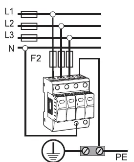
INSTALLATION
- Disconnect the power
- Install the device on DIN 35 rail placing the device’s upper recess on the top edge of the DIN.

- Push down the device until the device’s lower recess fits into the DIN.
- Connect the device to the electrical system respecting max cable section and wiring diagram.



CARTRIDGE REPLACEMENT
- Disconnect the power
- Press the top and bottom ends of the cartridge to be replaced and pull it out of the device.

- Install new cartridge.





















