ASCO 350 Surge Protective Devices

Safety Information
Important Information
Read these instructions carefully and look at the equipment to become familiar with the device before trying to install, operate, service or maintain it. The following special messages may appear throughout this bulletin or on the equipment to warn of potential hazards or to call attention to information that clarifies or simplifies a procedure.
CAUTION: The addition of either symbol to a “Danger” or “Warning” safety label indicates that an electrical hazard exists which will result in personal injury if the instructions are not followed.
WARNING: This is the safety alert symbol. It is used to alert you to potential personal injury hazards. Obey all safety messages that follow this symbol to avoid possible injury or death.
DANGER: indicates a hazardous situation which, if not avoided, will result in death or serious injury.
WARNING: indicates a hazardous situation which, if not avoided, could result in death or serious injury.
CAUTION: indicates a hazardous situation which, if not avoided, could result in minor or moderate injury.
NOTICE: is used to address practices not related to physical injury. The safety alert symbol shall not be used with this signal word. Electrical equipment should be installed, operated, serviced, and maintained only by qualified personnel. No responsibility is assumed by ASCO Power Technologies for any consequences arising out of the use of this material.
A qualified person is one who has skills and knowledge related to the construction, installation, and operation of electrical equipment and has received safety training to recognize and avoid the hazards involved.
Precautions
DANGER
HAZARD OF ELECTRIC SHOCK, EXPLOSION, OR ARC FLASH
- Apply appropriate personal protective equipment (PPE) and follow safe electrical work practices. See NFPA 70E, NOM-029-STPS or CSA Z462.
- This equipment must only be installed and serviced by qualified electri-cal personnel.
- Turn off all power supplying this equipment before working on or inside equipment.
- Always use a properly rated voltage sensing device to confirm power is off.
- Replace all devices, doors and covers before turning on power to this equipment.
- This equipment must be effectively grounded per all applicable codes. Use an equipment-grounding conductor to connect this equipment to the power system ground.
Failure to follow these instructions will result in death or serious injury.
WARNING: This product can expose you to chemicals including DINP, which is known to the State of California to cause cancer, and DIDP which is known to the State of California to cause birth defects or other reproductive harm. For more information go to: www.P65Warnings.ca.gov.
NOTICE: LOSS OF BRANCH CIRCUIT POWER / LOSS OF SURGE SUPPRESSION
- Perform periodic inspection of the surge protective device status indicator lights as part of the preventative maintenance schedule.
- Promptly replace the surge protective device when an alarm state exists.
- Use dry contacts to signal an alarm state to the central supervisory system for unmanned, inaccessible, or critical installations.
- Use multiple surge protective devices to achieve redundancy for critical applications.
Failure to follow these instructions can result in equipment damage.
At end-of-life conditions, Surge Protective Devices (SPDs) can lose their ability to suppress power system transient voltage spikes and attempt to draw excessive current from the line. This SPD is equipped with overcurrent and overtemperature components that will automatically disconnect the surge suppression elements from the mains should the surge suppression elements reach end of life. Tripping of the branch circuit breaker or fuse feeding the SPD can occur. Mitigate the tripping of the branch circuit breaker or fuse feeding the SPD by coordinating the surge suppression elements with the branch circuits.
DANGER
HAZARD OF ELECTRIC SHOCK, EXPLOSION, OR ARC FLASH
- • Do not energize the surge protective device until the electrical system is completely installed, inspected and tested.
- • Ensure all conductors are connected and functional.
- • Verify the voltage rating of the device and system prior to energizing.
- • Perform high-potential insulation testing, or any other tests where surge protective device components will be subjected to voltages higher than their rated turn-on voltage, with the neutral and surge protective device disconnected from the power source
Failure to follow these instructions will result in death or serious injury.
DANGER
HAZARD OF ELECTRIC SHOCK, EXPLOSION, OR ARC FLASH
- Apply appropriate personal protective equipment (PPE) and follow safe electrical work practices. See NFPA 70E, NOM-029-STPS or CSA Z462.
- This equipment must only be installed and serviced by qualified electrical personnel.
- Turn off all power supplying this equipment before working on or inside equipment.
- Always use a properly rated voltage sensing device to confirm power is off.
- Replace all devices, doors and covers before turning on power to this equipment.
- This equipment must be effectively grounded per all applicable codes. Use an equipment-grounding conductor to connect this equipment to the power system ground.
Failure to follow these instructions will result in death or serious injury.
The ASCO Model 350 surge protective device is a surge current diversion system designed for use with equipment that is sensitive to damaging transient voltage surges.
Note: For access to self-service tools and chat support visit se.com/us/en/work/support or call 1-888-778-2733 for technical assistance
Installation
DANGER
HAZARD OF ELECTRIC SHOCK, EXPLOSION, OR ARC FLASH
- Apply appropriate personal protective equipment (PPE) and follow safe electrical work practices. See NFPA 70E, NOM-029-STPS or CSA Z462.
- This equipment must only be installed and serviced by qualified electri-cal personnel.
- Turn off all power supplying this equipment before working on or inside equipment.
- Always use a properly rated voltage sensing device to confirm power is off.
- Replace all devices, doors and covers before turning on power to this equipment. All wiring must comply with the National Electrical Code
(NEC) and applicable local codes. - This equipment must be effectively grounded per all applicable codes. Use an equipment-grounding conductor to connect this equipment to the power system ground.
- For proper operation, neutral and ground must be reliably connected. Improper grounding will reduce or impede operation, and may result in damage to the SPD.
- Confirm that the Surge Protective Device voltage rating on the module or nameplate label is not less than the operating voltage.
Failure to follow these instructions will result in death or serious injury.
Read all instructions before starting the installation of this product. These instructions do not replace national or local electrical code.
Environment
The unit is designed for operation indoors in ambient temperatures of 0ºC (+32ºF) to +50ºC (+122ºF) with a relative humidity of 0% to 95% (non-con-densing). The unit is provided in an industrial enclosure. Do not install in ar-eas with excessive dust, corrosive vapors, flammable materials or explosive atmospheres.
Mounting
Mount unit as close as possible to the service panel in close proximity to the breaker that will power the SPD. Use #10 (NEMA 12) or #6 (NEMA 1) mounting hardware. To maximize performance, keep wire length to the surge protective device (SPD) as short as possible.
Wire Sizing/Routing
#12 AWG wiring is provided with unit. To reduce the wiring impedance to surge currents, the phase, neutral (if required), and ground conductors
are recommended to be twisted together and routed in the same raceway (conduit).
Conduit Connection
Feed all wires into the panel through the knockout selected and secure the conduit connection.
DANGER
HAZARD OF ELECTRIC SHOCK, EXPLOSION, OR ARC FLASH
- Do not supply more than 24VDC / 24 VAC and no more than a current of 2A to contacts.
- Confirm that the Surge Protective Device voltage rating on the module or nameplate label is not less than the operating voltage.
Failure to follow these instructions will result in death or serious injury.
Before making connections to the unit, verify the unit model number and nameplate voltage rating are appropriate for connection to the power source (See table).
Wiring Connections
- Turn off all power supplying this equipment before working on or inside equipment.
- It is recommended that a circuit breaker be used for installation and connection to the service panel. See pages 9-10 for recommended amperage.
- Connect the white wire (if provided) of the SPD to the neutral of the supply, and connect the green wire (if provided) of the SPD to source ground.
- Connect each Black Phase Wire to corresponding phase on the service panel.
- If the relay contact wires for remote sensing are not used, secure and insulate the wires so they do not interfere with operation.
- Replace the barrier, cover/door and/or trim to the equipment.
- Equipment may be re-energized after all the above steps are complete. If using remote sensing, these wires are connected to COM (orange), NC (blue), and NO (yellow) respectively.
Relay’s maximum switching capacity is 24V, 2A.
Troubleshooting
If any of the diagnostic indicators indicates a problem (i.e. red LED ON, and/or green LED OUT), check all connections and voltages to the unit. If all connections are acceptable, and proper voltages are supplied to the unit, to self-service tools and chat support visit se.com/us/en/work/support or call 1-888-778-2733 for technical assistance.
Applying Power
Apply power to the SPD and check status indications are normal. The NEMA 1 unit status light will be “green” for normal operation. The NEMA 12 unit status lights will be “green” and the red “service” indicator will
be off for normal operation. If normal status indicators do not exist, see “TROUBLESHOOTING”.
Table 1: Model 350 Catalog Number Configuration
Figure 1: Wiring Diagrams
NEMA 12 Unit
Circuit Breaker and Wire Size
| Overcurrent Protection | 20A Recommended | |
| Connection Wire | Phase/Neutral/Ground | |
| 18” of #12 AWG Included | ||
| Summary Alarm Contacts | 18” of #18 AWG Included; 24V, 2A max (All units) | |
| Normally Open (NO) | Yellow | |
| Normally Closed (NC) | Blue | |
| Common (COM) | Orange | |
| (With AC Applied) | ||
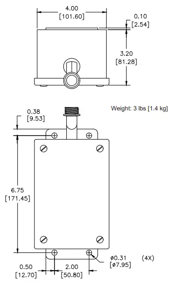
Dimensions (in. / mm.) and Weight (lb. / kg.)
NEMA 1 Unit
Circuit Breaker and Wire Size
| Overcurrent Protection | 20A Recommended | |
| Connection Wire | Phase/Neutral/Ground | |
| 18” of #12 AWG Included | ||
| Summary Alarm Contacts | 18” of #18 AWG Included; 24V, 2A max | |
| Normally Open (NO) | Yellow | |
| Normally Closed (NC) | Blue | |
| Common (COM) | Orange | |
| (With AC Applied) | ||
Dimensions (in. / mm.) and Weight (lb. / kg.)
Parallel Wiring Diagram
© 2021 ASCO Power Technologies. All Rights Reserved For access to self-service tools and chat support visit se.com/us/en/work/support or call 1-888-778-2733 for technical assistance
ADDRESS: 6700 Tower Cir #700 Franklin, TN 37067
se.com/us/en/work/support
CONTACT: 1-888-778-2733
While every precaution has been taken to ensure accuracy and completeness in this literature, Schneider Electric assumes no responsibility, and disclaims all liability for damages resulting from use of this information or for any errors or omissions.




















