GENERAC G0074090 Surge Protection Device

Product Information
The Surge Protection Device, Model Number G0074090, is a product manufactured by Generac Power Systems Inc. It is designed to provide high performance and efficient operation while protecting against electrical surges. The device is equipped with safety features to prevent hazards such as electrocution.
Safety Information
It is important to read the manual thoroughly and completely before using the product. Failure to do so could result in death or serious injury. The manual includes safety rules and alerts that indicate hazardous situations. Common sense and strict compliance with special instructions are essential to preventing accidents. The device contains potentially lethal voltages, and it is important to render the equipment safe before attempting repairs or maintenance. Only trained and licensed electricians should perform wiring and connections to the unit. Failure to follow proper installation requirements could result in death, serious injury, and equipment or property damage.
Introduction
Thank you for purchasing a Generac Power Systems Inc. product. This unit has been designed to provide high performance, efficient operation, and years of use when maintained properly. Read This Manual Thoroughly
WARNING
Consult Manual. Read and understand manual completely before using product. Failure to completely understand manual and product could result in death or serious injury. If any section of this manual is not understood, contact the nearest Independent Authorized Service Dealer (IASD) or Generac Customer Service at 1-888-436-3722 (1-888-GENERAC), or visit www.generac.com for starting, operating, and servicing procedures. The owner is responsible for proper maintenance and safe use of the unit. SAVE THESE INSTRUCTIONS for future reference. This manual contains important instructions that must be followed during placement, operation, and maintenance of the unit and its components. Always supply this manual to any individual that will use this unit, and instruct them on how to correctly start, operate, and stop the unit in case of emergency.
Safety Rules
The manufacturer cannot anticipate every possible circumstance that might involve a hazard. The alerts in this manual, and on tags and decals affixed to the unit, are not all inclusive. If using a procedure, work method, or operating technique that the manufacturer does not specifically recommend, verify that it is safe for others and does not render the equipment unsafe. Throughout this publication, and on tags and decals affixed to the unit, DANGER, WARNING, CAUTION, and NOTE blocks are used to alert personnel to special instructions about a particular operation that may be hazardous if performed incorrectly or carelessly. Observe them carefully. Alert definitions are as follows:
DANGER
Indicates a hazardous situation which, if not avoided, will result in death or serious injury
WARNING
Indicates a hazardous situation which, if not avoided, could result in death or serious injury
CAUTION
Indicates a hazardous situation which, if not avoided, could result in minor or moderate injury
NOTE: Notes contain additional information important to a procedure and will be found within the regular text of this manual. These safety alerts cannot eliminate the hazards that they indicate. Common sense and strict compliance with the special instructions while performing the action or service are essential to preventing accidents.
Electrical Hazards
DANGER
Electrocution. Potentially lethal voltages are present in this equipment. Render the equipment safe before attempting repairs or maintenance. Failure to do so will result in death or serious injury.
WARNING
Electric shock. Only a trained and licensed electrician should perform wiring and connections to unit. Failure to follow proper installation requirements could result in death, serious injury, and equipment or property damage
CAUTION
Equipment damage. Do not perform a high potential or high voltage test with the unit connected to the electrical system. Doing so will result in unit damage.
Competent, qualified personnel should install, operate and service this equipment. Adhere strictly to local, state and national electrical and building codes. When using this equipment, comply with regulations established by the National Electrical Code (NEC), CSA Standard; the Occupational Safety and Health Administration (OSHA), or the local agency for workplace health and safety.
Specifications and Warranty
The Surge Protection Device has the following specifications:
- Model Number: G0074090
- Manufacturer: Generac Power Systems Inc.
- Designed to protect against electrical surges
The device comes with a warranty provided by the manufacturer. It is important to refer to the manual for further information on the warranty.
Equipment Description
The Surge Protection Device (SPD) is designed to be installed on service entrance, branch panels, and/or individual equipment disconnects, and functions to protect sensitive electronic equipment from damaging voltage transients. The connecting wires do not carry supply current. Instead, they carry only short-duration currents associated with a transient event. Contact an IASD for information regarding a particular application or installation not covered in this manual.
specifications
| Description | Rating |
| Surge Current Capacity Per Phase | 50 kA |
| Nominal Discharge Current (In) | 20 kA |
| Short Circuit Current Rating (SCCR) | 200 kA |
| SPD Type | Rated Type 1 or Type 2 |
| System Voltages Available: • Single Split-phase | 120/240 VAC |
| Protection Modes: • Single Split-phase | L-N, L-L |
| Maximum Continuous Operating Voltage (MCOV) | 150 L-N, 300 L-L |
| Input Power Frequency | 50/60 Hz |
| Enclosure Rating | NEMA 4 |
| Operating Temperature | -4°F through 122 °F (-40 °C through 70 °C) |
| Operating Humidity | 5% through 95%, non-condensing |
| Operating Altitude | Up to 16,000 ft (5,000 m) |
| Agency Certification and Approvals | ETL per UL1449 4th Edition Listed Device |
| Warranty | 2 Years |
Warranty
Generac warrants these products to be free from defects in both workmanship and materials for a period of 2 years from the date of delivery to the purchaser. Generac assumes no risk or liability for results of the use of the products purchased from it, including but without limiting the generality of the foregoing: (1) The use in combination with any electrical or electronic components, circuits, systems, assemblies, or any other materials or substances; (2) Unsuitability of any product for use in any circuit or assembly. Purchaser’s rights under the warranty shall consist solely of requiring Generac to repair, or at Generac’s sole discretion, replace, free of charge, F.O.B. factory, and defective items received at said factory within said term determined by Generac to be defective. The giving of or failure to give any advice or recommendations by Generac shall not constitute any warranty by or impose any liability upon Generac.
The foregoing constitutes the sole and exclusive liability of Generac AND IS IN LIEU OF ANY AND ALL OTHER WARRANTIES EXPRESSED, IMPLIED OR STATUTORY AS TO THE MERCHANTABILITY, FITNESS FOR PURPOSE SOLD, DESCRIPTION, QUALITY, PRODUCTIVENESS OR ANY OTHER MATTER. In no event shall Generac be liable for special or consequential damages or for delay in performance of the warranty. This warranty does not apply if the product has been misused, abused, altered, tampered with, or used in applications other than specified on the nameplate. At the end of the warranty period, Generac shall be under no further warranty obligation expressed or implied. The product covered by this warranty certificate can only be repaired or replaced by the factory. For help on troubleshooting the SPD, or for warranty information, contact an IASD. Repair or replacement units will be returned collect. If Generac finds the return to be a manufacturer’s defect, the product will be returned prepaid.
Product Usage Instructions
Installation
Before installation, it is important to read the manual thoroughly to ensure proper installation and prevent hazards. The device should be mounted and wired by a trained and licensed electrician. Refer to the label on the SPD to verify the voltage rating and wiring configuration of the SPD matches that of the electrical system. Use an AC voltmeter to measure the system line voltage to verify the correct model of SPD is being installed. Damage to the SPD may result if it is connected to an electrical system of a higher voltage or different wiring configuration
Introduction to Installation
This section describes how to install a Surge Protection Device (SPD) in parallel (shunt) across the AC supply of a split phase electrical system.
Mounting
The Surge Protection Device should be mounted in a location that is easily accessible for maintenance and inspection. The device should be mounted in a vertical position with the top of the device facing up. It should be mounted using the provided mounting holes and screws.
Wiring
The device should be wired by a trained and licensed electrician in accordance with local codes and regulations. The device should be connected to the electrical system through a dedicated circuit breaker. The wiring should be checked for proper connections and insulation before energizing the device. SPD can be mounted directly to the electrical panel or service equipment
- Choose a mounting location for the SPD that provides the shortest and straightest possible wiring (lead length) from SPD to electrical system connections. Excessive lead length and sharp bends will degrade SPD performance.
- When installing SPD as a Type 2 SPD, SPD’s wire leads are required to be terminated to a dedicated 2-pole 20 amp circuit breaker. Circuit breaker must be approved for installation and use in the panelboard by the panelboard manufacturer.
- Or, use appropriate screws to mount SPD to surface and use conduit to connect SPD to electrical panel.
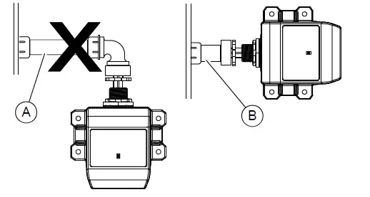
- See Figure 3-2. When using conduit, avoid using 90° elbows (A) and keep conduit run as short and straight as possible (B).
When installing wiring:
- Follow all national, state, and local electrical codes when making wiring connections.
- When connecting wires from SPD to electrical system, cut wires as necessary to keep them as short as possible.
- To maximize SPD’s performance, twist and bind wires together to reduce impedance of wire (one twist/inch).
- See Figure 3-3. Connect SPD’s neutral wire (white) to system’s neutral connection

- Connect SPD’s phase A and B wires (black) to 2-pole 20 amp circuit breaker in electrical panel, and torque circuit breaker terminals to the manufacturer’s required torque settings.
Conduit Installation
See Figure 3-1. Mount SPD directly to electrical panel using a 1/2 in. locknut

See Figure 3-2. When mounting SPD outdoors, use weatherproof conduit and fittings to maintain the enclosure’s NEMA 4 rating

Operation
Once the device is properly installed, it will protect against electrical surges. It is important to regularly inspect and maintain the device to ensure its proper operation. Refer to the manual for further information on maintenance and inspection.
- Apply system power. LED should illuminate.
NOTE: If connected LED does not illuminate, remove power, check connections, and test again. If LED still does not light, contact an IASD. - SPD will automatically begin to protect downstream electrical devices from damaging voltage transients.
With all phase voltages present, LED indicator reports the status of the protection elements and is active when all of them are intact and providing protection. Any loss of protection is signaled when LED turns OFF. Unit is not repairable and contains no user serviceable parts. If unit fails, as evidenced by LED turning OFF, contact an IASD for a replacement.
IMPORTANT NOTE: Do not use the Suppression Circuit Status LEDs as an indication of the presence or absence of system phase voltages
Generac Power Systems, Inc. S45 W29290 Hwy. 59 Waukesha, WI 53189 1-888-GENERAC (1-888-436-3722) www.generac.com




















