darkFlash Twister V2 Series All In One ARGB Liquid CPU Cooler

Parts List


![]() | ![]() | ![]() |
![]() | ||
![]() | ![]() | |
![]() | ||
OPERTING INSTARUCION
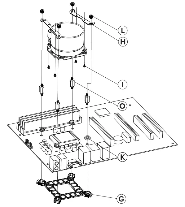
STEP 1 INEL/AMD

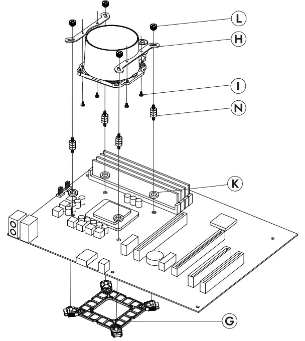
STEP 2 INEL/ AMD

STEP 3 INTEL/20XX

STEP 4 INTEL 115X

STEP 5 INTEL 1700

STEP 6 AMD

STEP 7 Wiring

darkFlash Twister V2 Series All In One ARGB Liquid CPU Cooler



![]() | ![]() | ![]() |
![]() | ||
![]() | ![]() | |
![]() | ||







Download manual
Here you can download full pdf version of manual, it may contain additional safety instructions, warranty information, FCC rules, etc.