EcoFasten SIMPLEGRIP-SQ Solar Roof Mount

SIMPLEGRIP-SQ
SimpleGrip-SQ is designed to attach PV modules to rolled-asphalt or other low-slope
roofs. The base is compressed between two layers of butyl tape to create a watertight seal without the need for additional flashing. The compression plate protects the butyl and features a watertight grommet that can be combined with any EcoFasten bracket.
FEATURES
- Patented Watertight Technology
- Four self-drilling screws optimum uplift and fast installation
- UV Ray shielded mastic prevents degradation
- Installs without cutting into the roof

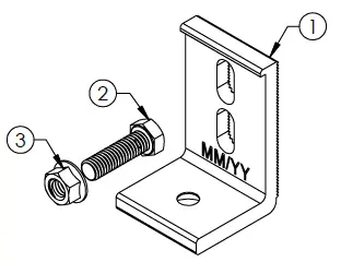
SYSTEM COMPONENTS

- 5/16″ SERRATED FLANGE NUT
- 5/16″ EPDM BONDED SEALING WASHER
- L-FOOT SCL-101 MLL 3” (OTHER OPTIONS AVAILABLE)
- SIMPLEGRIP BASE ASSEMBLY AL (FLASHING)
- ADHESIVE TOP
- #15-13 SELF DRILLING FASTENER (2 OR 4X)
- SIMPLEGRIP BASE ASSEMBLY AL (BASE PLATE)
- ADHESIVE BOTTOM
INSTALLING SIMPLEGRIP-SQ
Locate and mark off rafters then determine location for the SimpleGrip-SQ Base Plate over the rafter. Pre-drill a single 1/8″ hole into roof to confirm rafter location.

Clear the mount location of debris with a brush or compressed air. Peel off release liner from one side of Adhesive Bottom and place and roll onto roof surface at the marked location of the Base Plate.
*See NOTES below for working with EternaBond Adhesive.
Peel off and remove the top side of the release liner from the Adhesive Bottom sheet and place Base Plate in the center of the Adhesive Bottom, taking care that mounting holes are oriented over the center of the rafter.

Install a minimum of 2 fasteners into rafter at opposite sides of the Base Plate. 2 Additional fasteners can be installed in the opposing holes into the roof deck for additional strength.

Peel off and remove one side of the release liner on Adhesive Top sheet and place over the perimeter of the Base Plate. Peel off and remove the top side of release liner from the Adhesive Top sheet.
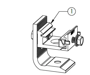
Install the SimpleGrip-SQ Flashing over the threaded stud of the Base Plate. Attach one of EcoFasten’s compression brackets to the threaded stud. Install the bonded sealing washer with rubber side facing down, followed by the 5/16″ serrated flange nut.

Torqe Serated Flange Nut to 100-140 inch pounds.

WORKING WITH ETERNABOND ADHESIVE
- EternaBond mastic sheet is compatible with a variety of roof types including TPO, PVC, rolled com-postion shingle, asphalt, wood and metal roofs.
- Surface must be dry and clear of all oil, grease, dust dirt or other debris. Use a dry brush or com-pressed air to clear the area.
- Ambient air temp should be above 40 degrees F or use EternaPrime Primer down to -20 degrees F.
- To Install peel off and remove one side of the release liner and apply to the roof surface. Rub or roll with pressure using your hand or steel roller to activate bonding process.
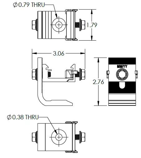
CUT SHEET: SIMPLEGRIP BASE ASSEMBLY AL
| PART NUMBER | DESCRIPTION |
| 3015015 | SIMPLEGRIP BASE ASSEMBLY AL |

| ITEM NO. | DESCRIPTION |
| 1 | SIMPLEGRIP-SQ SUB ASSY |
| 2 | SIMPLEGRIP-SQ-BUSHING GF EPDM SUB-ASSY |
| 3 | WASHER, SEALING, 5/16″ EPDM BACKED STAINLESS STEEL |
| 4 | SS SERRATED FLG LOCKNUT, 5/16-18 |
- SIMPLEGRIP-SQ SUB ASSY

Material Steel Finish Mill - SIMPLEGRIP-SQ-BUSHING GF EPDM SUB-ASSY


- WASHER, SEALING, 5/16″ EPDM BACKED STAINLESS STEEL


- SS SERRATED FLG LOCKNUT, 5/16-18


CUT SHEET: SIMPLEGRIP ADHESIVE TOP/BOTTOM
| PART NUMBER | DESCRIPTION |
| 3015016 | SIMPLEGRIP ADHESIVE TOP/BOTTOM |

| ITEM NO. | DESCRIPTION |
| 1 | SIMPLEGRIP-SQ ETERNABOND DOUBLESTICK BOTTOM |
| 2 | SIMPLEGRIP-SQ ETERNABOND DOUBLESTICK TOP |
- SIMPLEGRIP-SQ ETERNABOND DOUBLESTICK BOTTOM

| Material | Eternabond |
| Finish | Gray |
CUT SHEET: L-FOOT L-102 BLK 3”
| PART NUMBER | DESCRIPTION |
| 3011015 | L-FOOT L-102 BLK 3″ |

| ITEM NO. | DESCRIPTION |
| 1 | L-102-3 ANOD BLK |
| 2 | SS HEX HD CAP SCREW, FULL THD, 3/8-16 UNC X 1.25 LONG |
| 3 | SS SERRATED FLANGE LOCK NUT, 3/8-16 |
- L-102-3 ANOD BLK

| Material | Aluminum |
| Finish | Black |
CUT SHEET: L-FOOT L-102 MLL 6″
| PART NUMBER | DESCRIPTION |
| 3011016 | L-FOOT L-102 MLL 6″ |

| ITEM NO. | DESCRIPTION |
| 1 | L-102-6 |
| 2 | SS HEX HD CAP SCREW, FULL THD, 3/8-16 UNC X 1.25 LONG |
| 3 | SS SERRATED FLANGE LOCK NUT, 3/8-16 |
- L-102-6

| Material | Aluminum |
| Finish | Mill |
CUT SHEET: L-FOOT SCL-101 MLL 3″
| PART NUMBER | DESCRIPTION |
| 3011017 | L-FOOT SCL-101 MLL 3″ |

| ITEM NO. | DESCRIPTION |
| 1 | L FOOT W/ STANDARD DIMPLE AND OPEN SLOT, 3 IN TALL MLL |
| 2 | SS HEX HD CAP SCREW, FULL THD, 3/8-16 UNC X 1.25 LONG |
| 3 | SS SERRATED FLANGE LOCK NUT, 3/8-16 |
- L FOOT W/ STANDARD DIMPLE AND OPEN SLOT, 3 IN TALL MLL

| Material | Aluminum |
| Finish | Mill |
CUT SHEET: L-FOOT SCL-101 BLK 3″
| PART NUMBER | DESCRIPTION |
| 3011018 | L-FOOT SCL-101 BLK 3″ |

| ITEM NO. | DESCRIPTION |
| 1 | L FOOT W/ STANDARD DIMPLE AND OPEN SLOT, 3 IN TALL BLK |
| 2 | SS HEX HD CAP SCREW, FULL THD, 3/8-16 UNC X 1.25 LONG |
| 3 | SS SERRATED FLANGE LOCK NUT, 3/8-16 |
- L FOOT W/ STANDARD DIMPLE AND OPEN SLOT, 3 IN TALL BLK

| Material | Aluminum |
| Finish | Mill |
CUT SHEET: CF UNIV L-FOOT MLL 3″
| PART NUMBER | DESCRIPTION |
| 2012022 | CF UNIV L-FOOT MLL 3″ |

| ITEM NO. | DESCRIPTION |
| 1 | CLICKFIT L FOOT ASSEMBLY |
- CLICKFIT L FOOT ASSEMBLY

| Material | Aluminum/Stainless Steel |
| Finish | Mill |
SYSTEM COMPONENTS
- SimpleGrip Base Assembly AL
Consists of (1) Base Plate and (1) integrated stainless steel 5/16″ threaded stud. Base Plate is 16 gauge CR Steel and 300 series stainless steel.
Consists of (1) Compression Flashing and (1) pre-assembled integrated EPDM bushing. - SimpleGrip-SQ Adhesive Top / Bottom:
Consists of (1) Adhesive Top (1) Adhesive Bottom. Patches are 6″ inches square butyl patches with peel off adhesion on both sides. - Recommended Fasteners
Self-drilling #15 roofing screws are available from Ecofasten in 2”, 3” and 4” lengths. Third party fasteners that have been approved by the engineer of record are permissible. - Recommended Sealant:
If required by roof manufacturer, sealant shall be roof manufacturer approved.
DELIVERY / STORAGE / HANDLING
Inspect material upon delivery. Notify manufacturer within 24 hours of any missing or defective items. Keep material dry, covered and off the ground until installed.
PATENTS
Visit www.efpatents.com for patent information.
DESIGN REQUIREMENTS
- Bracket spacing to be recommended by project engineer.
- Install a minimum of two fasteners per base plate.
- It is important to design new structures or assess existing structures to make sure they withstand retained loads.
EXAMINATION
- Substrate: Inspect structure on which brackets are to be installed and verify that it will withstand any additional loading that may be incurred.
- Notify General Contractor of any deficiencies before installing EcoFasten Solar brackets.
- Verify that roofing material has been installed correctly prior to installing solar attachment bracket.
INSTALLATION
Comply with architectural drawings and project engineer’s recommendation for location of system. Comply with Manufacturer’s written installation instructions for installation and layout.
SUBMITTAL
- Submit manufacturer’s written specifications.
- Submit standard product cut sheets.
- Submit installation instructions.
- Submit product specific load test data, showing ultimate and allowable load values.
4141 W.VANBURENST,SUITE2,PHOENIXAZ85009
1-877-859-3947 | [email protected]

























