
Installation Guide

Low Pro Roof Rack 159 HR
PM0102B
All Flatline Van Co products must be properly assembled and secured before attaching to your vehicle. Improper attachment could result in an automobile accident, and could cause serious bodily injury or death to you or to others involved. You are responsible for assembling and securing flatline van co products to your vehicle, checking the mounting points and attachments prior to use, and regularly inspecting the products for wear and or damage. We always recommend you use a professional to install any aftermarket accessories to your vehicle. If you have no mechanical experience and are not thoroughly familiar with the installation procedures, you must have the product installed by a professional installer or other qualified persons. The responsibility is yours and must be taken seriously for everyone’s safety. thanks.
thanks.
THANK YOU!
ARE YOU EXCITED ABOUT YOUR NEW LOW PRO ROOF RACK? HERE ARE A FEW THINGS TO DO BEFORE BEGINNING THE INSTALLATION PROCESS–
- PLEASE INSPECT THE PRODUCT TO ENSURE THERE WAS NO DAMAGE INCURRED DURING SHIPPING.
- IF THERE IS DAMAGE TO REPORT, PLEASE CONTACT OUR CUSTOMER SERVICE DEPARTMENT AS SOON AS POSSIBLE.
- NEXT, USING THE “PACKAGE CONTENTS” PAGE, CHECK INVENTORY AND FAMILIARIZE YOURSELF WITH THE PARTS AND HARDWARE.
- GATHER ALL TOOLS REQUIRED FOR INSTALL.
-5/32″ HEX KEY ALLEN WRENCH
-7/16″ WRENCH OR SOCKET
-1/2″ WRENCH OR SOCKET
TOOLS

7/16″ WRENCH 1/2″ WRENCH 5/32 ALLEN KEY
PACKAGE CONTENTS

DRIVER FRONT RAIL QTY-1

DRIVER REAR RAIL QTY-1

PASSENGER FRONT RAIL QTY-1

PASSENGER REAR RAIL QTY-1

PASSENGER MID RAIL QTY-1

DRIVER MID RAIL QTY-1

CROSSBAR QTY-7

PASSENGER FAIRING BRACKET QTY-1

CENTER FAIRING BRACKET QTY-1

DRIVER FAIRING BRACKET QTY-1
![]()
RAIL CONNECTING BRACKET QTY-4
![]()
PASSENGER RAIL FAIRING BRACKET QTY-1

DRIVER RAIL FAIRING BRACKET QTY-1

ANCHOR STUD BRACKET QTY-10

CLAMPING FOOT BRACKET QTY-10

FAIRING GASKET QTY-1

FAIRING QTY-1

STICKER PACK QTY-1
HARDWARE PACK
PM0103B | |||
![]() | 1/4-20 FLANGE HEAD SCREW QTY-58 | ![]() | 5/16-18 CARRIAGE BOLT QTY-20 |
| 1/4 FLAT WASHER QTY-36 | 1/4-20 NYLOCK QTY-30 | ||
![]() | 1/4-20 FLANGE HEAD SCREW (SHORT) QTY-6 | ![]() | 5/16-18 NYLOCK QTY-20 |
![]() | 5/16 SPRING LOCK WASHER QTY-20 | ![]() | 1/4 SPRING LOCK WASHER QTY-6 |
![]() | T-NUT INSERT QTY-6 | ![]() | 5/32 ALLEN KEY QTY-1 |
LET’S GET STARTED!
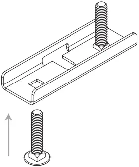
1. FIRST STEP IS TO PLACE THE ANCHOR STUD BRACKETS IN PLACE WITH THE 5/16-18 CARRIAGE BOLTS INSTALLED. SEE THE DIAGRAM BELOW AS WELL IS FIGURE 1 TO LEFT FOR REFERENCE
NOTE- THE ANCHOR STUD BRACKET SLIDES UNDER THE ANCHOR STUD ON THE ROOF. WE PREFER TO SLIDE THEM FROM THE INSIDE TOWARDS THE OUTSIDE OF THE VAN.
ANCHOR STUD BRACKET

FIGURE 1

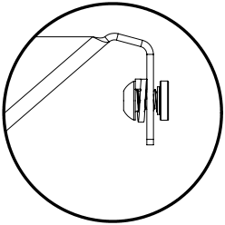
2. ONCE ALL OF THE ANCHOR STUD BRACKETS HAVE BEEN PLACED, SLIDE THE CLAMPING FOOT BRACKETS DOWN OVER THE TOP OF THEM AS SHOWN IN FIGURE 2
FIGURE 2

3. NOW YOU CAN START ATTACHING THE SIDE RAILS TO THE 5/16-18 CARRIAGE BOLTS WITH 5/16 FLAT WASHERS, AND 5/16-18 NYLOCKS AS SHOWN IN FIGURE 3. MAKE SURE TO LEAVE THEM A LITTLE LOOSE TO ALLOW FOR MOVEMENT WHEN ATTACHING THE CROSSBARS
NOTE- YOU WILL COME BACK TO TIGHTEN ALL BOLTS LATER.
FIGURE 3

4. ONCE YOU’VE GOT ALL THE SIDE RAILS UP, FASTEN THE RAIL CONNECTING BRACKETS TO THE SIDE RAILS USING THE 1/4-20 FLANGE HEAD BOLTS, 1/4 FLAT WASHERS, AND 1/4-20 NYLOCKS (SEE FIGURE 4)
NOTE- ALIGN THE SIDE RAILS AND BUTT THEM TIGHT TO EACH OTHER AS YOU TIGHTEN DOWN THE CONNECTING BRACKET BOLTS.
FIGURE 4

5. PLACE YOUR CROSSBARS IN DESIRED LOCATION, LOOSELY BOLTING THE 1/4-20 FLANGE HEAD SCREWS IN PLACE.
NOTE- LEAVE ONE (1) CROSSBAR ASIDE FOR MOUNTING THE FAIRING WHEN PLACING CROSSBARS; KEEP IN MIND THE LAYOUT OF YOUR ROOF TOP ARRAY (SOLAR PANELS, FANS, TENTS, ETC.) YOU CAN MOUNT CROSSBARS IN THE SET PAIR OF HOLES (SEE FIGURE 5), OR YOU CAN PLACE THEM IN THE SLOTS WHICH PROVIDES YOU MORE FREEDOM OF LAYOUT.
FIGURE 5

6. AFTER PLACING YOUR CROSSBARS, GO BACK DOWN AND GRAB THE CROSS BAR YOU SET ASIDE TO BEGIN PUTTING TOGETHER THE FAIRING ASSEMBLY. YOU WANT TO START WITH THE THREE (3) FAIRING BRACKETS SHOWN BELOW, AND BOLT THEM TIGHT TO THE CROSSBAR IN THE LOCATIONS SHOWN IN FIGURE 7 USING THE 1/4-20 BUTTON HEAD SCREWS, 1/4 SPLIT LOCK WASHERS, AND T-NUT INSERTS AS SHOWN IN FIGURE 6
PRO TIP- IT IS EASIEST TO BARELY GET THE T-NUT INSERTS THREADED ON TO THE BOLT AND THEN SLIDE THE BRACKETS ONTO THE CROSSBAR FROM ONE END TO THE APPROPRIATE POSITION.
FAIRING BRACKETS

FIGURE 6

FIGURE 7

7. NEXT, GRAB THE FAIRING (PLASTIC) AND THE FAIRING GASKET, AND BEGIN INSTALLING THE GASKET BY PRESSING IT ONTO THE LOWER EDGE OF THE FAIRING WITH THE BULB SIDE OF THE GASKET TO THE INSIDE (SHINY SIDE) OF THE PLASTIC. SEE FIGURE 8 & 9 BELOW.
FIGURE 8 FIGURE 9


ONCE YOU HAVE THE GASKET INSTALLED, GRAB THE FAIRING ASSEMBLY YOU PUT TOGETHER IN STEP 3, THE PLASTIC FAIRING, AND THE PASSENGER AND DRIVER SIDE RAIL FAIRING BRACKETS AND BEGIN BOLTING THEM TOGETHER AS SHOWN IN FIGURE 10 UTILIZING A 1/4-20 FLANGE HEAD SCREW, 1/4 FLAT WASHER, AND 1/4 NYLOCK FOR EACH MOUNTING HOLE. THE WASHER GOES UNDERNEATH THE NYLOCK NUT. DO NOT OVER-TIGHTEN THESE CONNECTIONS; SNUG IS PLENTY! THE MOUNTING HOLES ARE ALL SLOTTED FOR SMALL ADJUSTMENTS THAT MAY NEED TO BE MADE WHEN ATTACHING THE FAIRING ASSEMBLY TO THE ROOF RACK.
FIGURE 10

FIGURE 11 TO THE RIGHT SHOWS THE FAIRING ASSEMBLY COMPLETE; WITH IT IN HAND, CONTINUE TO NEXT STEP.
FIGURE 11

8. THIS NEXT STEP IS EASIER WITH THE HELP OF A SECOND PERSON. YOU NEED TO SLIDE THE FAIRING ASSEMBLY INTO THE FRONT OF THE RACK AS SHOWN IN FIGURE 13. ONCE IN PLACE, THREAD TWO (2) 1/4-20 FLANGE HEAD SCREWS INTO THE CROSSBAR ON EITHER SIDE. THEN GRAB TWO (2) EACH 1/4-20 FLANGE HEAD SCREW, 1/4 FLAT WASHER, AND 1/4 NYLOCK AND BOLT THE RAIL FAIRING BRACKETS TO THE SIDE RAILS. FIGURE 12 TO THE RIGHT SHOWS THE INSIDE DETAIL. THE BRACKETS ARE SLOTTED FOR ADJUSTMENT.
NOTE- THE BOLTS JOINING THE RAIL FAIRING BRACKETS TO THE RAIL SHOULD BE TIGHTENED DOWN, BUT REMEMBER THAT ONCE YOU ADJUST THE FAIRING INTO POSITION; THE BOLTS SHOULD ONLY BE SNUGGED.
FIGURE 12

FIGURE 13

FIGURE 14

9. TIGHTEN ALL CROSSBAR BOLTS USING THE 5/32 ALLEN KEY (SEE FIGURE 14)
NOTE- DO NOT OVERTIGHTEN! IF YOU ARE CONCERNED ABOUT THE BOLTS BACKING OUT, YOU CAN PUT A DAB OF BLUE LOCTITE ON THE BOLTS BEFORE TIGHTENING DOWN COMPLETELY.
FIGURE 15

10. NOW TIGHTEN SIDE RAILS DOWN TO THE LANDING PADS. READY TO HIT THE ROAD!
GET OUT AND EXPLORE!
LEAVE US A REVIEW
Happy with your new FVC product? We would love to hear (and see) from you! Head to the product page and click “Leave Review.” Add a short review and upload a few photos to be showcased on the product page.
SHARE YOUR PHOTOS WITH US
We love seeing how our customers use their FVC products and following along with your adventures. Tag us in your photos with @flatlinevanco or send them to us via email. We love posting customer pictures in our feed!
CUSTOMER SUPPORT
If you are having any issues with your product, please reach out, and we will make it right. FVC is a company of van and outdoor enthusiasts that design and use our own products, so we want you to be as stoked on your new parts as we are!
@flatlinevanco
facebook.com/flatlinevanco
youtube.com/c/flatlinevanco
[email protected]
thanks!
FLATLINE VAN CO • [email protected] • 888-667-5576
























