SP0114B Sprinter 144 Inch High Roof Standard Roof Rack
Product Information – Standard Rack 144
The Standard Rack 144 is a product from Flatline Van Co that needs to be properly assembled and secured before attaching to your vehicle. Improper attachment could result in an automobile accident, and could cause serious bodily injury or death to you or to others involved. It comes with a package that includes driver front rail, passenger front rail, driver rear rail, passenger rear rail, crossbar, fairing, spoiler, ladder hatch, driver side coupler, passenger side coupler, crossbar fairing bracket, center fairing bracket, and fairing gasket.
Product Usage Instructions
Before beginning the installation process, make sure you have the following tools – 5/32 Allen key, 7/32 Allen key, and 7/16 wrench. Follow the below instructions to install the Standard Rack 144:
- Slide six (6) rail nuts into the passenger-side factory roof rail, and eight (8) into the driver-side rail.
- Space out the rail nuts close to the final position (refer to Figure 1 for reference dimensions).
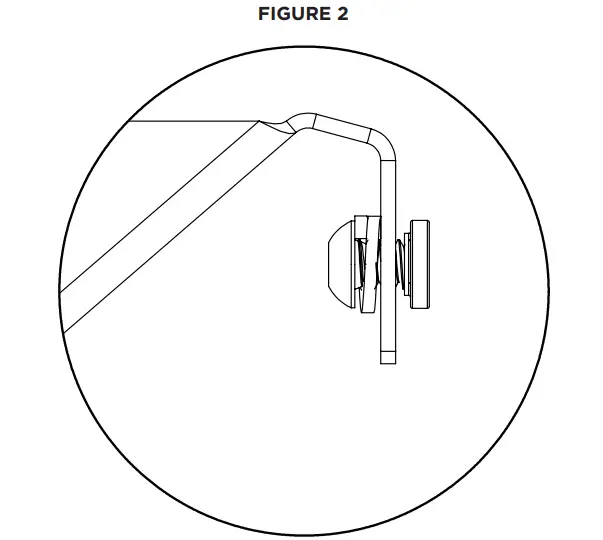
- Start putting together the fairing and spoiler subassemblies by grabbing your crossbar fairing bracket, center fairing bracket, and spoiler, and start loosely threading in the 1/4-20 button head screw, 1/4 spring lock washer, and the T-nut insert as shown in Figure 2. The center fairing bracket sandwiches over the crossbar fairing bracket in the center. There are guide slots to assist with assembly. See Figure 4 on the next page for a better view. Once you’ve gotten all the hardware threaded in, you will slide the crossbar onto the fairing; helping guide the T-nuts into the crossbar slot as you go. (See Figure 3). Center the crossbar on the fairing/spoiler and tighten all of the 1/4-20 button head screws.
- Grab the fairing (plastic) and the fairing gasket, and begin installing the gasket by pressing it onto the lower edge of the fairing with the bulb side of the gasket to the inside (shiny side).
- Assemble and secure Flatline Van Co products to your vehicle, checking the mounting points and attachments prior to use, and regularly inspecting the products for wear and/or damage. We always recommend you use a professional to install any aftermarket accessories to your vehicle. If you have no mechanical experience and are not thoroughly familiar with the installation procedures, you must have the product installed by a professional installer or other qualified persons. The responsibility is yours and must be taken seriously for everyone’s safety.
All Flatline Van Co products must be properly assembled and secured before attaching to your vehicle. Improper attachment could result in an automobile accident, and could cause serious bodily injury or death to you or to others involved. You are responsible for assembling and securing Flatline
Van Co products to your vehicle, checking the mounting points and attachments prior to use, and regularly inspecting the products for wear and or damage. We always recommend you use a professional to install any aftermarket accessories to your vehicle. If you have no mechanical experience and are not thoroughly familiar with the installation procedures, you must have the product installed by a professional installer or other qualified persons. The responsibility is yours and must be taken seriously for everyone’s safety.
THANK YOU!
ARE YOU EXCITED ABOUT YOUR NEW STANDARD RACK? HERE ARE A FEW THINGS TO DO BEFORE BEGINNING THE INSTALLATION PROCESS–
- PLEASE INSPECT THE PRODUCT TO ENSURE THERE WAS NO DAMAGE INCURRED DURING SHIPPING.
- IF THERE IS DAMAGE TO REPORT, PLEASE CONTACT OUR CUSTOMER SERVICE DEPARTMENT AS SOON AS POSSIBLE.
- NEXT, USING THE “PACKAGE CONTENTS” PAGE, CHECK INVENTORY AND FAMILIARIZE YOURSELF WITH THE PARTS AND HARDWARE.
- GATHER ALL TOOLS REQUIRED FOR INSTALL. -5/32 HEX KEY ALLEN WRENCH -7/32 HEX KEY ALLEN WRENCH -7/16 BOX WRENCH OR SOCKET
TOOLS

PACKAGE CONTENTS

HARDWARE PACK

LET’S GET STARTED!
- SLIDE SIX (6) RAIL NUTS INTO THE PASSENGER SIDE FACTORY ROOF RAIL, AND EIGHT (8) INTO THE DRIVER SIDE RAIL.

- SPACE OUT THE RAIL NUTS CLOSE TO THE FINAL POSITION SEE FIGURE 1 FOR REFERENCE DIMENSIONS.

- NEXT, WE’RE GOING TO START PUTTING TOGETHER THE FAIRING AND SPOILER SUBASSEMBLIES. GRAB YOUR CROSSBAR FAIRING BRACKET, CENTER FAIRING BRACKET, AND SPOILER AND START LOOSELY THREADING IN THE 1/4-20 BUTTON HEAD SCREW, 1/4 SPRING LOCK WASHER, AND THE T-NUT INSERT AS SHOWN IN FIGURE 2 TO THE RIGHT. THE CENTER FAIRING BRACKET SANDWICHES OVER THE CROSSBAR FAIRING BRACKET IN THE CENTER. THERE ARE GUIDE SLOTS TO ASSIST WITH ASSEMBLY. SEE FIGURE 4 ON THE NEXT PAGE FOR A BETTER VIEW.
ONCE YOU’VE GOTTEN ALL THE HARDWARE THREADED IN, YOU WILL SLIDE THE CROSSBAR ONTO THE FAIRING; HELPING GUIDE THE T-NUTS INTO THE CROSSBAR SLOT AS YOU GO. (SEE FIGURE 3)
PRO TIP: YOU ONLY WANT TO ENGAGE A COUPLE THREADS INITIALLY TO KEEP THE HARDWARE AS LOOSE AS POSSIBLE TO EASE SLIDING THE CROSSBAR THROUGH.
CENTER THE CROSSBAR ON THE FAIRING/SPOILER AND TIGHTEN ALL OF THE 1/4-20 BUTTON HEAD SCREWS.
- NEXT, GRAB THE FAIRING (PLASTIC) AND THE FAIRING GASKET, AND BEGIN INSTALLING THE GASKET BY PRESSING IT ONTO THE LOWER EDGE OF THEFAIRING WITH THE BULB SIDE OF THE GASKET TO THE INSIDE (SHINY SIDE) OF THE PLASTIC. SEE FIGURE 4 & 5 TO THE RIGHT. ONCE YOU HAVE THE GASKET INSTALLED, GRAB THE FAIRING ASSEMBLY YOU PUT TOGETHER IN STEP 3, THE PLASTIC FAIRING, AND THE PASSENGER AND DRIVER SIDE FAIRING BRACKETS AND BEGIN BOLTING THEM TOGETHER AS SHOWN IN FIGURE 6 UTILIZING A 1/4-20 FLANGEHEAD SCREW, 1/4 FLAT WASHER, AND 1/4 NYLOCK FOR EACH MOUNTING HOLE. THE WASHER GOES UNDERNEATH THE NYLOCK NUT. DO NOT OVER-TIGHTEN THESE CONNECTIONS; SNUG IS PLENTY! THE MOUNTING HOLES ARE ALL SLOTTED FOR SMALL ADJUSTMENTS THAT MAY NEED TO BE MADE WHEN ATTACHING THE FAIRING ASSEMBLY TO THE ROOF RACK.
FIGURE 7 SHOWS THE FAIRING ASSEMBLY COMPLETE, SET THE FAIRING AND SPOILER ASSEMBLIES ASIDE UNTIL STEP 7.
- NEXT STEP IS TO START LOOSELY ATTACHING THE SIDE RAILS TO THE ROOF RAILS USING THE 3/8-16 BUTTON HEAD SCREWS AND 3/8 SPRING LOCK WASHER, BUT DO NOT TIGHTEN ALL THE WAY DOWN. THIS WILL EASE IN THE ATTACHMENT OF THE CROSSBARS. (SEE FIGURE 9 FOR DETAIL)
IF YOU ARE INSTALLING A SIDE LADDER WITH YOUR ROOF RACK, DO NOT INSTALL THE LADDER HATCH.
- BEFORE YOU START ADDING CROSSBARS YOU NEED TO ATTACH THE DRIVER AND PASSENGER SIDE COUPLER PLATES. USE EIGHT (8) OF THE PROVIDED 1/4-20 FLANGE HEAD SCREWS, 1/4 FLAT WASHERS, AND 1/4-20 NYLOCK NUTS TO ATTACH THEM TO THE RAILS AS SHOWN IN FIGURE 10 & 11
PRO TIP: BUTT THE SIDE RAILS UP TIGHT TO EACH OTHER BEFORE TIGHTENING THE ATTACHMENT SCREWS.
- PLACE YOUR CROSSBARS IN DESIRED LOCATION, LOOSELY BOLTING THE 1/4-20 FLANGE HEAD SCREWS IN PLACE. LEAVE THE REAR MOST FIXED LOCATION OPEN FOR THE SPOILER ASSEMBLY.
NOTE: KEEP IN MIND THE LAYOUT OF YOUR ROOF TOP ARRAY (SOLAR PANELS, FANS, TENTS, ETC.) YOU CAN MOUNT CROSSBARS IN THE SET PAIR OF HOLES (SEE FIGURE 12), OR YOU CAN PLACE THEM IN THE SLOTS WHICH PROVIDES YOU MORE FREEDOM OF LAYOUT.
ONCE YOU’VE GOT THE CROSSBARS PLACED WHERE YOU NEED THEM; GRAB THE FAIRING ASSEMBLY AND SLIDE IT IN FROM THE FRONT OF THE RACK (A HAND TO HELP IS RECOMMENDED) AND ATTACH IT IN PLACE WITH EIGHT (8) OF THE 1/4-20 FLANGE HEAD SCREWS. THEN GRAB THE SPOILER ASSEMBLY AND SLIDE IT IN FROM THE BACK OF THE RACK AND ATTACH WITH EIGHT (8) OF THE 1/4-20 FLANGE HEAD SCREWS. (SEE FIGURE 13)
- TIGHTEN ALL CROSSBAR BOLTS USING THE 5/32 ALLEN KEY (SEE FIGURE 14) NOTE- DO NOT OVERTIGHTEN! IF YOU ARE CONCERNED ABOUT THE BOLTS BACKING OUT, YOU CAN PUT A DAB OF BLUE LOCTITE ON THE BOLTS BEFORE TIGHTENING DOWN COMPLETELY.

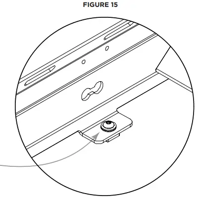
- NOW TIGHTEN SIDE RAILS TO ROOF RAIL USING THE 7/32 ALLEN KEY (SEE FIGURE 15)

- IF INSTALLING A FIAMMA F45S OR SIMILAR AWNING; WE HAVE CONVENIENTLY PLACED MOUNTING HOLES AS SHOWN BELOW IN FIGURE 12 FOR YOU TO BOLT YOUR SUPPORT BRACKETS TO; MAKING INSTALLATION A BREEZE!

GET OUT AND EXPLORE!
LEAVE US A REVIEW
Happy with your new FVC product? We would love to hear (and see) from you! Head to the product page and click “Leave Review.” Add a short review and upload a few photos to be showcased on the product page.
SHARE YOUR PHOTOS WITH US
We love seeing how our customers use their FVC products and following along with your adventures. Tag us in your photos with .@flatlinevanco or send them to us via email. We love posting customer pictures in our feed!
CUSTOMER SUPPORT
If you are having any issues with your product, please reach out, and we will make it right. FVC is a company of van and outdoor enthusiasts that design and use our own products, so we want you to be as stoked on your new parts as we are!
@flatlinevanco
facebook.com/flatlinevanco
youtube.com/c/flatlinevanco
[email protected]




ONCE YOU’VE GOTTEN ALL THE HARDWARE THREADED IN, YOU WILL SLIDE THE CROSSBAR ONTO THE FAIRING; HELPING GUIDE THE T-NUTS INTO THE CROSSBAR SLOT AS YOU GO. (SEE FIGURE 3)
FIGURE 7 SHOWS THE FAIRING ASSEMBLY COMPLETE, SET THE FAIRING AND SPOILER ASSEMBLIES ASIDE UNTIL STEP 7.


ONCE YOU’VE GOT THE CROSSBARS PLACED WHERE YOU NEED THEM; GRAB THE FAIRING ASSEMBLY AND SLIDE IT IN FROM THE FRONT OF THE RACK (A HAND TO HELP IS RECOMMENDED) AND ATTACH IT IN PLACE WITH EIGHT (8) OF THE 1/4-20 FLANGE HEAD SCREWS. THEN GRAB THE SPOILER ASSEMBLY AND SLIDE IT IN FROM THE BACK OF THE RACK AND ATTACH WITH EIGHT (8) OF THE 1/4-20 FLANGE HEAD SCREWS. (SEE FIGURE 13)


















