
CSHB/CSLB24
INDOOR/OUTDOOR STROBE HORN/STROBE COMBINATION


- Unit alone is UL Listed for outdoor use
- Low current consumption
- Wide operating voltage range
- AWG #18 lead wire connection
- Mounts to SBX-1 outdoor box, SBP-1 plastic mounting plate (optional), or SBP-2 plate (included) on single gang back box
- ALERT decal included
- Available in red or gray housing
- Available strobe colors: Amber, blue, green, and red
The Amseco’s Outdoor Colored Strobe utilizes a patented design that produces a true color output. The CSLB and CSHB offer a slim look with a stylish round strobe. The CSLB and CSHB colored strobes and colored strobe/horns are listed indoor or outdoor applications and are completely sealed units. The colored coded flying leads provide a simple connection of one or multiple devices. The strobe/horn combinations are selectable with either a continuous or ANSI Temporal 3 output.
These strobes are used in various applications such as Mass Notification, Severe Weather Warning, Machine Operation, Industrial Detection Systems, Access Control and many, many more. These devices are UL listed for general signaling (UL 1638) and comply with the requirements for signaling of the hearing impaired (UL 1971). The bodies of the strobes are available in red or gray. The strobes are designed for 24 VDC, however will operate anywhere between 16 and 33 VDC.
Ordering Information

* Contact Potter before ordering
Engineering Specifications
The Amseco CSLB24 colored strobe or CSHB24 colored strobe/horn shall be provided for visual (and audible with CSHB) notification. The device shall be completely sealed and listed for both indoor and outdoor installations. For outdoor installations, the SBX-1 back box shall be provided. The devices shall be UL listed for General Signaling and shall comply with light output requirements of UL 1971 for spacing. The colored strobes shall have a minimum light output of 15 cd. The reflective mirror shall be the same color as the lens to produce a true color of amber, red, blue or green. The strobe shall operate between 16 and 33 VDC regulated or full wave rectified. The strobe shall flash a minimum of once a second continuously at 16 VDC.
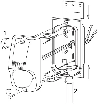
Installation
SBX-1

- Mounting Screw Covers
- Conduit Connector and Pipe
SBP-1

- Single Gang Box
- 4″ Standard Box
Dimensions: inches (mm)

SBX-1 Surface Mount Back Box

SBP-1 Plate

Bottom View Side View

Front View Back View
Wiring Diagram
WIRING 1
Strobe and Horn in Unison

- Control Panel
- To Next Device or End-of-Line Resistor
WIRING 2
Strobe and Horn Independently

- F.A.C.P.
Horn Signal Circuit - F.A.C.P.
Strobe Signal Circuit - To Next Device or End-of-Line Resistor
WIRING 3 Wiring Diagram for Audible Strobe Class “B” Circuit without Audible Silence Feature

- F.A.C.P.
Signal Circuit - To Next Device or End-of-Line Resistor
WIRING 4
Wiring Diagram for Audible Strobe Class “B” Circuit with Audible Silence Feature (CSHB24)

- F.A.C.P.
Strobe Signal Circuit - F.A.C.P.
Horn Signal Circuit - To Next Device or End-of-Line Resistor
Wire Color: Horn: 2 – Orange (+) 2 – White (-) Strobe: 2 – Red (+) 2 – Black (-)
PRINTED IN USA MFG. #5401401 – REV A

















