saxby lighting ST031FPIR Bianco PIR Outdoor Automatic Wall Light

Thank you for purchasing this light fitting
Please read the instructions carefully before use to ensure safe and satisfactory operation of this product. Please retain these instructions for future reference.
Warning
This light fitting is Double Insulated and does not require connection to an Earth circuit.
- Please read these instructions carefully before commencing any work.
- This unit must be fitted by a competent and qualified electrician.
- Install in accordance with IEE Wiring regulations and current Building Regulations.
- To prevent electrocution switch off at mains supply before installing or maintaining this fitting. Ensure other persons cannot restore the electrical supply without your knowledge.
- This light fitting should be connected to a 5 amp fused circuit.
- If replacing an existing fitting, make a careful note of the connections.
- Always use the correct type and wattage bulb. Never exceed the wattage stated.
- When changing a bulb, always switch off at the mains and allow the old bulb to cool down before handling.
- Dispose of used bulbs carefully and responsibly.
- Waste electrical products should not be disposed of with household waste. Please recycle where facilities exist. Check with your local authority or retailer for recycling advice.
- This product is rated at IP44.
- This product is not suitable for locations in or near a marine or sea environment.
- The entire unit gets hot whilst on for a period of time.
Specification
- Voltage: 220-240V~ 50Hz
- Lamp: Max. 60W E27 GLS
- IP rating: 44

Layout
- Plan the desired layout of this fitting carefully, ensuring the cables will reach the distance between the junction box and the light fitting.
- Avoid locating any cables in positions that would cause a hazard. Position cables and outdoor rated junction boxes (not supplied) away from areas where they may be at risk from being cut, trapped or damaged.
- We recommend that you use the HOSRN-F specification cable (not supplied) which is an outdoor grade, rubber-sheathed cable. The mains supply cable must have a minimum cross-sectional area of 1.0mm2
- Cables must be protected using suitable conduit or plastic trunking.
Installation
Existing fittings must be completely removed before the installation of a new product. Before removing the existing fitting, carefully note the position of each set of w.ires.
Existing fittings must be completely removed before the installation of a new product. Before removing the existing fitting, carefully note the position of each set of wires.
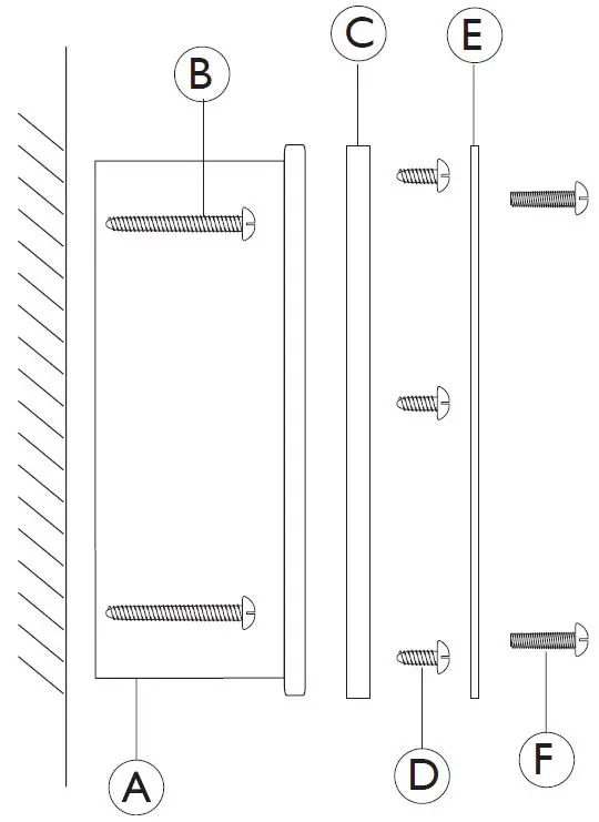
- Undo the two front screws (F) on the stainless steel plate (E) and remove the plate.
- Undo the 6 screws (D) and washers on the plastic cover (C) and remove the cover.
- Hold the product in place and mark the position of the holes. Ensure that the product is level. Ensure the wall is capable of holding the weight of the product. Take care to avoid damaging any concealed wiring and pipes. The correct fixings should be used for brick, cavity walls or plasterboard.
- Pull supply wires through rubber grommet on wall back
- Fix the wall back to the wall using screws and plugs (B).

Wiring
Having correctly identified the wiring from your existing light fitting, pull the wire through the grommet at the rear of the fixture making sure that the seal is still present. Connect to the connection block inside the product in the following way:
- Remove the cover from the terminal block.
- Connect the incoming live and neutral cable to the terminals. Live supply to the terminal marked L, (brown wire) and neutral supply to the terminal marked N (blue wire) (See Below). Ensure connections are tight. This unit is double insulated and must not be earthed. If there are any incoming earth cables, they must be joined together and well insulated with good quality insulation tape. This is to ensure earth continuity throughout your property.
- Replace the cover on the terminal block.

Check That
You have correctly identified the wires. The connections are tight. No loose strands have been left out of the connection block.
Commissioning
- Replace the plastic cover and stainless steel plate ensuring that the screws are securely tightened.
- Replace fuse or circuit breaker and switch it on. Your light is now ready for use.
PIR Adjustment
The unit must be installed in a vertical position and fitted 2m-4.Sm above the ground. The detection range is fixed to a maximum of 7 meters. The PIR sensor can be adjusted. The detection angle is set at I 00 degrees. The duration that the lamp stays on can be altered from 6 seconds – 5 minutes by turning the “TIME” screw with a small screwdriver. The daylight sensitivity is adjustable by turning the “BRIGHT” screw.
Fitting/Replacing Bulbs
- When changing a bulb, always switch off at the mains and allow the bulb to cool before handling. Dispose of used bulbs carefully.
- Do not exceed the wattage stated or use a different shape bulb from that indicated on the fitting.

Care and Cleaning
- We recommend cleaning with a soft dry cloth.
- Do not use solvents or abrasive cleaners as these could damage the finish.
- Glass parts – Remove and wash in warm water or just use a damp cloth. Do not use abrasive materials as these will damage the finish.
- To prolong the life and keep your outdoor lighting in good condition, it is recommended that the metal part is periodically cleaned using a soft cloth followed by the application of a light coating of oil, such as WD40.
Recycling Advice
Waste electrical products should not be disposed of with household waste. Please recycle where facilities exist. Check with your Local Authority or retailer for recycling advice.
Safety Information
Live Voltages may be present in this unit even when turned of or when completely disconnected. For your safety, always switch off the supply before changing lightbulbs, or cleaning. This system contains non-replaceable parts and cannot be serviced. If damage occurs the part should be scrapped.
The shade must be replaced immediately should the shade become cracked or damaged. This fitting must not be used without the shade in place.
Saxby Lighting Ltd.
UK Manufacturer: BH17 7BY EU Manufacturer: Brilliant AG, Brilliantstrasse 1, D-27442 Gnarrenburg.






















