Oil Rubbed Bronze Traditional Canopy Kit for Ceiling Light
Installation Guide
Oil Rubbed Bronze Traditional Canopy Kit for Ceiling Light

Can also be used to replace worn or broken parts.
Kit Includes:
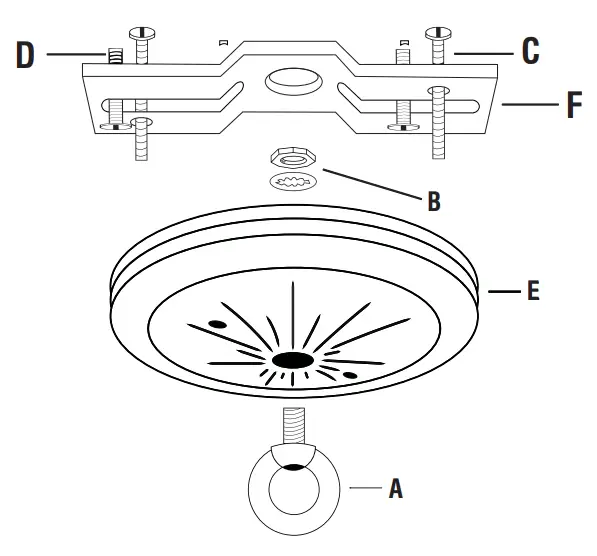
- 1 Canopy (E), 1 Crossbar (F), 4 Mounting Screws (C & D) ,
- Lock Washer (B), 1 Lock Nut (B), 1 Screw Collar Loop (A), 2 Cap Nuts
INSTRUCTIONS:
- Turn off power supply. Install and use this product according to your local electrical codes and regulations.
- If the lighting fixture is mounted to a ceiling outlet box, the box must be supported directly by the building structure and be capable of supporting up to 50 lbs.
- Attach the threaded loop (A) to the canopy (E) using the nut and lock washer (B) provided. Tighten. Thread both 1 in screws (C) into the threaded holes from the offset side of the crossbar (F).
- Mount the crossbar to the ceiling box using both 1/2 in screws (D). Tighten until the bracket is flush with the ceiling.
- Pass fixture wires through hold in loop to the back of canopy.
- While supporting the fixture, connect fixture wires to current supply wires in ceiling outlet box. Use wire connectors following manufacturer’s directions.
- While supporting the fixture at the canopy, attach the canopy to the ceiling box using the cap nuts . Tighten securely. Be sure the fixture wires are carefully placed inside the ceiling outlet box.
Recycle Claire
FOR ASSISTANCE, CALL:
1-877-527-0313
HOMEDEPOT.COM
MODEL:804764
DISTRIBUTED BY: HOME DEPOT
2455 PACES FERRY RD.
ATLANTA, GA 30339
MADE IN VIETNAM















