
your global source for unique lighting + home decor
MODEL NO.: 21090
READ AND SAVE THESE INSTRUCTIONS
Installation Guide
MODEL NO.: 21090

Total Height W/Downrod 18.5″ Total Height W/Flush Mount 1.5″
You may install your ceiling fan as a flush mount, or you may use the provided down rod(s). Measure your room height before installing the fan and consider the different installation height options indicated in the above diagram.

Weight of Appliance: 8.6kg/19lb
Model No. 21090
Professional Installation Recommended
Note: Approximate Time of Assembly: 30 Minutes to 1 Hour
PRINTED IN CHINA
SAFETY TIPS
WARNING: To reduce the risk of electrical shock, turn off the electricity to the fan at the main fuse box or circuit panel before you begin the fan installation or before servicing the fan or installing accessories.
1. READ ALL INSTRUCTIONS AND SAFETY INFORMATION CAREFULLY BEFORE INSTALLING YOUR FAN AND SAVE THESE INSTRUCTIONS.
CAUTION: To avoid personal injury, the use of gloves may be necessary while handling fan parts with sharp edges.
1. Make sure all electrical connections comply with Local Codes or Ordinances, the National Electrical Code, and ANSI/NFPA 701999. If you are unfamiliar with electrical wiring or if the house/building wires are different colors than those referred to in the instruction please use a qualified electrician.
2. Make sure you have a location selected for your fan that allows clear space for the blades to rotate and at least seven (7) feet (2.13 meters) of clearance between the floor and the fan blade tips. The fan should be mounted so that the tips of the blades are at least thirty (30) inches (76 centimeters) from walls or other upright structures.
3. The outlet box and ceiling support joist used must be securely mounted, and capable of supporting at least 50 Pounds (23 kilograms). The outlet box must be supported directly by the building structure. Make sure the electrical box that will hold the ceiling fan is fan-rated. There should be an inscription on the box indicating it.
WARNING: To reduce the risk of fire, electrical shock, or personal injury, mount to the outlet box marked “Acceptable for Fan Support,” and use the mounting screws provided with the outlet box. Most outlet boxes commonly used for the support of lighting fixtures are not acceptable for fan support and may need to be replaced. Consult a qualified electrician if in doubt.
WARNING: To reduce the risk of fire, electrical shock, or personal injury, wire connectors provided with this fan are designed to accept only one 12 gauge house wire and two lead wires from the fan. If your house wire is larger than 12 gauge or there is more than one house wire to connect to the two fan lead wires, consult an electrician for the proper size wire connectors to use.
4. After making electrical connections, spliced conductors should be turned upward and pushed carefully up into the outlet box. The wires should be spread apart with the grounded conductor and the equipment-grounding conductor on opposite sides of the outlet box.
WARNING: To reduce the risk of electrical shock, fire and to prevent humming noise do not use this fan with any solid state speed control device or control fan speed with a full range dimmer switch. Using a full range dimmer switch to control fan speed will cause a loud humming noise from fan.
5. Do not operate the reverse switch until fan has come to a complete stop.
6. Do not insert anything between the fan blades while they are rotating.
WARNING: To reduce the risk of personal Injury, do not bend the blade brackets when installing the brackets, balancing the blades, or cleaning the fan. Do not insert foreign objects in between rotating fan blades.
WARNING: To avoid personal injury or damage to the fan and other items, be cautious when working around or cleaning the fan.
7. Do not use water or detergents when cleaning the fan or fan blades. A dry dust cloth or lightly dampened cloth will be suitable for most cleaning.
WARNING: To reduce the risk of personal injury, use only parts provided with this fan. The use of parts OTHER than those provided with this fan will void the warranty.
NOTE: The important safety precautions and instructions appearing in the manual are not meant to cover all possible conditions and situations that may occur. It must be understood that common sense and caution are necessary factors in the installation and operation of this fan.
8. This appliance is not intended for use by persons (including children) with reduced physical, sensory or mental capabilities, or lack of experience and knowledge, unless they have been given supervision or instruction concerning use of the appliance by a person responsible for their safety.
9. Children should be supervised to ensure that they do not play with the appliance.
10. CAUTION: MOUNT WITH THE LOWEST MOVING PARTS AT LEAST 2.1 METRES ABOVE FLOOR OR GRADE LEVEL.
11. WARNING: All set screws must be checked, and retightened where necessary, before installation.
12. WARNING: If unusual oscillating movement is observed, immediately stop using the ceiling fan and contact the manufacturer, its service agent or suitably qualified persons.
13. The replacement of parts of the safety suspension system device and the mounting of the suspension system shall be performed by the manufacturer, its service agent or suitably qualified persons.
14. The fixing means for attachment to the ceiling such as hooks or other devices shall be fixed with a sufficient strength to withstand 4 times the weight of the ceiling fan.
1. Unpacking Your Fan
Carefully open the packaging. Remove items from styrofoam inserts. Remove motor housing and place on a soft, dry surface to avoid damage to finish. Do not discard fan carton or styrofoam inserts should this fan need to be returned. Check against parts inventory (listed below) that all parts have been included.

2. Parts Inventory
Canopy
| Canopy
| Down rod 6”
| Down rod cover
|
| Motor housing
| Light Kit
| Bulbs (2)
| Blade arms (5)
|
Blades(5)
| Shade
or
| Hardware bag (16 sets for Blades assembly)
| Balancing kit
|
Hardware bag
a) Pull chain Fob | |||
Bulb Specifications:
Light kit – E26, Type A, 8W (LED-2700K-Dimmable) x 2
Alternative Bulb Usage: CFL or Incandescent Bulbs may be used. Ensure the Max. Wattage indicated on the socket labels is not exceeded, and verify the bulbs do not get in contact with any metal part of the fan components (shade or motor housing)
WARNING: DO NOT EXCEED INDICATED MAX BULB WATTAGE
Note for Stained Glass shade items: The stained glass shade has been protected with mineral oil as part of the finishing process. Please use a soft dry cloth to remove any excess oil.
3. Tools Required
- Step ladder
- Pliers
- Screwdriver (flat head and phillips)
- Electrical tape
- Circuit tester

4. Installation Preparation
To prevent personal injury and damage, ensure that the hanging location allows the blade a clearance of 7ft (2.13m) from the floor and 30 in (76cm) from any wall or obstruction.
The fan is suitable for room sizes up to 400 square feet (37.2 square meters).
This fan can be mounted with a down rod on a normal or vaulted ceiling. Down rod is included, 6″ length.
This fan can also be mounted using flush mount installation as seen in diagram.
WARNING: All set screws must be checked, and retightened where necessary, before installation.

- blade edge
downrod installation flushmount installation

- Vaulted ceiling angle is not to exceed 25 degrees.
5. Hanging Bracket Installation
Turn off circuit breakers to current fixture from breaker panel and be sure operating light switch is turned to the OFF position.
WARNING: Failure to disconnect power supply prior to installation may result in serious injury and fire hazard.
Remove existing fixture
WARNING: When using an existing outlet box, be sure the outlet box is securely attached to the building structure and can support the full weight of the fan. Ensure the outlet box is clearly marked “Suitable for Fan Support”. If not, it must be replaced with an approved outlet box. Failure to do so can result in serious injury.

CAUTION: Be sure outlet box is grounded properly and that a ground wire (green or bare) is present.
Partially loosen screws in slotted holes of canopy. Remove the other 2 screws (along with the star washers) -save for later use. Twist canopy to remove the hanging bracket.
Install hanging bracket to outlet box using original screws, spring washers and flat washers provided with new or original outlet box. If installing on a vaulted ceiling, face opening of Hanging Bracket towards high point of ceiling. Arrange electrical wiring around the back of the hanging bracket and away from the hanging bracket opening.
CAUTION: It is very important that you use the proper hardware when installing the hanging bracket as this will support the weight of the fan.

- Hanging bracket
- Flat washers
- Lock washers
- Outlet box washers
ELECTRICAL OUTLET BOX
WARNING: Contact a qualified electrician to replace the outlet box if it is not suitable for ceiling fans
WARNING: To Reduce The Risk Of Fire, Electric Shock, Or Personal Injury, Mount To Outlet Box Acceptable for Fan Support of 15.9 kg (35 lbs) or less And Use Mounting Screws Provided With The Outlet Box. Most Outlet Boxes Commonly Used For The Support of Luminaires Are Not Acceptable For Fan Support And May Need To Be Replaced. Consult A Qualified Electrician If In Doubt. MOUNT ONLY TO AN OUTLET BOX MARKED ACCEPTABLE FOR FAN SUPPORT.
- If there is an existing outlet box, ensure it is clearly marked “Suitable For Fan Support”. If not, it must be replaced with an approved one.
- Secure the outlet box (or make sure the existing box is secured) directly to the building structure. Use appropriate fasteners and building materials. Wood joist and outlet box must be able to support a minimum of 50 pounds.
- Figure 1, 2 and 3 are examples of different ways to mount the outlet box in different situations.
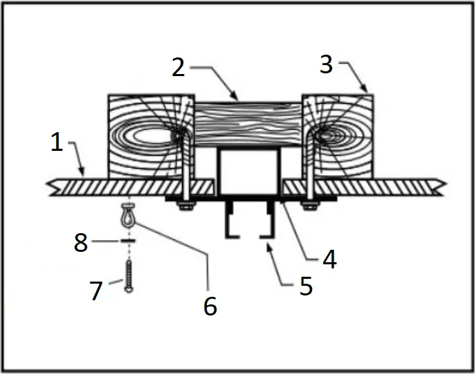
- To hang the fan in locations where no ceiling joists is available. A hanger support bar may be required (Fig. 4)

- Outlet box
- Strong support needed
- Ceiling mounting plate
- Hanger support
(not included)
*Required for Canadian Installation ONLY*
To ensure consumer safety and satisfy Canadian regulatory requirements, a safety support cable is provided to help prevent the ceiling fan from falling. To install, please follow the instructions below.
Parts
Flat Washer 2 Wood screws 2
![]()
![]()
Onisuke 2 Ear Ring 1
1. Using the provided screw, attach the safety cable hook to the ceiling joist near the mounting bracket. Ensure the cable hook is covered by the canopy.

- Ceiling
- Wood Member
(2″ x 4″ Approx.) - Ceiling Joist
- Junction Box
- Hanger Bracket
- Safety Cable Hook
- Dry Wall Screw
- Washer

2. Adjust the length of the safety cable to reach the safety cable hook by sliding the cable through the nut until the desired length is reached. Then, form the loop by threading the cable back through the cable and firmly securing. Place the loop onto the safety cable hook.
Note: Although the safety support cable is only required for Canadian installation, it is recommended that it is utilized with any installation
6. Flush Mount Assembly
NOTE: If assembling with down rod, proceed to Step 7
1. Remove round rubber ring from canopy
2. Thread the electrical wires through the canopy
3. Remove every other screw on the motor housing (3 screws total)
WARNING – Ensure you only remove every other screw, others must remain firmly tightened.
4. Attach the canopy to the motor housing securely with the three (3) removed screws. Tighten firmly.
5. Continue to Step 8 for wiring

- Remove every other screw on the motor housing total of 3 screws
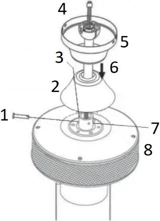
7. Assembly with Down Rod
1. Remove pin and clip from down rod. Slide the down rod through the canopy and the down rod cover as shown in figure
2. Thread the electrical wires through the down rod and pull the extra wire slack through the down rod
Tip: Apply a small piece of electrical tape to the ends of the electrical wires to keep them together when threading them through the down rod
3. Loosen the yoke set screw. Place the down rod into the motor housing yoke and re-insert the previously removed pin and clip. Tighten yoke screw securely
4. With the hanging bracket fully secured to the outlet box, you are now ready to hang your fan. Grab the fan securely with two (2) hands. Place the down rod ball into the hanging bracket and rotate until the ball sits securely in the hanging bracket tab

- Pin
- Down rod cover
- Yoke set screw
- Electrical wiring
- Canopy
- Down rod
- Clip
- Motor housing
8. Ceiling Fan Wiring
WARNING: Failure to disconnect power supply prior to the installation may result in serious injury and fire hazard
Important: Be sure outlet box is properly grounded or that a ground wire (GREEN or bare) is present.
Make sure all electrical connections comply with Local Codes or Ordinances and the National Electrical Code. If you are unfamiliar with electrical wiring, or if the house/building wires are different colors than those referred to in the instructions, please use a qualified electrician.
When down rod is secured in place on the hanging bracket, electrical wiring can be made.
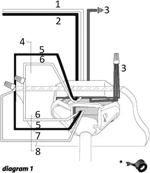
Wiring Instructions (Diagram 1)

- white supply wire
- black supply wire
- ground (green or bare)
- from ceiling
- black
- white
- blue
- from fan
Using wire nut provided, connect BLACK and BLUE wires from fan to BLACK wire from ceiling.
The wires should be spread apart with the grounded conductor and the equipment grounding conductor on one side of the outlet box and the ungrounded conductor on the other side of the outlet box.
Using wire nut provided, connect WHITE wire from fan to WHITE wire from ceiling. Connect the installing ground wire (Green or bare) to the ground wire located on the down rod end.
The splices, after being carefully made, should be turned upward and pushed carefully up into the outlet box.
Note: Wrap each wire nut separately with electrical tape as an extra safety measure.
Important:
Make sure all electrical connections comply with Local Codes or Ordinances and the National Electrical Code. If you are unfamiliar with electrical wiring, or if the house/building wires are different colors than those referred to in the instructions, please use a qualified electrician.
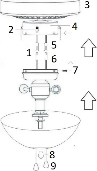
9. Canopy Assembly
- Loosen the four (4) screws/washers on the side of the hanging bracket
- Lift canopy to the hanging bracket, and secure the canopy with the four (4) screws/washers. Securely tighten screws

- screws
- hanging bracket
- canopy
10. Blade Assembly
1. Locate fifteen (15) screws/washers in the hardware pack
2. Hold blade arm up to blade and align the three (3) holes
3. Insert three (3) screws/washers with fingers, and tighten with a phillips screwdriver
4. Repeat Step 3 for the remaining blades

- Reverse switch
- Motor housing
- Blade screws and washers
- Blade
- Blade arm
- Blade and screws and washers
Attaching Blades to Motor Housing
5. Remove blade arm screws and lock washers from the motor housing and set aside
6. Remove motor shipping pads, discard pads and save the screws
7. Align the blade arm holes with the motor housing holes and attach the two (2) screws/washers. Fasten securely
8. Repeat Step 7 for the remaining blade arms

- Motor shipping Pad
11. Light Kit Assembly
- Remove the three (3) screws from the light kit and set aside
- Plug the connector from the light kit into the connectors from the switch housing
- Correct wiring
o White to White
o Black to Blue - Gently push the connectors into the switch housing and align the holes in the light kit with the holes in the switch housing. Secure the light kit with the three (3) removed screws
- Install the provided bulbs (See Page 3 for bulb type)
o Ensure the bulbs are securely fastened into the sockets - To attach shade, remove the finial from the threaded pipe and set aside
- Insert the pull chains through the designated holes in the shade, and attach the pull chain extensions
- Insert the shade onto the threaded pipe and re-attach the finial, being careful not to overtighten

- WHITE
- Reverse switch
- Motor housing
- Switch housing
- BLACK
- BLUE
- Light kit screws (3)
- Finial
- Pull chains
WARNING: DO NOT EXCEED INDICATED MAX BULB WATTAGE
Alternative bulbs usage: CFL or Incandescent bulbs may be used. Ensure the Max. Wattage indicated on the socket labels is not exceeded, and verify the bulbs do not get in contact with any metal part of the fan components (shade or motor housing)
Tiered Shade Installation (if applicable)
- Remove the three (3) screws from Shade A and set aside
- Thread the pull chains through the designated holes in Shade B
- Align the three (3) holes from Shade B with the holes in Shade A and insert the three (3) removed screws

- Light kit
- Pull chains
- Shade A
- Shade nut (or Finial)
- Shade B
- Screws
Ceiling Fan Troubleshooting Guide
Welcome to the River of Goods family! We’re honored you’ve decided to include one of our ceiling fans in your home.
| Problem | Solution |
| Fan/Lights do not start |
|
| Fan is noisy |
|
| Fan does not move much air |
|
| Fan shakes or wobbles |
|
MAINTENANCE
- The fan natural movements may cause some connections to work loose. A clicking or rattling noise is a certain sign of loosening screws. Check the support connections, brackets and blade attachment twice a year, and tighten all screws as necessary.
- Clean your fan periodically. Use only a damp cloth (never use solvents), and dust with a soft cloth or brush.
- You will never need to oil your fan, its permanently sealed bearing will prevent noise.
- Make sure the power is turned off at the main fuse or circuit panel before you attempt any repairs.































