edbak STD17 Flat Screen Stand and Trolley

Instruction
Warning
Please read this manual before starting the installation to ensure correct assembly. The assembly should be carried out in accordance with this manual by at least two fully qualified people. The EDBAK Company shall not be liable for any injuries or damage to material or property caused by incorrect assembly. Hence please ensure that:
- during the assembly all the instructions are followed carefully. Failure to do so may result in damage to the product or property, or even personal injury;
- before assembly you must ensure that there are no power cables, or water, sewage or gas pipes in the area of the ceiling where the mount is to be fixed;
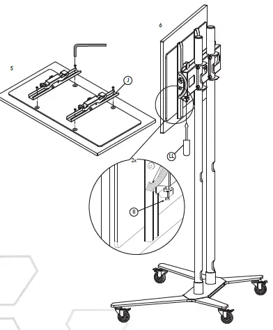
- when attaching the projector to the mount, please ensure that the screws are of the correct length and diameter. In order to ensure the correct fit, use the plastic spacers supplied. Use of the wrong screws may result in permanent product damage. Extra caution should be taken with movable parts in order to avoid crushing or pinching your hands or fingers. The movable parts are identified in this manual.
The terms of the product guarantee are detailed in the guarantee card.
PART LIST
![]() | JJ | 1x |
| KK | 1x | |
![]() | LL | 1x |

![]() | M8 | A07 | 4x |
![]() | M5 | A08 | 4x |
![]() | 3mm | A09 | 1x |
![]() | 4mm | A10 | 1x |
![]() | 5mm | A11 | 1x |
![]()
| 6mm | A12 | 1x |
![]() | A | 1x |
![]() | B | 2x |
![]() | C | 1x |
![]() | D | 1x |
![]() | E | 1x |
![]() | F | 4x |
![]() | G | 2x |
![]() | H | 1x |
![]() | I | 2x |
![]() | J | 2x |
![]() | M10x20 | AA | 12x |
| M8x20 | B | 4x | |
![]() | 8 | CC | 20x |
![]() | M10x30 | DD | 4x |
![]() | 10 | EE | 4x |
![]() | 8 | FF | 16x |
![]() | M8x1,25 | GG | 8x |
![]() | M8x25 | HH | 8x |
![]() | M6x50 | II | 2x |
















































