WorkFit™ C Dual 
For the latest user installation guide please visit www.ergotron.com
IMPORTANT! This product will need tension adjustments once the installation is complete. Make sure all equipment is properly installed on the product before attempting a range of motion or tension adjustments. Any time equipment is added or changed on this product resulting in a different mounted weight, you should repeat the adjustment steps to ensure safe and optimum operation. This product should move smoothly and easily through the full range of motion and stay where you set it. If movement is difficult or the product does not stay where you set it, follow the adjustment instructions to loosen or tighten the tension to create a smooth, easy motion.
Depending on your product and the adjustment, it may take many turns to notice a difference.
WARNING
IMPACT HAZARD

MOVING PARTS CAN CRUSH & CUT
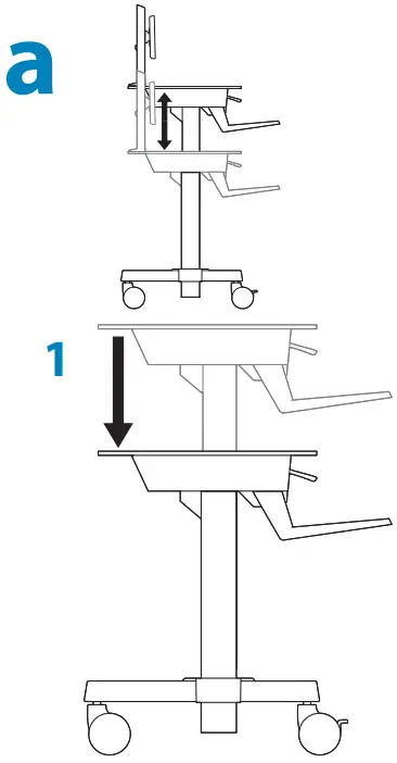
Do not remove the zip tie and cardboard spacer which keep the hand brake from disengaging until instructed in the manual. Removing the zip tie before the cart is unpacked and standing upright may cause unintended motion of the riser. Failure to heed this warning may lead to personal injury or equipment damage.

Do not tip the cart over on the side. The cart must remain upright at all times. Tipping the cart on the side may cause unintended motion of the riser. Failure to heed this warning may result in serious personal injury or property damage!

For more information on the safe set-up, adjustment and use of this product refer to the user manual at www.ergotron.com or contact Ergotron Customer Care at 1-800-888-8458.
823-106-00













19
Adjustment
WARNING
IMPACT HAZARD

Moving Parts Can Crush And Cut!
Minimize Lift Tension BEFORE:
- Removing Mounted Equipment
- Shipping Cart or Storing Cart
To Minimize Lift Tension
- With the cart upright, lower the worksurface to the lowest position.
- Turn the adjustment nut at bottom of the riser counterclockwise until it stops (Adjustment may require 40-60 revolutions).).

Failure to heed this warning may result in serious personal injury or property damage!

Cart Must Remain Upright! Tipping Cart On Side May Cause the Work Surface to Disengage Causing Serious Personal Injury and Property Damage.
For more information and instructions refer to the product guide at www.ergotron.com or contact Ergotron Customer Care at 1-800-888-8458.
Follow these instructions to tighten or loosen tension.

WARNING
Cart Must Remain Upright! Tipping Cart On Side May Cause the Work Surface to Disengage Causing Serious Personal Injury and Property Damage.



Learn more about ergonomic computer use at: www.ergotron.com/ergonomics
For the latest User Installation Guide please visit: www.ergotron.com
For Warranty visit: www.ergotron.com/warranty
For Service visit: www.ergotron.com
For local customer care phone numbers visit: http://contact.ergotron.com
www.ergotron.com
USA: 1-800-888-8458
Europe: +31 (0)33-45 45 600
China: 400-120-3051
Japan: [email protected]
© 2019 Ergotron, Inc. All rights reserved. WorkFitt” is a registered trademark of Ergotron, Inc.
While Ergotron, Inc. makes every effort to provide accurate and complete information on the installation and use of its products, it will not be held liable for any editorial errors or omissions (including those made in the process of translation from English to another language), or for incidental, special or consequential damages of any nature resulting from furnishing this instruction and performance of equipment in connection with this instruction. Ergotron, Inc. reserves the right to make changes in the product design and/or product documentation without notification to its users. For the most current product information, or to know if this document is available in languages other than those herein, please contact Ergotron. No part of this publication may be reproduced, stored in a retrieval system, or transmitted in any form or by any means, electronic, mechanical, photocopying, recording, or otherwise without the prior written consent of Ergotron, Inc.,1181 Trapp Road, Eagan, Minnesota, 55121, USA Patents Pending and Patented U.S. & Foreign. Ergotron is a registered trademark of Ergotron, Inc.
888-24-166-W-03 rev.F
















