RUSKIN CFD7T Ceiling Dampers for Wood Truss Assemblies

APPLICATION
Model CFD7T is designed to function as a heat barrier in HVAC openings penetrating ceilings constructed from wood trusses. The CFD7T has been UL tested to provide protection in UL ceiling design L528, L546, L558, L574, L585, L586, L592, P533, P538, P545, P548, P580 and H502. without the added requirement for insulated boots, boxes or plenums.
DAMPER MODELS
- CFD7T – No Plenum Box
- CFD7T-IB6 – R6 Duct Lined Stl. Plenum Box (Max 1 sq. Ft.)
- CFD7T-SB – Steel Plenum Box
- CFD7T-90-BT – 90-degree Boot
- CFD7T-END-BT – End Boot
- CFD7T-ST-BT – Stright Boot
- CFD7T-R6-DB – R6 Duct Board
SYSTEM COMPONENTS
The ceiling damper and associated components (air devices, duct, duct drop, etc.) must be constructed of steel. The grille/diffuser frame shall be a minimum of 26 gauge (0.55) steel. For nonferrous air devices or through ceiling membrane penetration a steel plaster flange is required. The flexible duct must be class 0 or 1 type and bear the UL listing mark and shall be attached to the plenum collar with steel clamps, plastic straps, or a minimum 18 gauge steel wire. The fiberglass duct board plenum box shall be UL 181 listed. Field-supplied plenum boxes not to exceed 10 Ib. The installation and air device shown in these instructions illustrates general arrangements only. Installation must incorporate applicable requirements for the specific Floor/ceiling or Roof/ceiling construction in the UL Fire Resistance Directory.
CEILING PENETRATIONS
Ceiling penetrations should be located between adjacent truss and RC or Furring channels. If required, a maximum of one RC or Furring channel may be cut or notched to enable proper damper location. The clearance between the damper assembly and the cutout in the ceiling material shall be a maximum of 1/8” (3) on any side.
CEILING PENETRATIONS
- Support Angle to Damper: minimum of two #8 sheet metal screws, 3/16” (4) tubular rivets, tack or spot-welds per angle.
- Support Angle to Truss: minimum of #8 x 3/4” long screw or #6 penny nail 1” long (25).
- Grill/Diffuser frame to damper: minimum of two #8 x 1 1/4” (32) min. screws through the ceiling material and into the plaster flange or sub-frame.
- Retaining Angle to Plaster Flange or Sub-frame: minimum of #8 x 1 1/4” (32) min. screws through the ceiling material and into the plaster flange or sub-frame. One screw per side required on units 10” (254) long and under, and two screws per side on units above 10” (254) long. Round units maximum of 3 screws required.
- Make sure fasteners do not interfere with the damper operation.
UL CLASSIFIED
- UL555C Listing R8039

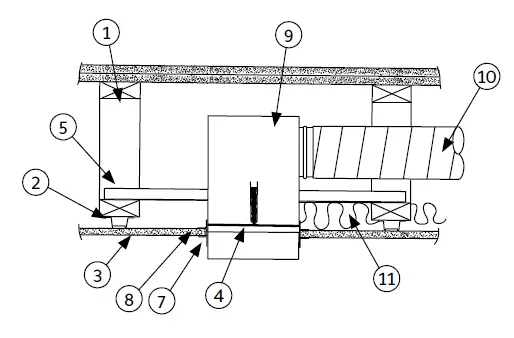
CFD7T UNDUCTED OR FLEX DUCT

DESCRIPTION
- Wood Truss Assembly (Refer to UL Fire Resistance Directory)
- RC Channel or Furring Channel or Steel Framing Members
- UL rated gypsum wallboard (See UL design No.)
- Ceiling Radiation Damper
- 3/4” x 3/4” x 16ga. (19 x 19 x 1.61) or 11/2” x 11/2” x 22 ga. (38 x 38 x .85) Support Angle (2 sides) See Note 1
- Steel Frame Grille Diffuser
- 1” x 1” x 22 ga. (25 x 25 x .85) Retaining Angle on all 4 sides
- Sub-frame or plaster flange
- Insulation (optional)
- Damper support may be achieved by suspending the damper from support angles Item #5 or 2” x 4” (51 x 102) wood stud fastened to adjacent trusses and the damper suspended with four 18 swg steel wire or 3/4” x 3/4” x 26ga. (16 x 16 x .55) angle tabs spaced evenly around the damper.

- Cut the vertical leg of the support angle and fold up 90° both ends. Attach support angle to the inside leg of the truss with minimum of 2 – #8 screws or nails per angle.

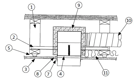
CFD7T-SB, CFD7T-IB6, CFD7T-END-BT, CFD7T-90-BT & CFD7T-ST-BT UNDUCTED OR FLEX DUCT
- CFD7T-SB With Steel Plenum Box CFD7T-IB6 With Insulated Steel Plenum Box

- CFD7T-END-BT, CFD7T-90-BT & CFD7T-ST-BT

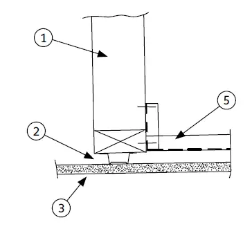
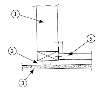
- Through Ceiling Membrane Penetration

DESCRIPTION
- Wood Truss Assembly (Refer to UL Fire Resistance Directory)
- RC Channel or Furring Channel or Steel Framing Members
- UL rated gypsum wallboard (See UL design No.)
- Ceiling Radiation Damper
- 3/4” x 3/4” x 16ga. (19 x 19 x 1.61) or 11/2” x 11/2” x 22 ga. (38 x 38 x .85) Support Angle (2 sides) See Note 1
- Steel Frame Grille Diffuser
- 1” x 1” x 22 ga. (25 x 25 x .85) Retaining Angle on all 4 sides
- Sub-frame or plaster flange
- Steel Plenum Box or Boot
- Duct (optional)
- Insulation (optional)

- Alternate Damper Support
- Damper support may be achieved by suspending the damper from support angles Item #5 or 2” x 4” (51 x 102) wood stud fastened to adjacent trusses and the damper suspended with four 18 swg steel wire or 3/4” x 3/4” x 26ga. (16 x 16 x .55) angle tabs spaced evenly around the damper.

- Alternate Support Angle Installation
- Cut the vertical leg of the support angle and fold up 90° both ends. Attach support angle to the inside leg of the truss with minimum of 2 – #8 screws or nails per angle.
CFD7T-R6-DB UNDUCTED OR FLEX DUCT
- With Ductboard Plenum Box

- Through Ceiling Membrane Penetration and Ductboard Plenum Box

- Sheet metal Wrapped Ductboard Installation

DESCRIPTION
- Wood Truss Assembly (Refer to UL Fire Resistance Directory)
- RC Channel or Furring Channel or Steel Framing Members
- UL rated gypsum wallboard (See UL design No.)
- Ceiling Radiation Damper
- 3/4” x 3/4” x 16ga. (19 x 19 x 1.61) or 11/2” x 11/2” x 22 ga. (38 x 38 x .85) Support Angle (2 sides) See Note 1
- Steel Frame Grille Diffuser
- 1” x 1” x 22 ga. (25 x 25 x .85) Retaining Angle on all 4 sides
- Sub-frame or plaster flange
- Ductboard Plenum Box
- Duct
- 30 ga. (.25) Steel Sleeve min.
Note: See Supplemental Installation Instruction for ductboard Plenum construction.

- Alternate Damper Support
- Damper support may be achieved by suspending the damper from support angles Item #5 or 2” x 4” (51 x 102) wood stud fastened to adjacent trusses and the damper suspended with four 18 swg steel wire or 3/4” x 3/4” x 26ga. (16 x 16 x .55) angle tabs spaced evenly around the damper.
- Alternate Support Angle Installation

- Cut the vertical leg of the support angle and fold up 90° both ends. Attach support angle to the inside leg of the truss with minimum of 2 – #8 screws or nails per angle.
LINKS TO IMPORTANT DOCUMENTS
Document Title
- Quick Select Sheet
- Product Data/submittals
3900 Doctor Greaves Road Grandview, MO 64030 Website: www.ruskin.com Phone: (816) 761-7476
II-CFD7T-0621/Replace II-CFD7T-613 ALL STATED SPECIFICATIONS ARE SUBJECT TO CHANGE WITHOUT NOTICE OR OBLIGATION.


















