fa Motorised Articulated Tv Wall Mount

PACKAGE CONTENTS
- FSE90 MECHANISM
- SCREEN MOUNT PLATE
- WALL MOUNT PLATE
- MECHANISM COVER
- LINK ARM
- INFRARED (IR) REMOTE CONTROL
ITEMS NOT SHOWN ON PAGE - FSE90 CONTROL BOARD (INSIDE FSE90 MECHANISM
- FSE90 ACCESSORY PACK
- X2 AAA BATTERIES
- MAINS POWER LEAD
- INFRA-REF CONTROL LEAD
- CAT5 LEAD WITH RJ45 CONNECTOR
- SCREEN FIXINGS PACK (MULTI-PACK OF NUTS, BOLTS AND WASHERS)

INITIAL TESTING
Before installing of the FSE90 mechanism, the following should be checked;
- There is no damage to any part of the FSE90 mechanism, control board, or wiring.
- All internal and external mechanism wiring is secure.
- The mechanism is in the fully CLOSED position.
- The mechanism operates correctly. This can be tested by moving the mechanism between the CLOSED and OPEN positions using the IR remote (Refer to page 14 for operating instructions)
WARNING: THE PSE90 MECHANISM DOES NOT HAVE AN ANTI-JAM CAPABILITY.
THE MOTOR DRIVE SYSTEM WILL CONTINUE TO MOVE UNTIL A LIMIT SWITCH IS CONTACTED. KEEP HANDS AND ANY OBJECTS CLEAR OF MECHANISM DURING OPERATION TO REDUCE RISK OF DAMAGE OR INJURY.
Fully Closed Position

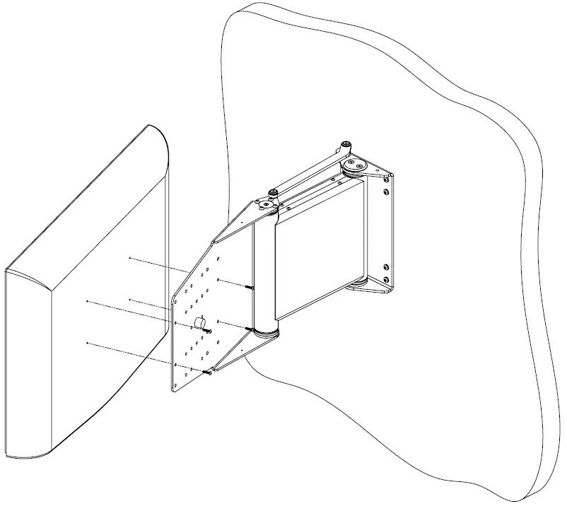
CALCULATING MOUNTING HEIGHT
- Carefully offer the FSE90 mechanisms uprights to the back of the screen, lining up the screens VESA holes with the corresponding slots on the FSE90 Screen Mount Plate.

- Measure from the top of the screen, down to the top mounting holes on the Wall plate (dimension X as indicated above) to determine positioning of the top wall fixing holes.
OPENING THE BRACKET

- Hold the FSE90 by the wall plate, upside down (link arm underneath as shown) on a soft, non-abrasive surface that is free from any obstructions.
- Make sure the power is connected and press the HOME button on the remote control. This will open the FSE90 to the 45 degree position.
- Once the bracket has stopped moving, remove the power and turn the FSE90 the correct way up.
WALL MOUNTING
- The top fixing holes for the FSE90 Wall Plate should be located the distance of Dimension X (previously measured) down from the top of the desired screen position.
- Fix the top two fixings to the wall, 200mm apart and symmetrically about the center line of the wall plate.
- Check that the top two fixings are level, then hang the mechanism onto the two fixings using the keyhole slots on the Wall Mount Plate.

- Drill and screw the remaining six fixings in place using the holes in the Wall Mount Plate as a template.


NOTE: THE WALL FIXING HEADS SHOULD NOT PROTRUDE MORE THAN 5.5MM FROM THE WALL MOUNT PLATE
NOTE: IT IS THE INSTALLERS RESPONSIBILITY TO CHOOSE THE APPROPRIATE FIXINGS WHEN ATTACHING TO THE WALL AND TO ENSURE THE MECHANISM IS SECURE AND SAFE BEFORE OPERATING.
CABLE ROUTING
- Once fitted to the wall, the FSE90 rear arm covers can be removed to allow easy cable routing. This is best done in the 90 degree OUT position. To open the bracket, plug in the mains power and press the OUT button on the IR Remote (Refer to page 14 for Operating Instructions.)
- Once in the OUT position, remove the mains power and remove the 4 x M4 bolts that secure the rear arm cover to the FSE90.

- Route TV power and signal cables through the mechanism as directed below. Ensure that enough clack is left for the movement of the mechanisms to avoid putting stress on the cables. All cables should also be well secured and kept as low profile as possible.
- Replace the rear arm cover by re-securing the 4 x M4 bolts removed in step 2.

SCREEN MOUNTING
- Secure the screen to the Screen Mount Plate using the bolts and washers provided in the Fixing Pack as shown below. If the Screen has recessed mount holes, or if you need to space the screen off for clearance, use the spacers provided in the Fixings Pack. This is best done in the 90 degree out position. To open the bracket, plug in the mains power and press the OUT button on the IR Remote (Refer to Page 14 for Operating Instructions.)

FINAL CHECKS

- Make sure that both rear arm covers are fully secured to the mechanism.
- Check that there are no obstructions in the mechanisms movement (e.g. Cables caught between the Screen Mount Plate and Rear Arm.)
- Check that the mechanism is square and level on the wall.
MECHANISM PRESETS
- The FSE90 has standard IN and OUT positions, as well as 7 programmable preset positions linked to the buttons shown below.

- To overwrite any of the preset positions, use the IN, OUT and STOP buttons to take the mechanisms to the desired position. Then press the STORE button, followed by the desired preset button (HOME, PRESET or A-F). These buttons will need to be pressed within two seconds of each other.

NOTE: THE PRESET POSITIONS WILL NOT BE ACTIVE UNTIL THE MECHANISM HAS OPENED TO ITS FULLY OUT POSITION AND THEN CLOSED TO THE FULLY IN POSITION.
NOTE: IF THE MECHANISM IS MOVING AND THE POSER IS CUT, TO REVISE ALL POSITIONS THE MECHANISMS NEEDS TO GO BACK TO THE IN POSITION, AFTER WHICH THE PREVIOUSLY STORED PROGRAMMED POSITIONS WILL BE RETAINED.
GENERAL CONTROL
This mechanism has multiple standard control methods, each of which requires a different input method to the control box. For ease, the input sockets on the control board are labelled below.(Control box size and style may vary to image shown)

MECHANISM EMERGENCY STOP CONNECTOR
This mechanism features an Emergency Stop Connector, which MUST be plugged into the control box in the connector labelled above for the mechanism to operate. If this connector is not plugged in, the Input Confirmation LED will be permanently lit. As per the red plastic tag attached to the Emergency Stop Connector (and shown below), the small loop of wire in this connector is designed to be replaced by a third party safety mechanism.

REPLACING MECHANISM BATTERIES
The standard Future Automation Infrared (IR) remote control required x2 AAA batteries to operate. These are provided with the mechanism in the Accessories Pack. These batteries can be replaced as the per the image below.

INFRARED (IR)
This Mechanism can be controlled via the supplied 14 button Infrared (IR) Remote Control, pair with the supplied Infrared (IR) lead and sensor.
The mechanism’s functions can be controlled by plugging the Infrared (IR) lead and sensor into the 3.5mm IR Input Jack shown on the General Mechanism Control page.
Confirmation of Infrared (IR) input will be shown by a single flash of the large green LED located on the end of the control box.
As Infrared (IR) control works over line of site, the Infrared (IR) sensor must be directly viewable from what ever location the remote control is being used from.

- IN – Brings the mechanism into the cabinet.
- OUT – Brings the mechanism out of the cabinet, without swivelling.
- STOP – Will stop the operation of the mechanism at ANY position.
- HOME (When paired with other Future Automation Product) – Takes panel/s open and PSE90 retracted against wall.
- A-F – Brings the mechanism to learnt position.
- PRESET – Brings the mechanism to learnt position.
- STORE + PRESET – Pressed with 1 second of each other stores PRESET position.
- STORE + A-F – Pressed with 1 second of each other stores positions A-C.
- STORE + OUT – Pressed with 1 second of each other stores OUT position.
- STORE + STOP + OUT – Pressed with 1 second of each other clears learnt OUT position.
IMPORTANT
Only buttons indicated above are functional with the product. Any other button press will STOP the mechanism.
CONTACT CLOSURE
This Mechanism can be controlled via Contact Closure, utilizing the 8 Pin RJ45 Connector attached to a length of CAT5 (Type 568A or 568B) cable.
The mechanism’s functions can be controlled by plugging this into the RJ45 port on the mechanism control board, then shorting pins 1-8 on this connector as shown in the Contact Closure Input Table below.
Confirmation of Contact Closure input will be shown by a single flash of the large green LED located on the end of the control box, as well as illumination of the corresponding Contact Closure LED on the printed circuit board as shown below.


Contact Closure Input Table

RS232 CONTROL
This Mechanism can be controlled via RS232, utilizing a 6 Pin RJ11/RJ25 connector OR 9 Pin Serial connector attached to a length of 6 core cable.
The mechanism’s functions can be controlled by plugging this into the RJ11/RJ25 port on the mechanism control box, then inputting the RS232 commands shown in the RS232 Input Table below.
Confirmation of Contact Closure input will be shown by a single flash of the large green LED located on the end of the control box.

RS232 PROGRAMMING DETAILS Baud Rate: 9600
Stop Bit: 1
Parity: None
Databits: 8

RJ11/RJ25 | Func. | 9 PIN Serial | Colour |
PIN 1 | TX-RX | PIN 2 | Blue |
PIN 3 | GROUND | PIN 5 | Green |
PIN 4 | GROUND | PIN 5 | Red |
PIN 6 | RX-TX | PIN 3 | White |
IMPORTANT – Ensure all protocols are entered exactly as written below, including Carriage Return (ENTER / ASCII 13)
COMMAND | ACTION | |
Step 1 | Step 2 | |
fa_in | DEVICE IN | |
fa_out | DEVICE OUT | |
fa_stop | DEVICE STOP | |
fa_store | fa_(preset,a-f) | Store Memory Position |
fa_preset | Device to Store Memory Position | |
EUROPEAN OFFICE
Address: Unit 6-8 Brunel Road Bedford, Bedfordshire, MK41 9TG
Phone: +44 (0) 1438 833577
Email: [email protected]
Office Hours:
Mon – Fri 8:00 to 17:30 GMT
Saturday & Sunday – Closed
NORTH AMERICAN OFFICE
Address: Enterprise Park, 127 Venture Drive, Dover, NH, 03820
Phone: +1 (603) 742 9181
Email: [email protected]
Office Hours:
Mon – Fri 7:00 to 17:00 EST
Saturday & Sunday – Closed






















