LIGHTING THE WAY FOR SIXTY YEARS
ASSEMBLY INSTRUCTION MODEL #6623-VG-CL-MWP
Instruction Manual
6623-VG-CL-MWP Othello Three Light Chandelier

![]()
All electrical components must be installed by a licensed electrician in accordance with the National Electric Code and the appropriate local electrical codes.
You will need 3-Candelabra Base Bulb 40Watts Recommended 60 Watts Max.
USE LED BULBS FOR EXTENDED USE
The fixture is damp rated
How to Install
For hanging:
- Place the shade over the frame then place the top assembly over the shade .Make sure the slot in the top assembly is aligned with the shade spoke. Secure the shade with the loop.
For ceiling:
- Place the shade over the frame then place the canopy 2 over the shade .Make sure the slot in canopy 2 is aligned with the shade spoke. Secure the shade with a hex nut.
2.After safely attaching the fixture into the outlet box, install bobeches,bulbs and proceed to connecting the power - When you begin to dress the fixture, start with packet labeled (A)
- IMPORTANT: Apply crystal sets in alphabetical order
Crystal Sets
A. (14mm+50mm)x9sets
B. (Square+50mm)x6sets
C. (14mmx6Pcs)x6sets
D. (14mmx11Pcs+30mm Ball)x1set
WARNING: This product can expose you to lead which is known to the State of California to cause cancer and/or birth defects or reproductive harm For more in formation go to www.P65W.arnings.ca.gov
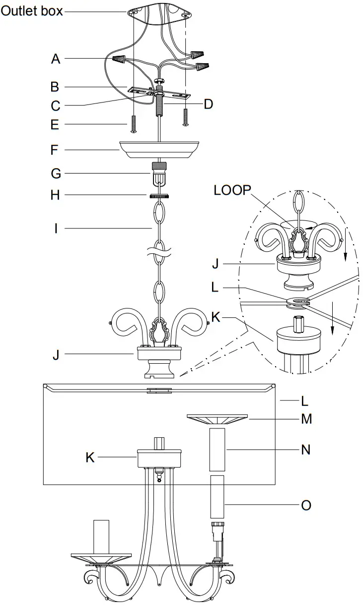
Part Numbers
A. (3)-Wire Connector
B. (1)-Mounting Plate
C. (1)-Ground Screw
D. (1)-Nipple
E. (2)-Outlet Box Screws
F. (1)-Canopy 1 (W5.1″xH1″) XEH6623VGCAN5IN
G. (1)-Collar Loop
H. (1)-Collar Ring
I. (1)-Chain;72″,4mm XEH6623VGCHA4MM
J. (1)-Top Assembly
K. (1)-Frame
L. (1)-Fabric Shade (W14″xH6.5″) XEH6623SHA14IN
M. (3)-Bobeche (D3.9″x Hole:1″) XEH6623BOB4IN
N. (3)-Metal Sleeve (H2.75″)XEH6623VGMCDL2.75IN
O. (3)-Plastic Sleeve (H2.75″) XEH6623PCDL2.75IN
P. (1)-Canopy 2(W4.25″ xH1″) XEH6623VGCAN4.25IN
Q. (2)-Ball Nuts XEH6623VGBANUT
R. (2)-Screws
S. (3)-Wire Connector

Place the (L) Fabric shade and (J) Top assembly on top of (K) Frame then secure by tightening the loop on the (J) Top Assembly.
For Ceiling

Place the (L) Fabric shade and (P) Canopy on top of (K) Frame then secure by tightening the hex nut on the (P) Canopy













