
CONDENSATE PUMP
BZ33CP
INTRODUCTION
Your condensate pump is designed as an automatic condensate removal pump for water dripping off an air conditioner evaporative coil. The pump is controlled by a float/switch mechanism which turns the pump on when approximately 1-3/4″ of water collects in the tank, and automatically switches off when the tank drains to approximately 3/4″
This instruction sheet provides you with the information required to safely own and operate your pump. Keep these instructions for future reference.
The pump you have purchased is of the highest quality workmanship and material, and has been engineered to give you long and reliable service. The pumps are carefully tested, inspected, and packaged to ensure safe delivery and operation. Please examine your pump carefully to ensure that no damage occurred during shipment. If damage has occurred, please contact the place of purchase. They will assist you in replacement or repair, if required.
READ THESE INSTRUCTIONS CAREFULLY BEFORE ATTEMPTING TO INSTALL, OPERATE, OR SERVICE YOUR PUMP. KNOW THE PUMP’S APPLICATION, LIMITATIONS, AND POTENTIAL HAZARDS. PROTECT YOURSELF AND OTHERS BY OBSERVING ALL SAFETY INFORMATION. FAILURE TO COMPLY WITH THESE INSTRUCTION COULD RESULT IN PERSONAL INJURY AND/OR PROPERTY DAMAGE!
SAFETY GUIDELINES
![]()
DO NOT USE TO PUMP FLAMMABLE OR EXPLOSIVE FLUIDS SUCH AS GASOLINE, FUEL OIL, KEROSENE, ETC. DO NOT USE IN EXPLOSIVE ATMOSPHERES. PUMP SHOULD BE USED WITH LIQUIDS COMPATIBLE WITH PUMP COMPONENT MATERIALS.
DO NOT HANDLE PUMP WITH WET HANDS OR WHEN STANDING ON A WET OR DAMP SURFACE, OR IN WATER. THIS PUMP IS SUPPLIED WITH A GROUNDING CONDUCTOR AND/OR GROUNDING TYPE ATTACHMENT PLUG. TO REDUCE THE RISK OF ELECTRICAL SHOCK, BE CERTAIN THAT IT IS CONNECTED TO A PROPERLY GROUNDED GROUNDING TYPE RECEPTACLE.
CAUTION: THIS PUMP HAS BEEN EVALUATED FOR USE WITH WATER ONLY.
IN ANY INSTRUCTIONS WHERE PROPERTY DAMAGE AND /OR PERSONAL INJURY MIGHT RESULT FROM AN INOPERATIVE OR LEAKING PUMP DUE TO POWER OUTAGES, DISCHARGE LINE BLOCKAGE, OR ANY OTHER REASON, A BACKUP SYSTEM(S)AND /OR ALARM SHOULD BE USED.
SUPPORT PUMP AND PIPING WHEN ASSEMBLING AND WHEN INSTALLED. FAILURE TO DO SO MAY CAUSE PIPING TO BREAK, PUMP TO FAIL, MOTOR BEARING FAILURES, ETC.
INSTALLATION
- Mounting the pump: The tank has two slots provided to mount the unit. The slots are located on the ends of the tank (Figure 4). The unit should be mounted either on the side of the air conditioner unit or nearby wall. Pump must be level and the inlet must be below the coil drain. Conduit fittings are not compatible with the plastic pump housing.
- The pump should not be installed in a manner that will subject it to splashing or spraying.
- This pump is not intended for use inside air plenums.
NOTE: All wiring is to be done by qualified service technician. Refer to local codes in your area.
ELECTRICAL CONNECTIONS 
- Shut off electrical power at the fuse box before making any connections. All wiring must comply with local codes.
- Line voltage: Connect power cord to line voltage specified on motor and nameplate. Power cord must be connected to a constant source of power (not a fan or other device that runs intermittently).
- Safety switch: The safety overflow switch should be connected to a Class II low voltage circuit. To control a thermostatic circuit the COM and NO connections from the safety switch are to be wired in series with the low voltage thermostat circuit to shut down the heating/AC circuit. The COM and NC switch contacts may be used to actuate a low voltage alarm circuit (connected in series if the heating/cooling system cannot be disrupted. The safety switch comes from the factory with leads connected to the COM and NO switch terminals. Typical hook-up of NC circuits would be (Figures 1 & 2). Safety switch is only to be used on Class 2 circuit, 30V AC, 3.2 amps maximum.
PIPING
- Run flexible tubing or pipe from evaporator drain into one of the four pump inlets. Be sure inlet piping is sloped downward to allow gravity flow (Figure 3). Extend the inlet piping into the tank from 1 to 3 inches to ensure that it will not interfere with proper float operation. Be sure that the inlet piping is cut at an angle where it enters the tank.
- The outlet piping should be flexible tubing secured with a hose clamp (not provided) or pipe (3/8″ I.D. maximum to prevent excessive flow back to unit). From condensate unit, extend discharge piping straight up as high as necessary. Do not extend this line above the head/GPH of the particular model being installed. From the high point, slope discharge line down slightly to a point above drain area; then turn down and extend to a point below or approximately level with the bottom of the condensate unit. This will give a siphoning effect which will improve efficiency of the condensate unit and will, in most cases, eliminate the need for a check valve (Figure 4). If it is not possible to slope discharge line down, made an inverted “U” trap directly above the pump at the highest point.

SERVICE INSTRUCTIONS 
- Make certain that the unit is disconnected from the power source before attempting to service or remove any component.
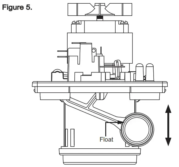
- Be sure the float switch moves freely. Clean as necessary (Figure 5).
- Clean the tank with warm water and mild soap.
- Check the inlet and outlet piping. Clean as necessary. Be sure there are no kinks in the line that would inhibit flow.
TESTING
- Turn on power.
- Remove motor/tank cover assembly and hold level.
- Test motor switch by raising float with finger (Figure 5).
Motor should turn on just before float contacts cover. - Replace motor/tank cover assembly on tank. This pump is suitable for gas furnace condensate applications. Caution must be taken to ensure acidity of condensate does not increase below the average pH of 3.4 (to prevent localized pocket of acid that acts like a battery causing pitting) by routinely cleaning or flushing tank with fresh water .


LIMITED WARRANTY
Breeze33 Products LLC (Breeze33 warrants to the ORIGINAL PURCHASER that its condensate pumps shall be free from defects in material and workmanship under normal use and service FOR TWO (2) YEARS. This warranty cannot be transferred – it is extended only to the original Purchaser or First User of the Product. By accepting and keeping this Product you agree to all of the warranty terms and limitations of liability described below.
Breeze33’s obligations under the warranty set forth above shall be to replace any Breeze33 condensate pump which is defective.
WHAT IS NOT COVERED
The warranty above does not cover and Breeze33 is not liable for, (i) installation, (ii) any labor charges or (iii) products which have been damaged as a result of any accident, misuse, abuse, neglect, improper installation or maintenance, the use of abrasive or organic solvent cleaners, modification, failure to use the condensate pump in accordance with instructions provided by Breeze33.
HOW TO OBTAIN WARRANTY SERVICE
Contact our warranty department at 740-314-4404 to report the defect. Return failed product with proof of purchase, your name, and address within 30 days of failure to:
LIMITATION OF LIABILITY
Breeze33’s liability on any claim of any kind, including, without limitation, warranty, negligence and/or breach of contract, shall in no case exceed the purchase price paid by the Customer. IN NO EVENT SHALL BREEZE33 BE LIABLE FOR ANY SPECIAL, INCIDENTAL, CONSEQUENTIAL (INCLUDING, WITHOUT LIMITATION, DAMAGE TO PROPERTY) OR PUNITIVE DAMAGES, DAMAGES IN THE NATURE OF PENALTIES OR SIMILAR OR RELATED DAMAGES OF ANY KIND.
DISCLAIMER OF WARRANTIES
BREEZE33 EXPRESSLY DISCLAIMS ALL WARRANTIES, EXCEPT AS EXPLICITLY STATED HEREIN, TO THE FULLEST EXTENT PERMITTED BY LAW, WHETHER WRITTEN, ORAL, EXPRESS OR IMPLIED, INCLUDING ANY WARRANTY OF PERFORMANCE, MERCHANTABILITY, FITNESS FOR A PARTICULAR PURPOSE, AND NONINFRINGEMENT. THIS DISCLAIMER INCLUDES ANY ORAL WARRANTIES OR REPRESENTATIONS MADE OR IMPLIED BY ANY AGENT, EMPLOYEE, SUBCONTRACTOR, MANAGER, DIRECTOR AND/OR REPRESENTATIVE OF BREEZE33.
Breeze33 Products LLC
350 Courtney Road
Sebring, Ohio 44672 USA
NOTE: All wiring is to be done by qualified service technician. Refer to local codes in your area.






















