MSP 12 A1 Sup Pump
Instructions Manual
![]()
Before reading, unfold the page containing the illustrations and familiarise yourself with all functions of the device.

Introduction
Congratulations on the purchase of your new appliance. You have selected a high-quality product.
The operating instructions are part of this product.
They contain important information about safety, usage, and disposal. Before using the product, please familiarise yourself with all operating and safety instructions. Use the product only as described and for the specified range of applications. Please also pass these operating instructions on to any future owner.
Intended use
This appliance is designed for inflating SUP boards in conjunction with the supplied adapter. The appliance is not suitable for the operation of pneumatic tools. Any other usage or modification of the appliance is deemed to be improper and carries a significant risk of accidents. The manufacturer accepts no
responsibility for damage resulting from improper use. The appliance is not intended for commercial use.
NOTE
► Store these operating instructions in the immediate vicinity of the appliance and make them available to all operators.
Features
- Carrying handle
- Selection button
- “−” button
- “+” button
- ON/OFF switch
- Display
- 4x feet on the underside of the appliance
- Elastic band
- Deflation connection
- 12 V Vehicle connector plug
- Inflation connection
- Adapter connection for the hose
- High-pressure attachment
- Mini-Boston valve adapter
- Boston valve adapter
- Hose
- Lock connection for the hose
Package contents
1 SUP pump (incl. 12 V vehicle connector plug and connection hose)
1 Boston valve adapter
1 mini-Boston valve adapter
1 high-pressure attachment (middle silicone seal pre-assembled, small and large seals also included)
1 set of operating instructions
Technical specifications
| Nominal voltage | 12 V, 110 W (DC) |
| Rated Speed | 3800 rpm |
| Operating pressure | Max . 1 .38 bar (20 PSI) |
| Airflow rate (pump) | approx. 350 l/min |
| Operating mode | S2 Short-term operation with constant load, for a duration of 10 minutes. |
| Weight | 1 .68 kg |
Vehicle connector plug
| Fuse | 15 A |
Noise information
Measured value for noise determined accordingly EN 62841-1 and EN 1012-1.
The A-weighted noise level in the workplace is typical:
| Sound pressure level (at the operator station) | LPA = 84.4 dB (A) |
| Uncertainty | K = 3 dB (A) |
According to 2000/14/EC and 2005/88/EC:
| Sound power level measured | LwA = 86.2 dB (A) |
| Uncertainty | K = 2.02 dB (A) |
| Sound power level guaranteed | twA = 88 dB (A) |
Wear ear muffs!
Explanation of the symbols on the appliance!
Read the original operating instructions and safety instructions before the initial operation!
Wear ear muffs!
Danger from hot surfaces!
Do not expose yourself to the rain!
General Power Tool
Safety Warnings
WARNING!
► Read all safety warnings, instructions, illustrations, and specifications provided with this power tool.
Failure to follow all instructions listed below may result in electric shock, fire, and/or serious injury.
Save all warnings and instructions for future reference.
The term „power tool“ in the warnings refers to your mains-operated (corded) power tool or battery-operated (cordless) power tool.
Work area safety
a) Keep the work area clean and well-lit. Cluttered or dark areas invite accidents.
b) Do not operate power tools in explosive atmospheres, such as in the presence of flammable liquids, gases, or dust. Power tools create sparks that may ignite dust or fumes.
c) Keep children and bystanders away while operating a power tool. Distractions can cause you to lose control.
Electrical safety
a) Power tool plugs must match the outlet. Never modify the plug in any way. Do not use any adapter plugs with earthed (grounded) power tools. Unmodified plugs and matching outlets will reduce the risk of electric shock.
b) Avoid body contact with earthed or grounded surfaces, such as pipes, radiators, ranges, and refrigerators. There is an increased risk of electric shock if your body is earthed or grounded.
c) Do not expose power tools to rain or wet conditions. Water entering a power tool will increase the risk of electric shock.
d) Do not abuse the cord. Never use the cord for carrying, pulling, or unplugging the power tool. Keep cord away from heat, oil, sharp edges, or moving parts. Damaged or entangled cords increase the risk of electric shock.
e) When operating a power tool outdoors, use an extension cord suitable for outdoor use.
Use of a cord suitable for outdoor use reduces the risk of electric shock.
f) If operating a power tool in a damp location is unavoidable, use a residual current device (RCD) protected supply. Use of an RCD reduces the risk of electric shock.
Personal safety
a) Stay alert, watch what you are doing, and use common sense when operating a power tool.
Do not use a power tool while you are tired or under the influence of drugs, alcohol, or medication. A moment of inattention while operating power tools may result in serious personal injury.
b) Use personal protective equipment. Always wear eye protection. Protective equipment such as a dust mask, non-slip safety shoes, hard hat, or hearing protection used for appropriate conditions will reduce personal injuries.
c) Prevent unintentional starting. Ensure the switch is in the off-position before connecting to a power source and/or battery pack, picking up or carrying the tool. Carrying power tools with your finger on the switch or energizing power tools that have the switch on invites accidents.
d) Remove any adjusting key or wrench before turning the power tool on. A wrench or a key left attached to a rotating part of the power tool may result in personal injury.
e) Do not overreach. Keep proper footing and balance at all times. This enables better control of the power tool in unexpected situations.
f) Dress properly. Do not wear loose clothing or jewelry. Keep your hair and clothing away from moving parts. Loose clothes, jewelry, or long hair can be caught in moving parts.
g) If devices are provided for the connection of dust extraction and collection facilities, ensure these are connected and properly used. Use of dust collection can reduce dust-related hazards.
h) Do not let familiarity gained from frequent use of tools allow you to become complacent and ignore tool safety principles. A careless action can cause severe injury within a fraction of a second.
Power tool use and care
a) Do not force the power tool. Use the correct power tool for your application. The correct power tool will do the job better and safer at the rate at which it was designed.
b) Do not use the power tool if the switch does not turn on and off. Any power tool that cannot be controlled with the switch is dangerous and must be repaired.
c) Disconnect the plug from the power source and/or remove the battery pack, if detachable, from the power tool before making any adjustments, changing accessories, or storing power tools. Such preventive safety measures reduce the risk of starting the power tool accidentally.
d) Store idle power tools out of the reach of children and do not allow persons unfamiliar with the power tool or these instructions to operate the power tool. Power tools are dangerous in the hands of untrained users.
e) Maintain power tools and accessories. Check for misalignment or binding of moving parts, breakage of parts, and any other condition that may affect the power tool’s operation. If damaged, have the power tool repaired before use. Many accidents are caused by poorly maintained power tools.
f) Keep cutting tools sharp and clean. Properly maintained cutting tools with sharp cutting edges are less likely to bind and are easier to control.
g) Use the power tool, accessories and tool bits, etc. in accordance with these instructions, taking into account the working conditions and the work to be performed. Use of the power tool for operations different from those intended could result in a hazardous situation.
h) Keep handles and grasping surfaces dry, clean, and free from oil and grease. Slippery handles and grasping surfaces do not allow for safe handling and control of the tool in unexpected situations.
Service
a) Have your power tool serviced by a qualified repair person using only identical replacement parts.
This will ensure that the safety of the power tool is maintained.
b) Always arrange for the replacement of the plug or the power cord to be carried out by the manufacturer of the tool or its customer service department. This will ensure that the safety of the power tool is maintained.
Appliance-specific safety instructions
- This appliance may not be used by children or people with reduced physical, sensory or mental capabilities or a lack of experience and knowledge. Do not allow children to use the appliance as a toy. Cleaning and user maintenance tasks may not be carried out by children.
- Children should be kept away from this appliance.
- Avoid using the appliance at temperatures below 5°C.
- Do not expose the appliance to rain and do not submerge it in water.
- Never leave the appliance unsupervised while it is in use.
- Caution! Operate the compressor for short periods only. The appliance may overheat if operated for longer than 10 minutes. Switch the appliance off immediately and allow it to cool down for at least 10 min.
- Risk of injury! Do not pump any objects up to more than the intended pressure. They could burst and cause injuries and/or material damage.
- Never use the appliance for purposes other than those for which it was designed.
- Do not use this product if the hose is damaged. Replace a damaged hose immediately.
- Do not pull out the hose while inflating as the high pressure can cause injuries.
- To avoid risks, do not direct the inflation inlet towards your body.
- The appliance must always be kept clean, dry, and free from oil or grease.
- Never use petrol or other flammable liquids to clean the appliance! Vapors remaining in the appliance can be ignited by sparks and cause the appliance to explode.
- Remain alert at all times! Do not use the appliance if you are distracted or feeling unwell.
- Before use, check the cigarette lighter to make sure there is no rust or residue in it. If the cigarette lighter socket has poor electrical conductivity, this may cause the product or the power source to overheat, resulting in damage to the product.
Before use
- Pick up and carry the appliance using the carrying handle1.
- Plug the 12 V vehicle connector and plug 10 into a suitable socket in your vehicle. The display 6 lights up and the appliance is ready for use.
Operation
NOTE
► The appliance vibrates during operation.
Therefore, always put it down during operation.
There are four feet 7 on the bottom of the appliance for this purpose.
ATTENTION!
► This appliance is not designed for continuous operation. The appliance may be used for a maximum of 10 minutes of continuous operation.
Allow the appliance to cool down completely and then try using it again.
- Select the accessories you need.
- Remove the hose 16 from the appliance. This is secured for transport and storage with the elastic band 8.
Display
- You can switch between “bar”, “psi” and “kpa” on the display 6 by pressing the selection button 2.
Setting the pressure
♦ Press the “+” button or 4 the “-” button 3 to set the desired pressure.
TIP
► If you press and hold down the “+” button 4 or the “-” button 3, the pressure setting changes quickly.
NOTE
► The compressor switches off automatically when the preset pressure has been reached.
Switching on and off
Switching on the appliance
- Press the ON/OFF switch 5.
Switching off the appliance
- Press the ON/OFF switch 5 again.
Setting up
Inflating/deflating
- Fit the locking connection of the hose 17 onto the desired adapter. To inflate, use the inflation connection 11. To deflate, use the deflation connection.
- Turn it clockwise until it is fixed firmly in place 9.
Attachments
- Screw the adapter 13 onto the adapter connection of the hose 12 anticlockwise until it is fixed firmly in place.
- Screw the adapter 12 or 15 onto the adapter connection of the hose 12 clockwise until it is fixed firmly in place.
- Push the desired adapter into your SUP board and follow the manufacturer’s instructions.
High-pressure attachment 13
The high-pressure attachment makes it easier to fill SUP boards.
The middle seal, which is preassembled on the adapter, is used as standard.
If air leaks occur during operation, please use the thickest gasket. If you cannot insert the attachment into the object, please use the thinnest seal.
Mini-Boston valve adapter 14
The mini-Boston valve adapter can be used to inflate small inflatable mattresses.
Boston valve adapter 15
The Boston valve adapter can be used to inflate various inflatable mattresses.
Changing the fuse
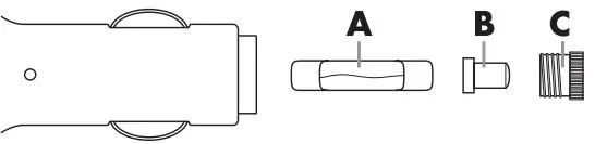
The 12 V vehicle connector plug 101 contains a fuse. if the appliance is not working, the fuse may be defective. Exchange the defective fuse for a replacement fuse of the same type (see also section Technical data).
- To do this, pull the 12 V vehicle connector plug 10 out of the cigarette lighter socket.
- Open the 12 V vehicle connector plug 10 by carefully unscrewing the grooved screw insert (C) anticlockwise (using pliers if necessary) and removing it.
- Now, remove the plug tip (B) from the fuse (A), remove the fuse (A), and place it on one side.

- Now insert a new 15 A fuse into the 12 V vehicle connector plug, place the plug 10 tip (B) onto the slightly protruding end of the fuse and screw the previously removed screw insert (C) back in.
NOTE
► If the appliance still does not work or the fuse blows again immediately, the appliance is defective. Please contact the Service Hotline (see section Service).
Maintenance and cleaning
WARNING! RISK OF INJURY! Switch the appliance off and unplug the 12 V vehicle connector plug before starting any work on the appliance.
- Do not use any sharp objects to clean the appliance. Do not allow any liquids to get into the appliance. Otherwise, the appliance could be damaged .
- The appliance is maintenance-free.
- Clean the appliance regularly, preferably immediately after use.
- Clean the housing with a dry cloth – do not use petrol, solvents, or cleaners that can attack the plastic.
- Never obstruct the ventilation openings.
NOTE
► You can order replacement parts that are not listed (such as adapter nozzles, and switches) via our Service Hotline.
► This appliance is maintenance-free. Never open the appliance. The appliance may only be repaired by an authorized service center or Customer Service. If one of the faults listed below occurs, note the following:
- Allow the appliance to cool down and wait a short while for the residual energy to neutralize.
- Ensure that the appliance is in good working condition.
Troubleshooting
| Fault | Solution |
| The appliance does not work | Check the power source. Check that all cables, fuses, and the main socket are in working order. |
| Do not use the appliance at temperatures below 5°C. | |
| Avoid overheating the motor. Allow the motor to cool down. | |
| Slow or abnormal inflation | Check if the hose is clogged or cracked. |
| The connection between the hose and the appliance is not properly installed. |
Storage
- Unplug the vehicle connector plug.
- Store the appliance in a dry and secure environment.
- Ensure that the appliance has cooled down completely, otherwise, there is a risk of burns .
- Store the appliance so that it cannot be used by unauthorized persons.
Disposal
The packaging consists of environmentally friendly material. It can be disposed of in local recycling containers.
Do not dispose of power tools in the normal domestic waste!
According to European Directive 2012/19/EU, used power tools must be collected separately and recycled in an environmentally sound manner. Your local community or municipal authorities can provide information on how to dispose of the worn-out appliance.
Dispose of the packaging in an environmentally friendly manner. Observe the labels on the different packaging materials and separate them as needed. The packaging material is labeled with abbreviations (a) and numbers (b) with the following meanings: 1–7: plastics, 20–22: paper and cardboard, 80–98: composites.
Your local community or municipal authorities can provide information on how to dispose of the worn-out product.
Kompernass Handels GmbH warranty
Dear Customer,
This appliance has a 3-year warranty valid from the date of purchase. If this product has any faults, you, the buyer, have certain statutory rights. Your statutory rights are not restricted in any way by the warranty described below.
Warranty conditions
The warranty period starts on the date of purchase.
Please keep your receipt in a safe place. This will be required as proof of purchase.
If any material or manufacturing fault occurs within three years of the date of purchase of the product, we will either repair or replace the product for you
or refund the purchase price (at our discretion).
This warranty service requires that you present the defective appliance and the proof of purchase (receipt) within the three-year warranty period, along with a brief written description of the fault and when it occurred.
If the defect is covered by the warranty, your product will either be repaired or replaced by us. The repair or replacement of a product does not signify the beginning of a new warranty period.
X 12 V and X 20 V Team Series battery packs come with a 3-year warranty valid from the date of purchase.
The warranty period and statutory claims for defects
The warranty period is not prolonged by repairs effected under the warranty. This also applies to replaced and repaired components . Any damage and defects present at the time of purchase must be reported immediately after unpacking. Repairs carried out after expiry of the warranty period shall be subject to a fee .
Scope of the warranty
This appliance has been manufactured in accordance with strict quality guidelines and inspected meticulously prior to delivery.
The warranty covers material faults or production faults. The warranty does not extend to product parts subject to normal wear and tear or too fragile parts which could be considered consumable parts such as switches or parts made of glass.
The warranty does not apply if the product has been damaged, improperly used, or improperly maintained. The directions in the operating instructions for the product regarding the proper use of the product are to be strictly followed. Uses and actions that are discouraged in the operating instructions or which are warned against must be avoided.
This product is intended solely for private use and not for commercial purposes. The warranty shall be deemed void in cases of misuse or improper handling, use of force, and modifications/repairs which have not been carried out by one of our authorized service centers.
The warranty period does not apply to
- Normal reduction of the battery capacity over time
- Commercial use of the product
- Damage to or alteration of the product by the customer
- Non-compliance with safety and maintenance instructions, operating errors
- Damage caused by natural hazards
Warranty claim procedure
To ensure quick processing of your case, please observe the following instructions:
- Please have the till receipt and the item number (IAN) 401002_2107 available as proof of purchase.
- You will find the item number on the type plate on the product, an engraving on the product, on the front page of the operating instructions (below left), or on the sticker on the rear or bottom of the product.
- If functional or other defects occur, please contact the service department listed either by telephone or by e-mail.
- You can return a defective product to us free of charge to the service address that will be provided to you. Ensure that you enclose the proof of purchase (till receipt) and information about what the defect is and when it occurred.
You can download these instructions along with many other manuals, product videos, and installation software at www.lidl-service.com.
This QR code will take you directly to the Lidl service page (www .lidl-service .com) where you can open your operating instructions by entering the item number (IAN) 401002_2107.
Service
Service Great Britain
Tel .: 0800 404 7657
E-Mail: [email protected]
Service Ireland
Tel .: 1890 930 034
(0,08 EUR / Min ., (peak))
(0,06 EUR / Min ., (off peak))
E-Mail: [email protected]
Service Cyprus
Tel .: 8009 4409
E-Mail: [email protected]
IAN 401002_2107
Importer
Please note that the following address is not the service address. Please use the service address provided in the operating instructions.
For EU market
KOMPERNASS HANDELS GMBH
BURGSTRASSE 21
44867 BOCHUM
GERMANY
www.kompernass.com
For GB market
Lidl Great Britain Ltd
Lidl House 14 Kingston Road
Surbiton
KT5 9NU
Translation of the original Conformity Declaration
We, KOMPERNASS HANDELS GMBH, document officer: Mr Semi Uguzlu, BURGSTR . 21, 44867 BOCHUM, GERMANY, hereby declare that this product complies with the following standards, normative documents, and EC directives:
Machinery Directive
(2006/42/EC)
EMC (Electromagnetic Compatibility)
(2014/30/EU)
Outdoor directive (2000/14/EC), (2005/88/EC)
Sound power level LWA: Guaranteed: 88 dB (A)
RoHS Directive
(2011/65/EU)*
* The manufacturer bears full responsibility for compliance with this conformity declaration. The subject of the declaration described above meets the requirements of Directive 2011/65/EU of the European Parliament and Council of 8 June 2011 on the limitations of the use of certain dangerous substances in electrical and electronic appliances.
Applied harmonized standards
EN 62841-1:2015
EN 1012-1:2010
EN 50498: 2010
EN IEC 63000: 2018
Type designation of machine: SUP PUMP MSP 12 A1
Year of manufacture: 12–2021
Serial number: IAN 401002_2107
Bochum, 06/12/2021
![]()
![]()
Semi Uguzlu
– Quality Manager –
We reserve the right to make technical changes in the context of further product development.
This mark confirms that the product complies with the product safety requirements applicable in the UK.
KOMPERNASS HANDELS GMBH
BURGSTRASSE 21
44867 BOCHUM
GERMANY
www.kompernass.com
Last Information Update · Tilstand af information ·
Stand van de informatie · Stand der Informationen:
12 / 2021 · Ident.-No.: MSP12A1-122021-1
IAN 401002_2107




















