EATON IL0131080EN Air Circuit Breaker

Instruction Leaflet IL0131080EN
Effective August 2015
WARNING
- ONLY QUALIFIED ELECTRICAL PERSONNEL SHOULD BE PERMITTED TO WORK ON THE EQUIPMENT.
- ALWAYS DE-ENERGIZE PRIMARY AND SECONDARY CIRCUITS IF A CIRCUIT BREAKER CANNOT BE REMOVED TO A SAFE WORK LOCATION.
- DRAWOUT CIRCUIT BREAKERS SHOULD BE LEVERED (RACKED) OUT TO THE DISCONNECT POSITION.
- ALL CIRCUIT BREAKERS SHOULD BE SWITCHED TO THE OFF POSITION AND MECHANISM SPRINGS DISCHARGED.
FAILURE TO FOLLOW THESE WARNINGS FOR ALL PROCEDURES DESCRIBED IN THIS INSTRUCTION LEAFLET COULD RESULT IN DEATH, BODILY INJURY, OR PROPERTY DAMAGE.
WARNING
THE INSTRUCTIONS CONTAINED IN THIS IL AND ON PRODUCT LABELS HAVE TO BE FOLLOWED. OBSERVE THE FIVE SAFETY RULES:
- DISCONNECTING
- ENSURE THAT DEVICES CANNOT BE ACCIDENTALLY RESTARTED
- VERIFY ISOLATION FROM THE SUPPLY
- EARTHING AND SHORT-CIRCUITING
- COVERING OR PROVIDING BARRIERS TO ADJACENT LIVE PARTS
DISCONNECT THE EQUIPMENT FROM THE SUPPLY. USE ONLY AUTHORIZED SPARE PARTS IN THE REPAIR OF THE EQUIPMENT. THE SPECIFIED MAINTENANCE INTERVALS AS WELL AS THE INSTRUCTIONS FOR REPAIR AND EXCHANGE MUST BE STRICTLY ADHERED TO PREVENT INJURY TO PERSONNEL AND DAMAGE TO THE SWITCHBOARD.
WARNING
MECHANICAL INTERLOCKS FOR SYSTEMS WITH ONE OR TWO SUPPLIES SWITCHED ON AT ALL TIMES. IN THE EVENT THAT BOTH SUPPLY SWITCHING DEVICES ARE IN THE OPEN POSITION, THERE IS A POSSIBILITY THAT A CLOSE SIGNAL TO ALL THREE SWITCHING DEVICES COULD CAUSE MOMENTARY PARALLELING. IF THIS IS UNDESIRABLE, THE USER MAY WANT TO INCLUDE A SEPARATE MECHANICAL AND/OR ELECTRICAL INTERLOCK TO PREVENT SIMULTANEOUS CLOSING COMMANDS BEING SENT TO BOTH OF THE NORMAL SUPPLY SWITCHING DEVICES (A AND C) AND THE TIE SWITCHING DEVICE (B) UNDER ALL CONDITIONS.
General information
This information leaflet provides detailed installation instructions for installing and interconnecting one drawout Type NF frame breaker to another type of low voltage circuit breaker (LVCB) in any position (see A, B, C in Table 1) for a Type 32 interlock configuration as shown in Figure 1. When purchasing kits for a Type 32 interlock configuration setup, additional interlock kits (the types of interlock kits and the other breakers on which they can be installed that are compatible with this kit are listed in Table 2) are required for the other two breakers as well as the interconnecting cable kits (three are required).
For Type 32 interlock configurations, the mechanical interlock holds one of the breakers tripped or open (prevents closure) when the other two are closed. A lever assembly is mounted on each breaker and interfaces with the poles haft and trip bar. The lever assemblies are interconnected with cables provided in interconnecting cable kits (listed in Table 3) that are compatible with this interlock kit. The cable kits, purchased separately, each contain two cables and can be used for any orientation of the breakers according to the installation recommendations in Step 5.
Installation and removal instructions
Series NRX NF drawout breaker three-way Type 32 cable interlock kit
Refer to Figure 2 and Figure 3 for identification of interlock kit and interconnecting cable kit contents, respectively.
Figure 1. Cable routing for Type 32 interlock configurations
Table 1. Type 32 interlock logic
Type 32 (six cable) 
Table 2. Interlock assembly kits for interconnected breakers
Interconnected breaker Interlock assembly kit for fixed breaker Interlock assembly kit for drawout breaker
NRX Type RF frame IZMX-MIL32C-F16-2 IZMX-MIL32C-W16-2
NRX Type NF frame IZMX-MIL32C-F40-2 IZMX-MIL32C-W40-2
Magnum IZM97 or IZM99 IZM-MCI32-F IZM-MCI32-W
Magnum DST or SB MCI3W32FX MCI3W32D
Table 3. Interconnecting cable kits (two cables per kit) a
Cable kit length Catalogue number
1,5 m (5 ft) IZMX-MIL-CAB1520-2
1,8 m (6 ft) IZMX-MIL-CAB1830-2
2,4 m (8 ft) IZMX-MIL-CAB2440-2
3,0 m (10 ft) IZMX-MIL-CAB3050-2
- Cable kits are purchased separately as needed.
Figure 2. Interlock kit part identification, includes parts to install on a single drawout Type NF frame breaker and cassette (does not include cables)
Figure 3. Interconnecting cable kit part identification (includes cables)
Installation of two-way cable interlock
Required tools
- 10 mm hex socket
- 11/16-inch open-end wrench
- 3/8-inch open-end wrench
- 3/8-inch hex socket
- 2 mm Allen wrench
- Drive extension
- Adjustable wrench
- Ratchet
- Measuring instrument, in mm
Before proceeding with the following steps, ensure that all breakers are in the OPEN and DISCHARGED position.
Step 1
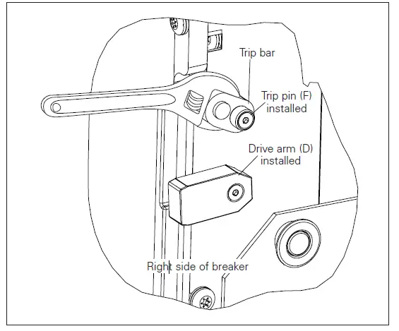
Install the drive arm (D) to the end of the pole shaft using one M3 x 8 mm flathead screw (C) as shown in Figure 4 and Figure 5. Apply LoctiteT Blue 242 to ensure that the screw cannot loosen during operation. The drive arm should be oriented as shown in Figure 4 and Figure 5. Torque to 0,3–0,6 N·m (3–5 in-lb).
Step 2
Install the trip pin (F) to the trip bar using an M3 x 8 mm flathead screw (C) while holding the trip bar with an adjustable wrench
as shown in Figure 4 and Figure 5. Apply Loctite Blue 242 to ensure that the screw cannot loosen during operation. Torque to 0,3–0,6 N·m (3-5 in-lb).
Figure 5. Details for Steps 1 and 2
Step 3
Fasten interlock assembly (E) to drawout cassette’s right-side sheet using three M6 x 12 mm hex bolts (A) and lock washers (B) as shown in Figure 6. Torque to 4,5–5,6 N·m (40–50 in-lb). Ensure that once the breaker is racked in, the interlock assembly trip paddle is above the trip pin on the trip bar as shown in Figure 7.
Figure 4. Details for Steps 1 and 2
Figure 6. Details for Step 3
Installation and removal instructions
Series NRX NF drawout breaker three-way Type 32 cable interlock kit
Figure 7. Details for Step 3
Step 4
Fasten four cable brackets (H) to drawout cassette’s right-side sheet just below interlock assembly mounted in Step 3 using four M6 x 10 mm thread-forming screws (I) as shown in Figure 8. Torque to 7,3–9,6 N·m (65–85 in-lb).
Figure 8. Details for Step 4
Step 5
This step contains cable routing and installation procedures. Make sure that cables move freely in their cable housings before installation. When attaching cables to swivel fittings, ensure that both ends of the cable are connected to push swivel fittings or both ends of the cable are connected to pull swivel fittings (refer to Figure 10). For example, a cable connected to the Drive Lever Pull Swivel Fitting on Breaker A must connect to the Driven Lever Pull Swivel Fitting on Breaker B.
ATTENTION
FIGURE 9 SHOWS THE TYPICAL CABLE ROUTING FOR TYPE 32 INTERLOCK CONFIGURATIONS. NOTICE THAT DEPENDING ON THE POSITION OF THE BREAKER WITHIN THE INTERLOCK CONFIGURATION, THE CABLES WILL BE ATTACHED IN DIFFERENT LOCATIONS. THE CABLE MOUNTING ON BOTH POINTS OF THE DRIVE AND DRIVEN LEVERS ARE DESCRIBED BELOW. TABLE 4 SHOWS THE TYPE 32 INTERLOCK LOGIC DEPENDING
ON POSITION.
Figure 9. Cable routing for Type 32 interlock configurations
Table 4. Type 32 interlock logic
0 = open
1 = closed
Installation recommendations
- 4 inch (102 mm) minimum allowable cable housing bend radius
- Use plastic wire ties / clamps to attach cable housing to structure after installation and adjustment
- Do not compress cable housing
- Recheck to ensure cables move freely
Figure 10. Push and pull swivel fitting identification
Step 6
This step describes how to first attach the drive (short rod) end of a cable to its interlock assembly and cable bracket. See Figure 11.
To attach the drive (short rod) end of a cable to the drive lever pull swivel fitting (refer to Figure 10), follow the directions below.
- Remove upper nut, compression spring, and 38,1 mm (1,5 inch) tube spacer from end of rod of cable assembly.
- Slide rubber boot toward tip of rod.
- Unthread outer bulkhead nut and slide nut and lock washer toward tip.
- Insert threaded end of rod into swivel fitting.
- Slide smaller diameter portion of bulkhead fitting into cable bracket slot, keeping one of the two lock washers with each bulkhead nut.
- Raise the cable assembly until threaded portion of bulkhead fitting enters slotted hole in cable bracket (threads show above bracket).
- Bring bulkhead washer and nut down to threads and hand tighten.
- Adjust two bulkhead nuts to approximately center the threaded section of the bulkhead fitting on the cable mounting bracket.
- Hand tighten the bulkhead nuts at this time.
- Slide rubber boot back into place over end of bulkhead fitting.
- Replace 38,1 mm (1,5 inch) tube spacer, compression spring, and upper nut on end of rod.
- Lower nuts should be against the stop at the end of thread and upper nut tightened against tube spacer.
- Hold lower nuts and torque upper nut to 3,3–4,5 N·m (30–40 in-lb).
To attach the drive (short rod) end of a cable to the drive lever push swivel fitting (refer to Figure 10), follow the directions below (see Figure 11).
- Remove upper nut from end of rod of cable assembly.
- Slide rubber boot toward tip of rod.
- Unthread outer bulkhead nut and slide nut and lock washer toward tip.
- Insert threaded end of rod with 38,1 mm (1,5 inch) tube spacer into swivel fitting, ensuring that the compression spring remains between the lower nuts and the swivel.
- Slide smaller diameter portion of bulkhead fitting into cable bracket slot, keeping one of the two lock washers with each bulkhead nut.
- Raise the cable assembly until threaded portion of bulkhead fitting enters slotted hole in cable bracket (threads show
above bracket). - Bring bulkhead washer and nut down to threads and hand tighten.
- Adjust two bulkhead nuts to approximately center the threaded section of the bulkhead fitting on the cable mounting bracket.
- Hand tighten the bulkhead nuts at this time.
- Slide rubber boot back into place over end of bulkhead fitting.
- Lower nuts should be against the stop at the end of thread and upper nut tightened against tube spacer.
- Hold lower nuts and torque upper nut to 3,3–4,5 N·m (30–40 in-lb).
Step 7
This step describes how to attach the driven (long rod) end of a cable attached to an interlock assembly on another breaker to the cable bracket and interlock assembly on this Type NF frame breaker. Refer to Figure 9 and Figure 10 for cable routing and correct swivel fittings to which the cables are connected.
The driven (long rod) end of the cable is attached to the corresponding push or pull swivel fitting on the driven lever on this cable interlock assembly similarly to Step 6 except the driven end does not utilize a compression spring between the swivel and nut. For the push cable, remove and discard the 22,2 mm (0,875 inch) cable tube spacer (M) on the rod end of the cable assembly (K) and replace it with the 30,5 mm (1,2 inch) cable tube spacer (J). For the pull cable, retain the 22,2 mm (0,875 inch) cable tube spacer (M) on the rod end of the cable assembly (K). Install as shown in Figure 16.
Figure 11. Details for Step 6: cable assembly drive (short rod) end mounting component identification, mounting cable assembly in cable bracket, and cable rod attachment to drive arm
Step 8
This step describes how to adjust the cables to ensure proper functionality of the cable interlock setup. Cable adjustments are made with the large bulkhead nuts ONLY and with all breakers OPEN. Nuts on the rod ends should not be moved.
Begin by adjusting or verifying that the threaded section of all bulkhead fittings are approximately centered on the cable mounting brackets, allowing for room to adjust in either direction. Hand tighten the nuts at this time.
Perform initial adjustments on the driven (long rod) end of cable until the gaps identified in Figure 12 through Figure 15 are as specified. Figure 12 through Figure 15 show the position of the interlock assembly driven “And” lever based on the state of the interconnected breakers.
Figure 12. Driven “And” lever position with interconnected breakers open
Figure 13. Driven “And” lever position with interconnected push breaker open and pull breaker closed
Figure 14. Driven “And” lever position with interconnected push breaker closed and pull breaker open
Figure 15. Driven “And” lever position with interconnected breakers closed
If there is too much clearance, adjust both bulkhead nuts to retract the cable housing (move threaded portion down).
If there is no clearance, advance the cable housing in the same manner (move threaded portion up).
If additional adjustment length is needed, the bulkhead nuts on the other (drive) end of cable can be used.
When the proper clearance is attained on the driven end, torque both cable bulkhead nuts to 11–13 N·m (100–120 in-lb) without moving the bulkhead fittings.
After the driven end has been adjusted and the bulkhead nuts have been tightened, perform adjustments on the drive (short rod) end of the cable. Adjust the bulkhead nuts up (move threaded portion down) such that the gap between the drive lever and the interlock assembly base shown on Figure 10 is less than 8 mm.
When the gap is less than 8 mm, torque the cable bulkhead nuts on both ends to 11–13 N·m (100–120 in-lb).
Figure 16. Details for Step 7: driven (long rod) end mounting component identification and Step 8 driven (long rod) end after adjustments
Functional test of interlock assembly
Refer to Table 1 and Figure 1 for breaker position in the interlock configuration. Begin test sequence with all breakers OPEN. For Breaker A, verify that the interlock assembly is positioned as shown in Figure 17 while in the various states required by the steps below. For Breakers B and C, use the figure included in the information leaflet for the interlock kit installed on those breakers.
Type 32
Six-cable interlock assembly test. Refer to Table 1 for logic details.
- OPEN all breakers
- CHARGE and CLOSE Breaker A—Breakers B and C should not be interlocked (not held OPEN and able to CLOSE, one at a time)
- OPEN Breaker A
- CHARGE and CLOSE Breaker B—Breakers C and A should not be interlocked (not held OPEN and able to CLOSE, one at a time)
- OPEN Breaker B
- CHARGE and CLOSE Breaker C—Breakers A and B should not be interlocked (not held OPEN and able to CLOSE, one at a time)
- OPEN Breaker C
- CHARGE and CLOSE Breakers A and B—Breaker C should be interlocked (held OPEN, not able to CLOSE)
- CHARGE and attempt to CLOSE Breaker C—it should not respond to CLOSE attempt (no noise, spring discharge, or contact motion)
- OPEN Breakers A and B
- CHARGE and CLOSE Breakers B and C—Breaker A should be interlocked (held OPEN, not able to CLOSE)
- CHARGE and attempt to CLOSE Breaker A—it should not respond to CLOSE attempt (no noise, spring discharge, or contact motion)
- OPEN Breakers B and C
- CHARGE and CLOSE Breakers C and A—Breaker B should be interlocked (held OPEN, not able to CLOSE)
- CHARGE and attempt to CLOSE Breaker B—it should not respond to CLOSE attempt (no noise, spring discharge, or contact motion)
- OPEN Breakers C and A
The mechanical interlock is now properly installed and adjusted. Use a light amount of supplied lubricant (G) if any interlock parts are sticky or do not fully reset. This is only recommended if needed.
Figure 17. Position of interlock based on breaker state
Disclaimer of warranties and limitation of liability
The information, recommendations, descriptions, and safety notations in this document are based on Eaton’s experience and judgment, and may not cover all contingencies. If further information is required, an Eaton sales office should be consulted.
Sale of the product shown in this literature is subject to the terms and conditions outlined in appropriate Eaton selling policies or other contractual agreement between Eaton and the purchaser.
THERE ARE NO UNDERSTANDINGS, AGREEMENTS, WARRANTIES, EXPRESSED OR IMPLIED, INCLUDING WARRANTIES OF FITNESS FOR A PARTICULAR PURPOSE OR MERCHANTABILITY, OTHER THAN THOSE SPECIFICALLY SET OUT IN ANY EXISTING CONTRACT BETWEEN THE PARTIES. ANY SUCH CONTRACT STATES THE ENTIRE OBLIGATION OF EATON. THE CONTENTS OF THIS DOCUMENT SHALL NOT BECOME PART OF OR MODIFY ANY CONTRACT BETWEEN THE PARTIES.
In no event will Eaton be responsible to the purchaser or user in contract, in tort (including negligence), strict liability or otherwise for any special, indirect, incidental or consequential damage or loss whatsoever, including but not limited to damage or loss of use of equipment, plant or power system, cost of capital, loss of power, additional expenses in the use of existing power facilities, or claims against the purchaser or user by its customers resulting fromthe use of the information, recommendations and description contained herein.
The information contained in this manual is subject to change without notice.
Eaton
1000 Eaton Boulevard
Cleveland, OH 44122
United States
Eaton.com
© 2015 Eaton
All Rights Reserved
Printed in USA
Publication No. IL0131080EN / Z16895
Part Number: IL0131080ENH01
August 2015
Eaton is a registered trademark.
All other trademarks are property of their respective owners.




















