MITSUBISHI ELECTRIC SEZ-KD25 Bulkhead 2.5Kw Air-Conditioners
For safe and correct use, please read this installation manual thoroughly before installing the air-conditioner unit.
INSTALLATION
- Access door
- B Electrical parts box
- C Air inlet
- D Air outlet
- E Ceiling surface
- F Service space (viewed from the side)
- G Service space (viewed from the direction of the arrow
- 600 mm or more
- 100 mm or more
- 10 mm or more
- 300 mm or more
| Model | A | B | C | D | E |
| SEZ-KD25 | 700 | 752 | 798 | 660 | 800 |
| SEZ-KD35, 50 | 900 | 952 | 998 | 860 | 1000 |
| SEZ-KD60, 71 | 1100 | 1152 | 1198 | 1060 | 1200 |
SUZ-KA25VA
- A 100 mm or more
- B 350 mm or more
- C Basically open 100 mm or more without only obstruction in front and on both sides of the unit.
- D 200 mm or more (Open two sides of left, right, or rear side.)

- A Center of gravity

- A Unit body
- B Lifting machine
- C Nuts (field supply)
- D Washers (accessory)
- E M10 hanging bolt (field supply)
- A-Indoor unit’s bottom surface





- a Smooth all around
- b Inside is shining without any scratches
- c Even length all around
- d Too much
- e Tilted
- f Scratch on
- flared plane
- g Cracked
- h Uneven
- i Bad examples



- Pipe cover (small) (accessory)
- B Caution:
Pull out the thermal insulation on the refrigerant piping at the site, insert the flare nut to flare the end, and replace the insulation in its original position.
Take care to ensure that condensation does not form on exposed copper piping. - C Liquid end of refrigerant piping

- Gas end of refrigerant piping
- E Site refrigerant piping
- F Main body
- G Pipe cover (large) (accessory)
- H Thermal insulation (field supply)
- I Pull
- J Flare nut
- K Return to the original position

- L Ensure that there is no gap here
- M Plate on the main body
- N Band (accessory)
- O Ensure that there is no gap here. Place join upwards.

- A Downward slope of 1/100 or more
- B Connection dia. R1 external thread
- C Indoor unit
- D Collective piping
- E Maximize this length to approx. 10 cm

- A-Indoor unit
- B Pipe cover (short) (accessory)
- C Tie band (accessory)
- D Band fixing part
- E Insertion margin
- F Drain hose (accessory)
- G Drain pipe (O.D. ø32 PVC TUBE, field supply)
- H Insulating material (field supply)
- I Max.145 ± 5 mm

- A-Air inlet
- B Air outlet
- C Access door
- D Ceiling surface
- E Canvas duct
- F Air filter
- G Inlet grille


- E Use PG bushing to keep the weight of the cable and external force from being applied to the power supply terminal connector. Use a cable tie to secure the cable.
- F Power source wiring
- G Tensile force
- H Use ordinary bushing
- I Signal receiving unit wiring
- J Terminal bed for power source and indoor transmission
- K To 1-phase power source
- L Connecting the signal receiving unit Connect the signal receiving unit to the CN90 (Connect to the wireless remote controller board) on the indoor unit using the supplied remote controller wire. Connect the signal receiving units to all the indoor units.

- A-Indoor terminal block
- B Earth wire (green/yellow)
- C Indoor/outdoor unit connecting wire 3- core 1.5 mm2 or more
- D Outdoor terminal block
- E Power supply cord: 2.0 mm2 or more F Indoor controller board
- Connecting cable
Cable 3-core 1.5 mm2, in conformity - with Design 245 IEC 57. 2 Indoor terminal block
- Outdoor terminal block
- Always install an earth wire (1-core 1.5 mm2) longer than other cables
- Signal receiving unit cable (accessory) (wire length: 5 m)
- Signal receiving unit
- Power supply cord
Cable 3-core 2.0 mm2 or more, in conformity with Design 245 IEC 57.

- A-For installation in the switch box:
- B For direct installation on the wall select one of the following:
• Prepare a hole through the wall to pass the remote controller cord (in order to run the remote controller cord from the back), then seal the hole with putty.
• Run the remote controller cord through the cut-out upper case, then seal the cut-out notch with putty similarly as above. - C Wall
- D Conduit
- E Lock nut
- F Bushing
- G Switch box
- H Remote controller cord I Seal with putty



- A Signal receiving unit external
- B Center of the Switch box
- C Switch box
- D Installation pitch
- E 6.5 mm (1/4 inch)
- F 70 mm (2 – 3/4 inch)
- G 83.5 ± 0.4 mm (3 – 9/32 inch)
- H Protrusion (pillar, etc)

- A-Remote controller wire
- B Hole (drill a hole in the ceiling to pass the remote controller wire.)
- C Signal Receiving Unit

- A Fix tightly with tape.
- B Remote controller wire
- C Order wire
A-Insert the minus screwdriver toward the arrow pointed and wrench it to remove the cover. A flat screwdriver whose width of the blade is between 4 and 7 mm (5/32 – 9/32 inch) must be used.
- Hang the cover to the upper hooks (2 places).
- Mount the cover to the lower case

- A Cross-section of upper hooks
When using the switch box
- A 150 mm (5 – 15/16 inch)
- B Remote controller wire (Accessory)
- C Wiring pipe
- D Locknut
- E Bushing
- F Switch box
- G Seal around here with putty
When installing directly on the wall
- H Seal around here with putty
- I Remote controller wire
- J Seal around here with putty

Insert the minus screwdriver toward the arrow pointed and wrench it to remove the cover. A flat screwdriver whose width of the blade is between 4 and 7 mm (5/32 – 9/32 inch) must be used.
- A Thin-wall portion
- B Bottom case
- C Remote controller wire
- D Conducting wire

- A Screw (M4 × 30) When installing the lower case directly on the wall or the ceiling, use wood screws.

- Hang the cover to the upper hooks (2 places).
- Mount the cover to the lower case

- A Cross-section of upper hooks

- A Loosen terminal screw
- B Terminal block
- C Lead wire

- A-Hour button
- B Minute button
- C TEMP button
- D TEMP button
- E ON/OFF button
- F CHECK button

- A TEST RUN button
- B MODE button
- C FAN button
- D VANE button

- A-Indoor unit
- B Union
- C Liquid pipe
- D Gas pipe
- E Stop valve
- F Outdoor unit
- G Refrigerant gas cylinder operating valve
- H Refrigerant gas cylinder for R410A with siphon
- I Refrigerant (liquid)
- J Electronic scale for refrigerant charging
- K Charge hose (for R410A)
- L Gauge manifold valve (for R410A)
- M Service port

Safety precautions
- Please report to or take consent from the supply authority before connection to the system.
- Be sure to read “The following should always be observed for safety” before installing the air conditioner.
- Be sure to observe the cautions specified here as they include important items related to safety.
- The indications and meanings are as follows.
Warning:
- Could lead to death, serious injury, etc.
Caution:
- Could lead to serious injury in particular environments when operated incorrectly.
- After reading this manual, be sure to keep it together with the instruction manual in a handy place on the customer’s site.
Warning:
- Do not install it by yourself (customer). Incomplete installation could cause injury due to fire, electric shock, the unit falling, or leakage of water. Consult the dealer from whom you purchased the unit or a special installer.
- Install the unit securely in a place that can bear its weight of the unit. When installed in an insufficient strong place, the unit could fall causing injured.
- Use the specified wires to connect the indoor and outdoor units securely and attach the wires firmly to the terminal board connecting sections so the stress of the wires is not applied to the sections. Incomplete connecting and fixing could cause a fire.
- Do not use the intermediate connection of the power cord or the extension cord and do not connect many devices to one AC outlet. It could cause a fire or an electric shock due to defective contact, defective insulation, exceeding the permissible current, etc.
- Check that the refrigerant gas does not leak after the installation has been completed.
Caution:
- Perform grounding. Do not connect the ground wire to a gas pipe, water pipe arrester, or telephone ground wire. Defective grounding could cause an electric shock.
- Do not install the unit in a place where an inflammable gas leaks. If gas leaks and accumulates in the area surrounding the unit, it could cause an explosion.
- Install a ground leakage breaker depending on the installation place (where it is humid). If a ground leakage breaker is not installed, it could cause an electric shock.
Selecting the installation location
Indoor unit
- Where airflow is not blocked.
- Where cool air spreads over the entire room.
- Where it is not exposed to direct sunshine.
- At a distance of 1 m or more away from your TV and radio (to prevent pictures from being distorted or noise from being generated).
- In a place as far away as possible from fluorescent and incandescent lights (so the infrared remote control can operate the air conditioner normally).
Outdoor unit
- Where it is not exposed to strong wind.
- Where airflow is good and dustless.
- Where it is not exposed to rain and direct sunshine.
- Where neighbors are not annoyed by operation sound or hot air.
- Where rigid wall or support is available to prevent the increase of operation sound or vibration.
- Where there is no risk of combustible gas leakage.
- When installing the unit at a high level, be sure to fix the unit legs.
- Where it is at least 3 m away from the antenna of TV set or radio. (Otherwise, images would be disturbed or noise would be generated.)
Symbols put on the unit
Warning:
Carefully read the labels affixed to the main unit.
- Perform the installation securely referring to the installation manual. Incomplete installation could cause a personal injury due to fire, electric shock, the unit falling, or leakage.
- Perform electrical work according to the installation manual and be sure to use an exclusive If the capacity of the power circuit is insufficient or there is incomplete electrical work, it could result in a fire or an electric shock.
- Attach the electrical part cover to the indoor unit and the service panel to the outdoor unit If the electrical part cover in the indoor unit and/or the service panel in the outdoor unit are not attached securely, it could result in a fire or an electric shock due to dust, water, etc.
- Be sure to use the part provided or specified parts for the installation work. The use of defective parts could cause an injury or leakage of water due to a fire, an electric shock, the unit falling,
- Ventilate the room if the refrigerant leaks If the refrigerant comes in contact with a flame, poisonous gases will be released.
Caution:
- Perform Do not connect the ground wire to a gas pipe, water pipe arrester, or telephone ground wire. Defective grounding could cause an electric shock.
- Do not install the unit in a place where an inflammable gas If gas leaks and accumulates in the area surrounding the unit, it could cause an explosion.
- Install a ground leakage breaker depending on the installation place (where it is humid). If a ground leakage breaker is not installed, it could cause an electric shock.
Warning: Carefully read the labels affixed to the main unit.
- Perform the installation securely referring to the installation manual. Incomplete installation could cause a personal injury due to fire, electric shock, the unit falling, or leakage.
- Perform electrical work according to the installation manual and be sure to use an exclusive
- If the capacity of the power circuit is insufficient or there is incomplete electrical work, it could result in a fire or an electric shock.
- Attach the electrical part cover to the indoor unit and the service panel to the outdoor unit
- If the electrical part cover in the indoor unit and/or the service panel in the outdoor unit are not attached securely, it could result in a fire or an electric shock due to dust, water, etc.
- Be sure to use the part provided or specified parts for the installation work. The use of defective parts could cause an injury or leakage of water due to a fire, an electric shock, or the unit falling, Ventilate the room if refrigerant leaks during If the refrigerant comes in contact with a flame, poisonous gases will be released.
Selecting the installation location
- Select a site with a sturdy fixed surface sufficiently durable against the weight of the unit.
- Before installing the unit, the routing to carry in the unit to the installation site should be determined.
- Select a site where the unit is not affected by entering the air.
- Select a site where the flow of supply and return air is not blocked.
- Select a site where refrigerant piping can easily be led to the outside.
- Select a site that allows the supply air to be distributed fully in the room.
- Do not install a unit at a site with oil splashing or steam in much quantity.
- Do not install a unit at a site where combustible gas may generate, flow in, stagnate or leak.
- Do not install a unit at a site where equipment generating high-frequency waves (a high-frequency wave welder for example) is provided.
- Do not install a unit at a site where a fire detector is located at the supply air side. (Fire detector may operate erroneously due to the heated air supplied during heating operation.)
- When special chemical products may scatter around such as site chemical plants and hospitals, a full investigation is required before installing the unit. (The plastic components may be damaged depending on the chemical product applied.)
- If the unit is run for long hours when the air above the ceiling is at high temperature/high humidity (due point above 26 °C), due condensation may be produced in the indoor unit. When operating the units in this condition, add insulation material (10-20 mm) to the entire surface of the indoor unit to avoid due condensation.
Install the indoor unit on a ceiling strong enough to sustain its weight
- A-Access door
- B Electrical parts box
- C Air inlet
- D Air outlet
- E Ceiling surface
- F Service space (viewed from the side)
- G Service space (viewed from the direction of the arrow)
- 600 mm or more
- 100 mm or more
- 10 mm or more
- 300 mm or more
If the optional long-life filter is installed, the dimensions of the air conditioner increase.
- Rear inlet: Depth increases by 30 mm (*1)
- Bottom inlet: Height increases by 30 mm (*2)
Warning:
The unit must be securely installed on a structure that can sustain its weight. If the unit is mounted on an unstable structure, it may fall down causing injuries.
Securing installation and service space
- Select the optimum direction of supply airflow according to the configuration of the room and the installation position.
- As the piping and wiring are connected at the bottom and side surfaces and the maintenance is made at the same surfaces, allow a proper space properly. For efficient suspension work and safety, provide space as much as possible.
Outdoor unit Ventilation and service space
- A 100 mm or more
- B 350 mm or more
- C Basically open 100 mm or more without only obstruction in front and on both sides of the unit.
- D 200 mm or more (Open two sides of left, right, or rear side.)
When the piping is to be attached to a wall containing metals (tin plated) or metal netting, use a chemically treated wooden piece 20 mm or thicker between the wall and the piping or wrap 7 to 8 turns of insulation vinyl tape around the piping. Units should be installed by licensed contractors accordingly to local code requirements.
Indoor unit accessories
The unit is provided with the following accessories:
| No. | Name | Quantity |
| 1 | Pipe cover (for refrigerant piping joint) Small diameter | 1 |
| 2 | Pipe cover (for refrigerant piping joint) Large diameter | 1 |
| 3 | Bands for temporary tightening of pipe cover and drain hose | 6 |
| 4 | Remote controller parts | 1 |
| 5 | Signal receiving unit | 1 |
| 6 | Signal receiving unit cable | 1 |
| 7 | Washer | 8 |
| 8 | Drain hose | 1 |
| 9 | Pipe cover (for Drain hose) short | 1 |
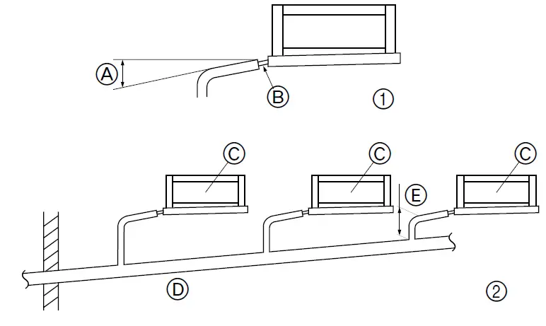
Fixing hanging bolts
Fixing hanging bolts
- A Center of gravity (Give site of suspension strong structure.)
Hanging structure
Ceiling: The ceiling structure varies from building to one another. For detailed information, consult your construction company.
Center of gravity and Product Weight
- Reinforcing the ceiling with additional members (edge beam, etc.) must be required to keep the ceiling at a level and to prevent the ceiling from vibrations.
- Cut and remove the ceiling members.
- Reinforce the ceiling members, and add other members for fixing the ceiling boards.
| Model name | W | L | X | Y | Z | Product Weight (kg) |
| SEZ-KD25 | 625 | 752 | 263 | 351 | 106 | 18 |
| SEZ-KD35 | 625 | 952 | 286 | 448 | 104 | 21 |
| SEZ-KD50 | 625 | 952 | 280 | 437 | 104 | 24 |
| SEZ-KD60 | 625 | 1152 | 285 | 527 | 104 | 28 |
| SEZ-KD71 | 625 | 1152 | 285 | 527 | 104 | 28 |
Installing the unit
Hanging the unit body
- Bring the indoor unit to an installation site as it is packed.
- To hang the indoor unit, use a lifting machine to lift and pass through the hanging bolts.
- A Unit body
- B Lifting machine
- C Nuts (field supply)
- D Washers (accessory)
- E M10 hanging bolt (field supply)
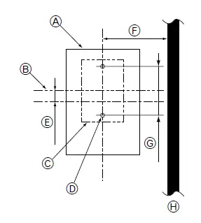
Confirming the unit’s position and fixing hanging bolts
- Use the gauge supplied with the panel to confirm that the unit body and hanging bolts are positioned in place. If they are not positioned in place, it may result in dew drops due to wind leaks. Be sure to check the positional relationship.
- Use a level to check that the surface indicated by AAAAA is at a level. Ensure that the hanging bolt nuts are tightened to fix the hanging bolts.
- To ensure that the drain is discharged, be sure to hang the unit at level using
Refrigerant piping work
Refrigerant pipe
- a Indoor unit
- b Outdoor unit
Refer to the Instruction Manual that came with the outdoor unit for the restrictions on the height difference between units and for the amount of additional refrigerant charge.
Avoid the following places for installation where air conditioner trouble is liable to occur.
- Where there is too much oil such as for machine or cooking.
- Salty environment as seaside areas.
- Hot-spring areas.
- Where sulfide gas exists.
- Other special atmospheric areas.
- This unit has flared connections on both indoor and outdoor sides.
- Refrigerant pipes are used to connect the indoor and outdoor units as shown in the figure below.
- Insulate both refrigerant and drainage piping completely to prevent condensation.
Piping preparation
Refrigerant pipes of 3, 5, 7, 10, and 15 m are available as optional items. Able below shows the specifications of pipes commercially available.
| Model | Pipe | Outside diameter | Min wall thickness | Insulation thickness | Insulation material | |
| mm | inch | |||||
| SEZ- KD25 | For liquid | 6.35 | 1/4 | 0.8 mm | 8 mm |
Heat resisting foam plastic 0.045 specific gravity |
| For gas | 9.52 | 3/8 | 0.8 mm | 8 mm | ||
| SEZ- KD35 | For liquid | 6.35 | 1/4 | 0.8 mm | 8 mm | |
| For gas | 9.52 | 3/8 | 0.8 mm | 8 mm | ||
| SEZ- KD50 | For liquid | 6.35 | 1/4 | 0.8 mm | 8 mm | |
| For gas | 12.7 | 1/2 | 0.8 mm | 8 mm | ||
| SEZ- KD60 | For liquid | 6.35 | 1/4 | 0.8 mm | 8 mm | |
| For gas | 15.88 | 5/8 | 1.0 mm | 8 mm | ||
| SEZ- KD71 | For liquid | 9.52 | 3/8 | 0.8 mm | 8 mm | |
| For gas | 15.88 | 5/8 | 1.0 mm | 8 mm | ||
Ensure that the 2 refrigerant pipes are well insulated to prevent condensation. Refrigerant pipe bending radius must be 10 cm or more.
Caution: Use careful insulation of specified thickness. Excessive thickness prevents storage behind the indoor unit and smaller thickness causes dew drippage.
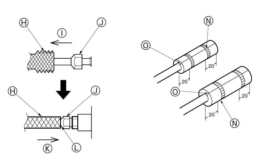
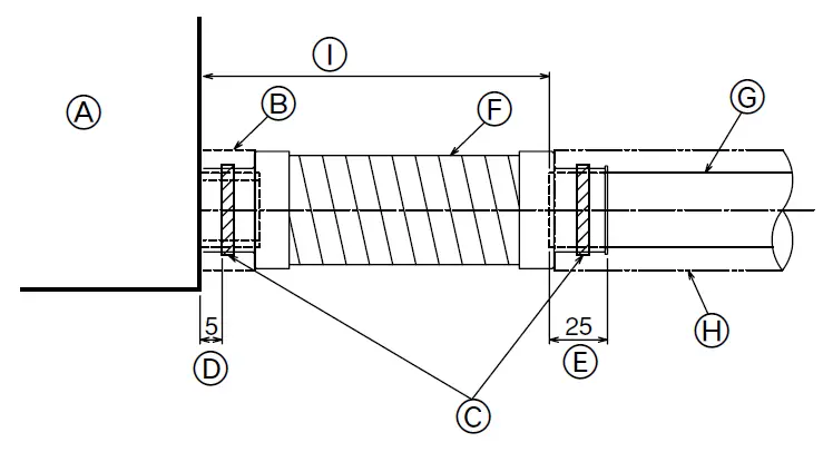
Flaring work: Main cause of gas leakage is a defect in flaring work. Carry out correct flaring work in the following procedure.
Pipe cutting
- a Copper tubes
- b Good
- c No good
- d Tilted
- e Uneven
- f Burred
- Using a pipe cutter cut the copper tube correctly.
Burrs removal
a Burr
- b Copper tube/pipe
- c Spare reamer
- d Pipe cutter
- Completely remove all burrs from the cut cross-section of pipe/tube.
- Put the end of the copper tube/pipe in a downward direction as you remove burrs in order to avoid burrs dropping in the tubing.
Putting nut on
a Flare nut
b Copper tube
- Remove flare nuts attached to the indoor and outdoor unit, then put them on pipe/tube having completed burr removal. (not possible to put them on after flaring work)
Flaring work
- a Flaring tool
- b Die
- c Copper tube
- d Flare nut
- e Yoke
- Carry out flaring work using the flaring tool as shown below
Check
| Pipe diameter (mm) | Dimension | |
| A (mm) | B +0 (mm) -0.4 | |
| When the tool for R410A is used | ||
| Clutch type | ||
| 6.35 | 0 – 0.5 | 9.1 |
| 9.52 | 0 – 0.5 | 13.2 |
| 12.7 | 0 – 0.5 | 16.6 |
| 15.88 | 0 – 0.5 | 19.7 |
- a Smooth all around f Scratch on flared plane
- b Inside is shining without any scratches g Cracked
- c Even length all around h Uneven
- d Too much I Bad examples
- e Tilted
- Compare the flared work with a figure on the right side hand.
- If flare is noted to be defective, cut off the flared section and do flaring work again.
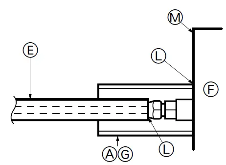
Pipe connection
- Apply a thin coat of refrigeration oil on the seat surface of the pipe.
- For connection first, align the center, then tighten the first 3 to 4 turns of the flare nut.
- Use the tightening torque table below as a guideline for the indoor unit side union joint section, and tighten using two wrenches. Excessive tightening damages the flare section.
| Copper pipe O.D. (mm) | Flare nut O.D. (mm) | Tightening torque (N·m) |
| ø6.35 | 17 | 14 – 18 |
| ø9.52 | 22 | 34 – 42 |
| ø12.7 | 26 | 49 – 61 |
| ø15.88 | 29 | 68 – 82 |
Warning:
Be careful of flying flare nut! (Internally pressurized)
Remove the flare nut as follows:
- Loosen the nut until you hear a hissing noise.
- Do not remove the nut until the gas has been completely released (i.e., the hissing noise stops).
- Check that the gas has been completely released, and then remove the nut.
Outdoor unit connection
- Connect pipes to stop valve pipe joint of the outdoor unit in the same manner applied for the indoor unit.
- For tightening use a torque wrench or spanner, and use the same tightening torque applied for the indoor unit.
Refrigerant pipe insulation
- After connecting refrigerant piping, insulate the joints (flared joints) with thermal insulation tubing as shown below.
A Pipe cover (small) (accessory)
Caution:
Pull out the thermal insulation on the refrigerant piping at the site, insert the flare nut into the flare end, and replace the insulation in its original position. Take care to ensure that condensation does not form on exposed copper piping.
- C Liquid end of refrigerant piping
- D Gas end of refrigerant piping
- E Site refrigerant piping
- F Main body
- G Pipe cover (large) (accessory)
- H Thermal insulation (field supply)
- I Pull J Flare nut
- K Return to the original position
- L Ensure that there is no gap here
- M Plate on the main body
- N Band (accessory)
- O Ensure that there is no gap here. Place join upwards.
Refrigerant piping work
- Remove and discard the rubber bung which is inserted at the end of the unit piping.
- Flare the end of the site refrigerant piping.
- Pull out the thermal insulation on the site refrigerant piping and replace the insulation in its original position.
Cautions On Refrigerant Piping
- Be sure to use non-oxidative brazing for brazing to ensure that no foreign matter or moisture enters the pipe.
- Be sure to apply refrigerating machine oil over the flare connection seating surface and tighten the connection using a double spanner.
- Provide a metal brace to support the refrigerant pipe so that no load is
Purging procedures leak test



Drain piping work
- Ensure that the drain piping is downward (pitch of more than 1/100) to the outdoor (discharge) side. Do not provide any trap or irregularity on the way. (1)
- Ensure that any cross-wise drain piping is less than 20 m (excluding the difference of elevation). If the drain piping is long, provide metal braces to prevent it from waving. Never provide any air vent pipe. Otherwise, a drain may be ejected.
- Use a hard vinyl chloride pipe O.D. ø32 for drain piping.
- Ensure that collected pipes are 10 cm lower than the unit body’s drain port as shown in 2.
- Do not provide any odor trap at the drain discharge port.
- Put the end of the drain piping in a position where no odor is generated.
- Do not put the end of the drain piping in any drain where ionic gases are generated.[Fig. 6-10] (P.3)
- A Downward slope of 1/100 or more
- B Connection dia. R1 external thread
- C Indoor unit
- D Collective piping
- E Maximize this length to approx. 10 cm
- Insert the drain hose (accessory) into the drain port. (The drain hose must not be bent more than 45° to prevent the hose from breaking or clogging.) The connecting part between the indoor unit and the drain hose may be disconnected at the maintenance. Fix the part with the accessory band, not be adhered.
- Attach the drain pipe (O.D. ø32 PVC TUBE, field supply). (Attach the pipe with glue for the hard vinyl chloride pipe, and fix it with the band (small, accessory).)
Perform insulation work on the drain pipe (O.D. ø32 PVC TUBE) and on the socket (including the elbow).- A-Indoor unit
- B Pipe cover (short) (accessory)
- C Tie band (accessory)
- D Band fixing part
- E Insertion margin
- F Drain hose (accessory)
- G Drain pipe (O.D. ø32 PVC TUBE, field supply)
- H Insulating material (field supply)
- I Max.145 ± 5 mm
Ductwork
- When connecting ducts, insert a canvas duct between the main body and the duct.
- Use non-combustible duct components.
Caution:
- The noise from the intake will increase dramatically if intake AAAAA is fitted directly beneath the main body. Intake AAAAA should therefore be installed as far away from the main body as possible. Particular care is required when using it with bottom inlet specifications.
- Install sufficient thermal insulation to prevent condensation from forming on outlet duct flanges and outlet ducts.
- To connect the air conditioner’s main body and the duct for potential equalization.
- Keep the distance between the inlet grille and the fan over 850 mm. If it is less than 850 mm, install a safety guard not to touch the fan.[Fig. 7-1] (P.4)
- A-Air inlet
- B Air outlet
- C Access door
- D Ceiling surface
- E Canvas duct
- F Air filter
- G Inlet grille
Electrical work
Power supply
| Electrical specification | Input capacity Main Switch/Fuse (A) | ||||
| Power supply (1 phase ~/N, 230V, 50Hz) | SEZ-KD25 | SEZ-KD35 | SEZ-KD50 | SEZ-KD60 | SEZ-KD71 |
| 10 | 10 | 20 | 20 | 20 | |
Warning:
- The compressor will not operate unless the power supply phase connection is correct.
- Grounding protection with a no-fuse breaker (earth leakage breaker [ELB]) is usually installed for DDDDD.
- The connection wiring between the outdoor and indoor units can be extended up to a maximum of 50 meters, and the total extension including the crossover wiring between rooms is a maximum of 80 m.
A switch with at least 3 mm contact separation in each pole shall be provided by the air conditioner installation. Label each breaker according to the purpose (heater, unit, etc.).
- A-Indoor unit
- B Outdoor unit
- C Signal receiving unit
- D Wireless remote controller E Main switch/fuse
Outdoor unit
- Connect the cable from the indoor unit correctly on the terminal block.
- Use the same terminal block and polarity as is used with the indoor unit.
- For aftercare maintenance, give extra length to connecting cable.
- Both ends of connecting cable (extension wire) is peeled off. When too long, or connected by cutting off the middle, peel off the power supply cable to the size.
- Be careful not to contact connecting cable with piping.
- A-Loosen terminal screw
- B Terminal block
- C Lead wire
Caution:
- Use care not to make miswiring.
- Firmly tighten the terminal screws to prevent them from loosening.
- After tightening, pull the wires lightly to confirm that they do not move.
Warning:
- Be sure to attach the service panel of the outdoor unit securely. If it is not attached correctly, it could result in a fire or an electric shock due to dust, water, etc.
- Tighten terminal screws securely.
- Wiring should be done so that the power lines are not subject to tension. Otherwise, heat may be generated or fire may occur.
Electrical work
Function settings
Function setting on the unit (Selecting the unit functions)
- AUTO RESTART FUNCTION
For wireless remote controller only. - AUTO RESTART FUNCTION
When the indoor unit is controlled with the remote controller, the operation mode, set temperature, and fan speed are memorized by the indoor controller board. The auto restart function sets to work the moment the power has been restored after a power failure, then, the unit will restart automatically. - Function setting on the unit (Selecting the unit functions)
Changing the power voltage setting. Be sure to change the power voltage setting depending on the voltage used. - Go to the function select mode
Press the CHECK button F twice continuously. (Start this operation from the status of the remote controller display turned off.) - CHECK is lighted and “00” blinks
Press the TEMP button C once to set “50”. Direct the wireless remote controller toward the receiver of the indoor unit and press the Hour button A. - Setting the unit number
Press the TEMP button C and D to set the unit number “00”. Direct the wireless remote controller toward the receiver of the indoor unit and press the Minute button B. - Selecting a mode
Enter 04 to change the power voltage set using the C and D buttons. Direct the wireless remote controller toward the receiver of the indoor unit and press the Hour button A. - Current setting number: 1 = 1 beep (one second) 2 beeps (one second each) 3 beeps (one second each)
- Selecting the setting number Use the C and D buttons to change the power voltage set to 01 (240 V). Direct the wireless remote controller toward the sensor of the indoor unit and press the Hour button A.
- To select multiple functions continuously
Repeat steps 3 and 4 to change multiple function settings continuously. - Complete function selection
Direct the wireless remote controller toward the sensor of the indoor unit and press the ON/OFF button E
Note:
- Whenever changes are made to the function settings after installation or maintenance, be sure to record the changes with a mark in the “Setting” column of the Function table.
- Function setting on the remote controller Refers to the indoor unit operation manual.
Function table Select unit number 00
| Mode | Settings | Mode no. | Setting no. | Initial setting | Setting |
| Power failure automatic recovery*1 (AUTO RESTART FUNCTION) | Not available | 01 | 1 | (*1) | |
| Available | 2 | ||||
| Indoor temperature detecting | Indoor unit operating average | 02 | 1 | ||
| Set by indoor unit’s remote controller | 2 | ||||
| Remote controller’s internal sensor | 3 | ||||
| LOSSNAY connectivity | Not Supported | 03 | 1 | ||
| Supported (indoor unit is not equipped with outdoor-air intake) | 2 | ||||
| Supported (indoor unit is equipped with outdoor-air intake) | 3 | ||||
| Auto mode | Energy saving cycle automatically enabled | 05 | 1 | ||
| Energy saving cycle automatically disabled | 2 |
Select unit numbers 01 to 03 or all units (AL [wired remote controller]/07 [wireless remote controller])
| Mode | Settings | Mode no. | Setting no. | Initial setting | Setting |
| Filter sign | 100 Hr | 07 | 1 | ||
| 2500 Hr | 2 | ||||
| No filter sign indicator | 3 | ||||
| External static pressure | 15 Pa | 08 | 1 | ||
| 35 Pa | 2 | ||||
| 50 Pa | 3 | ||||
| The same as the setting of mode no.08 | 10 | 1 | |||
| 5 Pa (set mode no. 08 to 1) | 2 |
Test run
- Before test run
- After completing the installation and the wiring and piping of the indoor and outdoor units, check for refrigerant leakage, looseness in the power supply or control wiring, wrong polarity, and no disconnection of one phase in the supply.
- Use a 500-volt megohmmeter to check that the resistance between the power supply terminals and ground is at least 1.0 MΩ.
- Do not carry out this test on the control wiring (low voltage circuit) terminals.
Warning: Do not use the air conditioner if the insulation resistance is less than 1.0 MΩ.
Insulation resistance: After installation or after the power source to the unit has been cut for an extended period, the insulation resistance will drop below 1 MΩ due to refrigerant accumulating in the compressor. This is not a malfunction. Perform the following procedures.
- Remove the wires from the compressor and measure the insulation resistance of the compressor.
- If the insulation resistance is below 1 MΩ, the compressor is faulty or the resistance dropped due to the accumulation of refrigerant in the compressor.
- After connecting the wires to the compressor, the compressor will start to warm up after power is supplied. After supplying power for the times indicated below, measure the insulation resistance again.
• The insulation resistance drops due to the accumulation of refrigerant in the compressor. The resistance will rise above 1 MΩ after the compressor is warmed up for two to three hours. (The time necessary to warm up the compressor varies according to atmospheric conditions and refrigerant accumulation.)
• To operate the compressor with refrigerant accumulated in the compressor, the compressor must be warmed up for at least 12 hours to prevent breakdown. - If the insulation resistance rises above 1 MΩ, the compressor is not faulty.
Caution:
- The compressor will not operate unless the power supply phase connection is correct.
- Turn on the power at least 12 hours before starting operation.
- Starting operation immediately after turning on the main power switch can result in severe damage to internal parts. Keep the power switch turned on during the operational season.
Test run
Using the wireless remote controller
- Turn on the power to the unit at least 12 hours before the test run.
- Press the TEST RUN button A twice continuously. (Start this operation from the status of remote controller display turned off.) TEST RUN and current operation mode are displayed.
- Press the MODE button B to activate the COOL mode, then check whether cool air is blown out from the unit.
- Press the MODE button B to activate HEAT mode, then check whether warm air is blown out from the unit.
- Press the FAN button C and check whether fan speed changes.
- Press the VANE button D and check whether the auto vane operates properly.
- Press the ON/OFF button to stop the test run.
Note:- Point the remote controller towards the indoor unit receiver while following steps 2 to 7.
- It is not possible to run them in FAN, DRY or AUTO mode.
Test run
[Output pattern A] Errors detected by indoor unit
| Wireless remote controller | Wired remote controller |
Symptom |
Remark |
| Beeper sounds/OPERATION INDICATOR lamp flashes (Number of times) | Check code | ||
| 1 | P1 | Intake sensor error | |
| 2 | P2, P9 | Pipe (Liquid or 2-phase pipe) sensor error | |
| 3 | E6, E7 | Indoor/outdoor unit communication error | |
| 4 | P4 | Drain sensor error | |
| 5 | P5 | Drain pump error | |
| 6 | P6 | Freezing/Overheating safeguard operation | |
| 7 | EE | Communication error between indoor and outdoor units | |
| 8 | P8 | Pipe temperature error | |
| 9 | E4 | Remote controller signal receiving error | |
| 10 | – | – | |
| 11 | – | – | |
| 12 | Fb | Indoor unit control system error (memory error, etc.) | |
| No sound | – – | No corresponding |
[Output pattern B] Errors detected by unit other than indoor unit (outdoor unit, etc.)
| Wireless remote controller | Symptom | Remark |
| Beeper sounds/OPERATION INDICATOR lamp flashes (Number of times) | ||
| 1 | Indoor/outdoor unit communication error (Transmitting error) (Outdoor unit) |
For details, check the LED display of the outdoor controller board. |
| 2 | Compressor overcurrent interruption | |
| 3 | Open/short of outdoor unit thermistors | |
| 4 | Compressor overcurrent interruption (When compressor locked) | |
| 5 | Abnormal high discharging temperature/49C worked/ insufficient refrigerant | |
| 6 | Abnormal high pressure (63H worked)/ Overheating safeguard operation | |
| 7 | Abnormal temperature of heat sink | |
| 8 | Outdoor unit fan protection stop | |
| 9 | Compressor overcurrent interruption/Abnormal of power module | |
| 10 | Abnormality of super heat due to low discharge temperature | |
| 11 | Abnormality such as overvoltage or voltage shortage and abnormal synchronous signal to main circuit/Current sensor error | |
| 12 | – | |
| 13 | – | |
| 14 | Other errors (Refer to the technical manual for the outdoor unit.) |
- If the beeper does not sound again after the initial two beeps to confirm the self-check start signal was received and the OPERATION INDICATOR lamp does not
come on, there are no error records. - If the beeper sounds three times continuously “beep, beep, beep (0.4 + 0.4 + 0.4 sec.)” after the initial two beeps to confirm the self-check start signal was
received, the specified refrigerant address is incorrect.- On wireless remote controller, The continuous buzzer sounds from receiving section of indoor unit.Blink of the operation lamp
- On wired remote controller Check code displayed on the LCD.
| Symptom | Cause | ||
| Wired remote controller | LED 1, 2 (PCB in outdoor unit) | ||
| PLEASE WAIT | For about 2 minutes following power-on | After LED 1, 2 are lighted, LED 2 is turned off, then only LED 1 is lighted. (Correct operation) | • For about 2 minutes after power-on, operation of the remote controller is not possible due to system start-up. (Correct operation) |
| PLEASE WAIT ® Error code |
After about 2 min- utes has expired following power-on | Only LED 1 is lighted. ® LED 1, 2 blink. | • Connector for the outdoor unit’s protection device is not connected. • Reverse or open phase wiring for the outdoor unit’s power terminal block (L1, L2, L3) |
| Display messages do not appear even when operation switch is turned ON (operation lamp does not light up). | Only LED 1 is lighted. ® LED 1, 2 blinks twice, LED 2 blinks once. | • Incorrect wiring between indoor and outdoor units (incorrect polarity of S1, S2, S3) • Remote controller wire short | |
On the wireless remote controller with conditions above, following phenomena takes place.
- No signals from the remote controller are accepted.
- OPE lamp is blinking.
- The buzzer makes a short ping sound.
Note: Operation is not possible for about 30 seconds after the cancellation of function selection. (Correct operation)
For description of each LED (LED1, 2, 3) provided on the indoor controller, refer to the following table.
| LED 1 (power for microcomputer) | Indicates whether control power is supplied. Make sure that this LED is always lit. |
| LED 2 (power for remote controller) | Indicates whether power is supplied to the remote controller. This LED lights only in the case of the indoor unit which is connected to the outdoor unit refrigerant address “0”. |
| LED 3 (communication between indoor and outdoor units) | Indicates state of communication between the indoor and outdoor units. Make sure that this LED is always blinking. |
AUTO RESTART FUNCTION
Indoor controller board This model is equipped with the AUTO RESTART FUNCTION. When the indoor unit is controlled with the remote controller, the operation mode, set temperature, and the fan speed are memorized by the indoor controller board. The auto restart function sets to work the moment the power has restored after power failure, then, the unit will restart automatically. Set the AUTO RESTART FUNCTION using the wireless remote controller. (Mode no.1)
Maintenance
Gas charge
- A Indoor unit
- B Union
- C Liquid pipe
- D Gas pipe
- E Stop valve
- F Outdoor unit
- G Refrigerant gas cylinder operating valve
- H Refrigerant gas cylinder for R410A with siphon
- I Refrigerant (liquid)
- J Electronic scale for refrigerant charging
- K Charge hose (for R410A)
- L Gauge manifold valve (for R410A)
- M Service port
- Connect gas cylinder to the service port of stop valve (3-way).
- Execute air purge of the pipe (or hose) coming from refrigerant gas cylinder.
- Replenish specified amount of refrigerant, while running the air conditioner for cooling
Note: In case of adding refrigerant, comply with the quantity specified for the refrigerating cycle.
Caution:
- Do not discharge the refrigerant into the atmosphere. Take care not to discharge refrigerant into the atmosphere during installation, reinstallation, or repairs to the refrigerant circuit.
- For additional charging, charge the refrigerant from liquid phase of the gas cylinder. If the refrigerant is charged from the gas phase, composition change may occur in the refrigerant inside the cylinder and the outdoor unit. In this case, ability of the refrigerating cycle decreases or normal operation can be impossible. However, charging the liquid refrigerant all at once may cause the compressor to be locked. Thus, charge the refrigerant slowly. To maintain the high pressure of the gas cylinder, warm the gas cylinder with warm water (under 40°C) during cold season. But never use naked fire or steam
MITSUBISHI ELECTRIC SEZ-KD25 Bulkhead 2.5Kw Air-Conditioners







































